- •Кафедра теоретической и прикладной механики Секция сопротивление материалов
- •2 Часть (весенний семестр)
- •Содержание
- •2 Часть
- •Модуль 9. Перемещения при изгибе балок
- •9.1. Основные понятия
- •9.2. Дифференциальное уравнение упруго-изогнутой оси балки
- •9.3. Метод непосредственного интегрирования при определении перемещений в балках. Граничные условия
- •9.4. Метод начальных параметров определения перемещений при изгибе балок постоянной жесткости
- •9.5. Энергетический метод определения перемещений в упругих системах
- •9.5.1 Обозначение перемещений. Понятия о действительной и возможной работах
- •9.5.2 Теоремы о взаимности работ (Бетти) и взаимности перемещений (Максвелл)
- •9.5.3 Формула о. Мора по определению перемещений в плоских упругих системах
- •9.5.4 Правило а.Н Верещагина при определении перемещений по формуле Мора
- •9.6. Статически неопределимые балки
- •Модуль 10. Сложное сопротивление
- •10.1. Общие понятия
- •10.2. Сложный (неплоский) изгиб
- •10.3. Изгиб с растяжением (сжатием)
- •10.3.1. Изгиб с растяжением (сжатием)
- •10.3.2. Внецентренное растяжение (сжатие)
- •10.3.3. Ядро сечения
- •10.4. Изгиб с кручением. Расчет круглого вала
- •Модуль 11. Продольно-поперечный изгиб и устойчивость сжатых стержней
- •11.1. Продольно-поперечный изгиб
- •11.2. Устойчивость сжатых стержней
- •11.3. Формула Эйлера
- •11.4. Границы применимости формулы Эйлера
- •11.5. Практический расчет сжатых стержней
- •Модуль 12. Динамическое воздейтвие нагрузки
- •12.1. Учет сил инерции
- •12.2. Приближенный динамический расчет упругих систем с распределенными параметрами
- •12.3. Собственные колебания упругих систем
- •12.4. Гармонические и ударные нагрузки при поперечных колебаниях
- •12.5. Продольные колебания и удар
- •Модуль 13. Расчет тонкостенных оболочек
- •13.1. Понятие о моментной и безмоментной теории расчета сосудов
- •13.2. Расчет тонкостенных оболочек по безмоментной теории
- •13.3. Частные случаи напряженного состояния оболочек
- •Модуль 14. Понятие о концентрации напряжений
- •14.1. Общие понятия о концентрации напряжений
- •14.2 Проверка прочности с учетом местных напряжений
- •Модуль 15. Колебания упругих систем
- •15.1. Колебания систем с одной степенью свободы
- •15.2. Собственные незатухающие колебания
- •15.3. Собственные затухающие колебания
- •15.4. Вынужденные колебания без учета сопротивления движению
- •15.5. Ударные нагрузки
- •15.6. Вынужденные колебания при гармонических нагрузках
- •15.7. Колебания систем с двумя степенями свободы
- •15.8. Поперечные колебания систем с распределенными параметрами
- •15.9. Собственные колебания весомых балок
- •15.10. Вычисление спектра частот собственных колебаний
- •15.11. Метод начальных параметров в колебаниях балок
- •15.12. Учет сосредоточенных масс в колебаниях весомых балок
- •15.13. Учет гармонической нагрузки в весомых балках
- •Литература
9.3. Метод непосредственного интегрирования при определении перемещений в балках. Граничные условия
Остановимся на применении уравнения (9.4) при определении прогибов и углов поворота сечений балки методом непосредственного интегрирования. Это уравнение есть дифференциальное уравнение второго порядка с разделенными переменными. Поэтому его интегрирование выполняется по довольно простой схеме. Первый интеграл позволяет найти углы поворота φ(z), т.е.:
;
(а)
Вторичное интегрирование дает возможность найти функцию прогиба v(z):
(б)
Формулы (а) и (б) содержат две произвольные постоянные интегрирования С1 и С2., которые можно найти из граничных условий для функций прогиба и угла поворота в балке, вытекающих из условия закрепления балки идеальными связями.
Н
а
рис. 9.4
показаны наиболее часто встречающиеся
способы закрепления и связанные с ними
граничные условия.
Для балки на рис. (9.4, а) имеем:
при
z=a, прогиб v=0;
при
z=l+a, прогиб v=0.
Для балки на рис. (9.4, б)
при
z=l, прогиб v=0;
угол поворота φ=0
Для балки на рис. (9.4, в)
при z=a, прогиб v=0;
при z=l, угол поворота φ=0
Таким образом, для каждой представленной балки имеется по два граничных условия. Это позволяет определять постоянные интегрирования С1 и С2 в решениях (а) и (б).
Проследим применение метода непосредственного интегрирования для определения перемещений в конкретном случае.
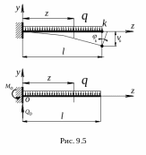
П
ример
№
9.1.
Определить прогиб свободного конца балки с изгибной жесткостью EJx (рис. 9.5) методом непосредственного интегрирования дифференциального уравнения изогнутой оси балки.
Решение.
Решение основано на использовании дифференциального уравнения (9.4).
Опорные реакции М0=ql/2, Q0=ql. Изгибающий момент в текущем сечении:
М(z) = -М0+Q0 z-qz2/2=-ql2/2+qlz-qz2/2
Подставим М(z) в уравнение (9.4) получим:
Проинтегрируем первый раз:
Второе интегрирование дает:
Граничные условия: при z=0, v=0, φ=0. С их учетом получаем С1= С2=0. Прогиб свободного конца при z=l получаем:
Знак минус у прогиба vk показывает, что его направление противоположно положительному направлению оси у, а знак минус у угла поворота φк указывает на поворот сечения свободного конца балки по ходу часовой стрелки.
Пример № 9.2.
О
пределить
прогиб vk
в середине пролета балки постоянной
жесткости EJx
и углы поворота φА
и φВ
опорных сечений (рис. 9.6) методом
непосредственного интегрирования
дифференциального уравнения (9.4).
Решение.
Ответы на поставленные вопросы дадим, используя уравнение (9.4). Изгибающий момент в сечении левого участка МI(z)=Аz=Рz/2, а в сечении правого участка изибающий момент MII(z)=Р(l-z)/2. Тогда дифференциальные уравнения на каждом участке балки будут иметь вид:
(а)
(б)
Интегрируем дважды сначала уравнение (а), а потом уравнение (б) получаем:
Граничные условия: при z=0, vI=0; при z=l, vII=0. Из второго уравнения следует, что D1=0. Четвертое уравнение дает соотношение:
,
или
Воспользуемся
условием симметрии балки и нагрузки.
При z=l/2,
φI=0.
Тогда
.
Из условия симметрии балки при z=l/2,
φI=φII
получим:
.
Тогда значение постоянной интегрирования
.
Подставим значения постоянных
интегрирования, получим уравнения углов
поворота и прогибов на каждом участке
балки в виде:
(в)
(г)
(д)
(е)
Определим
углы поворота сечений балки над опорами
А
и В.
Используя уравнение (в)
при z=0, получаем
.
По уравнению (д)
при z=l
находим
.
Прогиб в середине пролета балки можно
получить из уравнения (г),
либо из уравнения (е)
при z=l/2.
Его значение составит:
Приведенные примеры показывают, что применение метода непосредственного интегрирования ограничено на практике. Это связано с тем что при определении постоянных интегрировании приходится решать систему 2n линейных алгебраических уравнений. На практике более широкое применение находят другие методы, основанные на использовании уравнения (9.4).
