- •Тема 1. Вступ. Цілі та задачі предмету, загальні поняття
- •Тема 2. Водоемы, их охрана от загрязнения сточными водами
- •2.1. Условия сброса сточных вод в водоёмы.
- •2.2. Смещение сточных вод с водой водоёмов.
- •2.3. Требования, предъявляемые к степени очистки сточных вод.
- •3. Методы очистки сточных вод
- •3.1. Классификация методов очистки
- •3.2 Оборудование для механической очистки воды
- •3.2.1. Усреднители
- •3.2.4. Отстойники.
- •3.2.5 Радиальные отстойники
- •Механическая очистка
- •Физико-химическая очистка
- •Коагуляция
- •Флотация
- •Электрофлотация
- •Сорбция
- •Тема 2.1 Основи формування забруднювачів
3.2.4. Отстойники.
Для улавливания из сточных вод средне и мелко дисперсных примесей применяют отстойники периодического (контактные) и непрерывного (проточные) действия. Чаще используются последние. По направлению движения в сооружении подразделяются:
горизонтальные;
вертикальные;
радиальные.
В зависимости от назначения в технологической схеме очистных сооружений отстойники подразделяются на первичные и вторичные. Первичные отстойники служат для предварительного осветления сточных вод, поступающих на БХО или ФХО, а вторичные для осветления воды, прошедшей БХО и ФХО. Выбор типа и числа отстойника при проектировании осуществляется на основе технико-экономических обоснований и сравнение их с учётом местных условий. Вертикальные целесообразно применять для производительности очистных сооружений до 20000м3/сутки; горизонтальные меньше или равно 15000м3/сутки; радиальные больше или равно 20000м3/сутки.
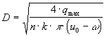
Рис 5. Горизонтальный отстойник
а) разрез; б) план;
1- подводящий лоток; 2 -распределительный лоток; 3- полупогружные доски; 4- сборный лоток; 5- отводной лоток; 6 - лоток для сбора и удаления плавающих веществ; 7 - трубопровод для удаления осадка.
В начале определяют ширину отделения отстойника по формуле:
;
qmax - максимальный расход сточных вод;
n - число отделений;
Н1 - глубина проточной части;
v - средняя скорость потока в пределах рабочей длины отстойника (5 - 10м/с).
Длина рабочего участка
;
где k - коэффициент использования объёма отстойника;
L - общая длина отстойника:
,
где U0 - условная гидравлическая крупность, соответствующая заданному эффекту осветления воды реальных размеров сооружения;
w - вертикальная турбулентная составляющая скорости (0,05v).
Величину U0 определяют путём проведения лабораторных анализов в цилиндрах отстойника при статическом отстаивании воды. Схема анализа приведена на рисунке
Рис. 6. Кинетика осаждения сточной воды
При проведении анализа через некоторый промежуток времени образуются области:
1 - осветлённой воды;
2 - свободного осаждения;
3 - стесненного осаждения
4 - осадка.
Отстаивание заканчивается, когда 2-ая и 3-я области исчезают и завершается уплотнение осадка, что соответствует полному разделению исходной жидкости на осадок и осветленную жидкость. В результате получается графическая зависимость эффективности осаждения от продолжительности t (час) или от гидравлической крупности U0.
Рис. 7. Зависимость эффективности осаждения от гидравлической крупности
3.2.5 Радиальные отстойники
По сравнению с горизонтальными радиальные отстойники имеют ряд преимуществ: простота и надежность эксплуатации, экономичность, возможность строительства сооружений большой производительности. Недостаток: наличие фермы со скребками.
Радиальные отстойники бывают: с центральным впуском, с периферийным впуском, с вращающимися сборно-распределительными устройствами.
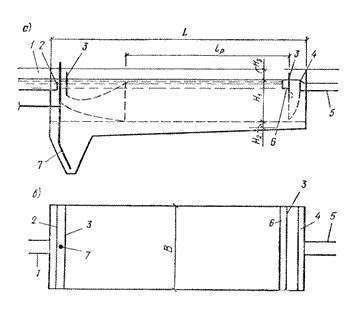
Радиальный отстойник с центральным впуском жидкости.
Рис. 8. Первичный радиальный отстойник
1 - подводящая труба; 2- полупогружной кожух распределительного устройства;3 - илоскребки.
Все радиальные отстойники оборудованы илоскребками, сдвигающими выпадающий осадок к приемнику, расположенному в центре. Из него осадок удаляют насосами. Частота вращения скребков 0,8 - 3 оборота в час.
Диаметр отстойника определяют по формуле:
,
где k - коэффициент использования объема (0,45 - 0,5);
Для радиальных отстойников обязательно соблюдение соотношения D/H = 6 - 12. Отсюда при средних рекомендуемых параметрах D/H=10, H » 3 м. Время пребывания воды t = 1,25 ч. Скорость движения воды на половине радиуса v =3,3 мм/с. Так как диаметр отстойника определяется без учета глубины, то при расчете вначале принимают глубину H, а затем определяют u0 и D. Если при этом D/H будет отличаться от рекомендуемых, то расчет повторяют при другом Н. Типовые размеры радиальных отстойников: 18, 24, 30, 40.
Среди других сооружений механической очистки можно выделить: септики, гидроциклоны, центрифуги, флотационные установки и др.
Методы очистки промышленных сточных вод от нефтепродуктов
Для очистки сточных вод от нефтепродуктов применяют:
механические;
физико-химические;
химические;
биологические методы.
Из механических практическое значение имеют отстаивание, центрифугирование и фильтрование; из физико-механических – флотация, коагуляция и сорбция; из химических – хлорирование и озонирование. Типовые технологические схемы очистки сточных вод от нефтепродуктов показаны на рисунке 1.
Рисунок 1 – Структурные схемы очистки сточных вод от нефтепродуктов.
