Билет 8.
1. Проводниковый и корковый отделы слухового анализатора.
2. Этапы развития произносительной речи ребенка. Физиологические дефекты произношения.
3Патология глазодвигательного аппарата.
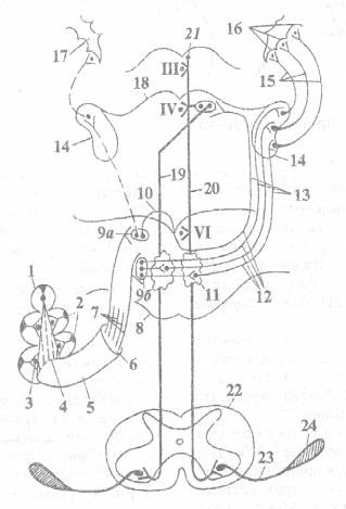
Проводниковый отдел слухового анализатора
Периферический отдел слухового анализатора соединяется с центральным, или корковым, концом проводящими нервными путями, состоящими из шести нейронов.
Первым нейроном являются чувствительные нейроэпителиальные волосковые клетки.
К ним подходят нервные волокна второго нейрона из спирального нервного узла, расположенного в основании спирального костного гребня улитки. Этот узел состоит из нервных клеток с двумя отростками (биполярных клеток). Один из этих отростков направляется к кортиеву органу и подходит к небольшой группе волосковых клеток, а другой — входит в состав слухового (улиткового) нерва, являющегося частью преддверно-улиткового нерва (VIII пара). Слуховой нервный импульс с рецепторных клеток передается нервным клеткам, лежащим в спиральном узле улитки, чьи аксоны образуют слуховой нерв. Слуховой нерв содержит около 17 000 нервных волокон, каждое из которых состоит из осевого цилиндра, являющегося собственно нервным волокном, и особой жировой миелиновой оболочки. Таким образом, слуховой нерв построен наподобие телефонного кабеля, состоящего из отдельных изолированных проводов. Слуховой нерв выходит из внутреннего уха через внутренний слуховой проход в полость черепа и проникает в основание мозга. Отсюда волокна слухового нерва направляются к слуховым ядрам моста продолговатого мозга, где и заканчивается второй нейрон.
Импульсы по волокнам улиткового нерва поступают в мозг, к дорсальному и вентральному улитковым ядрам моста продолговатого мозга, которые являются скоплениями третьих нейронов слухового пути. Часть нервных волокон от ядер идет по одноименной стороне, а большая часть их переходит на противоположную сторону.
Аксоны клеток этих ядер направляются к подкорковым слуховым центрам среднего мозга (дорзальные ядра трапециевидного тела нижних холмиков четверохолмия), являющихся скоплениями четвёртых нейронов. Раздражение подкорковых слуховых центров вызывает рефлекторные реакции, протекающие по типу безусловного рефлекса. К числу таких рефлекторных реакций, возникающих при воздействии звуков, относятся, например, расширение зрачков, смыкание век, поворот головы.
Аксоны четвёртых нейронов в составе латеральной петли направляются к медиальному коленчатому телу промежуточного мозга, являющемуся скоплениями пятых нейронов слухового пути. Таким образом, подкорковыми центрами слуха являются нижние холмики среднего мозга и медиальные клеточные тела промежуточного мозга.
Аксоны этих нейронов в составе внутренней капсулы направляются к корковым нейронам (шестым) слухового анализатора — височной доле мозга. Практически все волокна, идущие от нижележащих слуховых центров, переключаются в медиальном коленчатом теле, отростки клеток которого идут к слуховым зонам коры данного полушария головного мозга. Следующий, третий перекрест волокон осуществляется уже на корковом уровне. Здесь часть волокон в составе мозолистого тела, объединяющего полушария мозга, идет на противоположную сторону, в первичную проекционную зону коры, построенную по колончатому принципу.
Нервные импульсы, поступающие по проводящему пути слухового анализатора в нижние бугорки четверохолмия, передаются на один из экстрапирамидных проводящих путей — покрышечно-спинномозговой путь. Нервные импульсы по этому проводящему пути направляются к двигательным ядрам передних рогов спинного мозга, а через них к скелетным мышцам. При участии покрышечно-спинномозгового пути замыкается сложная рефлекторная дуга, по которой нервные импульсы вызывают сокращение скелетных мышц в ответ на те или иные звуковые сигналы (сторожевой, оборонительные рефлексы).
Слуховая сенсорная система дополняется механизмами обратной связи, обеспечивающими регуляцию деятельности всех уровней слухового анализатора с участием нисходящих путей. Такие пути начинаются от клеток слуховой коры, переключаясь последовательно в медиальных коленчатых телах метаталамуса, задних (нижних) буграх четверохолмия, в ядрах кохлеарного комплекса. Входя в состав слухового нерва, центробежные волокна достигают волосковых клеток кортиева органа и настраивают их на восприятие определенных звуковых сигналов.
3 – спиральный, кортиев узел, 7 – улитковая часть VIII нерва (вестибулокохлеарис), 9а – дорзальное и 9б – вентральное улитковые ядра моста, 11 – дорзальные ядра трапециевидного тела нижних холмиков четверохолмия среднего мозга, 13 – латеральная петля, 14 – медиальное коленчатое тело промежуточного мозга, 15 – внутренняя капсула, 16 – корковый конец слухового анализатора, 19 – покрышечно-спинномозговой путь.
Центральный, или корковый, отдел слухового анализатора расположен в верхнего отдела височной доли обоих полушарий головного мозга (в проекционных полях 41, 42 и 52).
Центральная, корковая часть всего слухового анализатора находится в обеих височных долях. Здесь происходит осознанное восприятие различных звуков, высший их анализ и синтез. Слуховая кора осуществляет обработку информации: анализ звуковых сигналов, дифференцировку звуков. В коре формируются комплексные представления о звуковых сигналах, поступающих в оба уха раздельно, а также она отвечает за пространственную локализацию звуковых сигналов.
Особенно важное значение в восприятии звуковых раздражений имеют, поперечные височные извилины, или так называемые извилины Гешля.
В продолговатом мозгу происходит частичный перекрест нервных волокон, соединяющих периферический отдел слухового анализатора с его центральным отделом. Таким образом, корковый центр слуха одного полушария оказывается связанным с периферическими рецепторами (кортиевыми органами) обеих сторон. И наоборот, каждый кортиев орган связан с обоими корковыми центрами слуха (двустороннее представительство в коре головного мозга).
Восприятие речи осуществляется с помощью речеслухового анализатора. Специфической особенностью слуха человека является способность воспринимать звуки речи не только как физические явления, но и как смыслоразличительные единицы — фонемы. Эта способность развивается у человека до 4–5 летнего возраста, когда под действием звуков речи формируется сенсорный (чувствительный) центр речи (центр Вернике) - в заднем отделе верхней височной извилины левого полушария головного мозга (у правшей). У левшей сенсорный центр речи находится в правом полушарии. При выключении этого центра нарушается осознание смыслового значения звуков речи, в результате чего нарушается понимание речи — возникает сенсорная афазия («словесная глухота»). Восприятие тонов и шумов, входящих в состав речи, может в этих случаях сохраниться.
Процесс понимания (осознания) речи обеспечивается декодированием поступающей акустической или оптической информации. Звуки речи воспринимаются первичными слуховыми центрами коры, затем сигналы поступают в зону Вернике, что обеспечивает осмысление речи.
При чтении импульсы о графическом изображении слов доходят до первичных зрительных зон коры головного мозга, а оттуда переходят в угловую (ангулярную) извилину (а также верхнетеменная и надкраевая извилины), связываясь со звуковыми образами соответствующих слов, в результате чего письменная форма слова перерабатывается и осмысливается как при слуховом восприятии, т.е. формируется речезрительный анализатор.
Тонотопическая организация является ведущим структурно-функциональным принципом частотного анализа в слуховой системе. Основная мембрана улитки внутреннего уха представлена на всех уровнях в виде упорядоченных карт проекций частот. Каждая частота имеет множественное представительство в центрах мозга
Корковые нейроны, однако, анализируют не высоту тона, а более сложные свойства звука. Они реагируют на изменения частоты тона — ее повышение и (или) понижение, на изменение интенсивности звука — ее увеличение и уменьшение, на различие по частоте и интенсивности между двумя одновременно звучащими стимулами.
Нейроны расположены один под другим в составе одной колонки на разной глубине (мкм) от поверхности коры. По оси абсцисс — частота тонов, по оси ординат — интенсивность.
Такие сложные нейроны появляются уже на уровне среднего мозга, их число увеличивается в слуховых ядрах таламуса. Эти так называемые нейроны — детекторы нескольких признаков звука имеют сложные рецептивные поля. В основе свойств сложных нейронов важную роль играет торможение — латеральное и возвратное. Например, есть нейроны, которые не возбуждаются, а тормозятся звуками. Это дает основание для усиления контраста краев рецептивных полей нейронов. Благодаря торможению, по краям рецептивного поля два стимула создают не слияние возбудительных процессов, а дискретную картину возбуждения. Такие процессы, в принципе, лежат в основе высокой разрешающей способности нейронов по частоте. Возвратное торможение приводит к самоторможению центральных нейронов по мере увеличения интенсивности входных воздействий: часть клеток уменьшают или прекращают импульсацию. Функционально происходит ограничение сильных раздражителей и сохранение системы от перегрузки.
Нервными коррелятами пространственного слуха являются избирательные реакции слуховых нейронов на определенные направления движения расположения источника звука в пространстве. Основные взаимодействия афферентаиии от правого и левого уха (бинауральные взаимодействия) реализуются на всех уровнях конвергенции: сначала в верхней оливе, затем в нижних холмах, и, наконец, в слуховой коре.
2Основные этапы развития произносительной стороны речи у ребенка. У ребенка процесс развития речи в онтогенезе разделяют на три периода.
Первый, подготовительный период включает крик, гуление и лепет.
Во втором периоде, примерно с восьми-девяти месяцев жизни, малыш начинает понимать за звучанием значение некоторых слов.
В третьем периоде, ведущем отсчет со второго года жизни (14-18 мес.), происходит соединение слов в фразы, появляются простые фразы, т.е. начинает говорить.
Сроки развития в онтогенезе сенсорной и моторной речи не совпадают. Развитие сенсорной речи предшествует развитию моторной речи. Еще до того, как ребенок начинает говорить, он уже понимает смысл слов. В становлении речи выделяют следующие этапы: 1) подготовительный этап, или этап произношения отдельных звуков и слогов (от 2—4мес до 6); 2) этап возникновения сенсорной речи, т.е. проявления первых признаков условного рефлекса на слово, на его смысл (6—8мес); 3) этап возникновения моторной речи, т.е. произношение осмысленных слов (10-12мес).
До 12мес словарный запас ребенка составляет 10—12 слов, к 18мес — 30—40 слов, к 24мес — 200—300, к 36мес — 500—700, в отдельных случаях — до 1500 слов. К 6—7 годам появляется способность к внутренней (семантической) речи, т.е. к мышлению.
Мысленное моделирование человеком различных событий составляет сущность мышления. Наглядно-действенное мышление формируется в дошкольном и младшем школьном возрасте. Словесно-логическое (теоретическое) мышление проявляется к 8—9 годам, достигая развития к 14—18 годам.
Первый звуковой сигнал - крик новорожденного. Крики представляют собой безусловно-рефлекторную реакцию на действие сильных раздражителей (внешних и внутренних), обычно отрицательного характера (холод, боль, голод и др.). Эти крики ребенок начинает издавать тотчас после рождения на свет, и они служат основой для последующего развития звукопроизносительной речи. Уже в первых криках младенца можно различать подобие некоторых гласных и согласных звуков типа аа, у а, нээ и т.п. Криком младенец подает сигнал родителям, например, о том, что голоден.
Исключительно важную роль в развитии речи ребенка играет постоянный разговор с ним при любом контакте во время его бодрствования. Любое действие по уходу за ребенком необходимо сопровождать объяснением всех манипуляций, несмотря на то, что ребенок еще не только не говорит, но на ранних этапах онтогенеза и не понимает, что ему говорят.
Следует всегда помнить: чем раньше начинают разговаривать с ребенком и побуждают его к разговору, тем быстрее и лучше он овладевает речью и тем быстрее развивается его мышление. Критическим для овладения речью является возраст до 10 лет. Позднее способность к развитию нейронных сетей для построения центра речи утрачивается.
Прежде чем ребенок научится понимать слова взрослого (сенсорная речь) и тем более научится сам произносить слова (моторная речь), он проходит подготовительный период (развитие гуления и лепета), который начинается с конца второго-начала третьего месяца. Это происходит всегда на фоне ожидания, радостного состояния и свидетельствует о хорошем самочувствии и хорошем настроении ребенка.
В 3-6 месяца появляется гуление. Ребенок протяжно произносит отдельные звуки («ау, эу, бээ, бр»). Гуление — следствие случайно возникающих позиций будущего артикуляционного аппарата — губ, языка, мягкого неба, глотки и гортани. У детей всего мира оно одинаковое. Наблюдается и у глухих младенцев, у которых не было звукового контакта с матерью. Благодаря голосовым реакциям гуления, постепенно приобретающим различную интонационную окраску, усваивает интонационную систему языка, копирует интонации окружающих его людей. Если гуление не перешло в лепет, родителям стоит забеспокоиться, все ли в порядке у младенца со слухом.
В 6-8 месяцев появляется лепет, ранняя стадия которого представляет собой, в отличие от крика, реакцию на раздражители положительного характера. Чаще всего ребенок лепечет после еды. В лепете можно различить довольно разнообразные звуковые комплексы: агу, убу, экхе и т.п. Эта ранняя стадия лепета не зависит от окружающей речевой среды. Дети разных народов в первые месяца лепечут одинаково; лепечут и глухие от рождения дети.
Основой лепета служат врожденные двигательные координации, связанные с процессами сосания и глотания. Звуковой состав лепета — результат кинестетической «настройки» артикуляционного аппарата по слуховому подражанию речи окружающих. Одновременно ребенок осваивает элементарную слоговую структуру слова, состоящую, как правило, из одного слога. Во время лепета у ребенка устанавливается связь между кинестетическими раздражениями от движений речевых органов и соответственными слуховыми раздражениями. Ведущую роль в последующем развитии произносительных навыков у ребенка начинает играть слух, при помощи которого ребенок воспринимает речь окружающих и контролирует свое произношение.
Появляется тенденция к самоподражанию. Звуковой состав лепета постепенно обогащается. В лепете встречаются уже многочисленные согласные, преимущественно двугубные, типа п, б, м, переднеязычные типа т, д, н и заднеязычные типа к, г, х.
К самоподражанию вскоре присоединяется подражание речи окружающих, он начинает подражать речи взрослого. Так, как это делают приматы, при помощи отдельных звуков, обозначающих что-либо вовне или какое-либо собственное состояние У глухих от рождения детей не развивается ни самоподражание, ни подражание речи окружающих. Появившийся у них ранний лепет, не получая подкрепления со стороны слухового восприятия, постепенно замирает.
В 8-9 месяцев малыш начинает глобально воспринимать (понимать за звучанием значение некоторых слов) звучание и значение некоторых слов, понимает названия отдельных предметов, понимает отдельные предложения. Взглядом или указательным жестом «отвечать» на вопросы: «где папа?», «где птичка?». Он радуется, что его понимают. Подражает взрослым в играх с игрушками, в манипулировании ложкой, чашкой. Слов еще нет, но интонации-восклицания уже варьируются: чувства радости и недовольства вокализируются, сопровождаясь характерными звуками: а-а-а, у-у-у. Малыш начитает произносить звуки типа ма, ла, ба, на, ди (иди), да (дай) и т.п. На этом этапе лепета ребенок произносит отдаленные слоги и части слов, лепет делается продолжительнее, обогащается интонационная окраска.
В 10-12 месяцев звуки начинают повторяться (ба-ба- ба, ма-ма-ма) и превращаются в слова, которые, в свою очередь, становятся компонентами мышления. И хотя произношение слов еще очень несовершенно, ребенок вкладывает в них определенный смысл. Видя, что мама пришла или уходит, он произносит слово лш-лш. Это так называемые слова-предложения.
В конце первого года жизни у ребенка появляются осмысленные звукосочетания и появляются первые слова. Появляются звукоподражательные слова типа ов-ов (собака), би-би (машина), тик-так (часы). Ведущую роль в последующем развитии произносительных навыков у ребенка продолжает играть слух, при помощи которого ребенок воспринимает речь окружающих и контролирует свое произношение.
На основе подражания и в результате активного воздействия окружающих устанавливается связь между предметами и явлениями внешнего мира и звучанием обозначающих их слов, а также кинестетическими ощущениями, возникающими при произнесении этих слов. Наряду с лепетными словами типа му-у (корова), но-но (лошадь), мяу (кошка), базе (упал) ребенок начинает произносить вполне правильно такие несложные в фонетическом отношении слова, как баба, мама, папа, дядя и т.п.
В 12-14 месяцев ребенок узнает показываемые предметы, понимает обращенную к нему речь, по слову выполняет простые поручения.
В 14-18 месяцев ребенок начинает говорить, узнавать предметы на сюжетных картинках. Происходит соединение слов в фразы, появляются простые фразы, т.е. начинает говорить. Вначале они состоят из 2 — 3 слов, «речевые цепи» пока еще коротки. Расширяя постепенно свой словарный запас, ребенок еще в течение долгого времени (до 4—5 лет) весьма несовершенно произносит большинство усвоенных им слов. Многих звуков ребенок еще не произносит или произносит их неправильно. Разные звуки усваиваются детьми в различные сроки. Гласные в общем появляются в речи раньше, чем согласные. Из согласных взрывные появляются в речи раньше, чем согласные. Из согласных взрывные усваиваются раньше фрикативных, глухие — раньше звонких, мягкие — раньше твердых. Позже всех других появляются в речи шипящие (ш, ж, ч, щ) и вибранты (рнр).
Первые слова, произносимые ребенком в порядке подражания, относятся не к конкретному предмету, а к ситуации в целом. Так, в возрасте 8 —10 мес отдельные предметы и объекты внешней среды дети еще не выделяют. Хотя они в этом возрасте произносят слоги «па», «ма», оказывается, что платье мамы и ее кровать — тоже «ма», а свою маму, но в новой одежде или в необычном окружении ребенок может не узнать. Ребенок в этом возрасте может понимать запрет, разрешение, другие простые инструкции.
Когда ребенок научится произносить отдельные слова, искажая их произношение, взрослые ни в коем случае не должны подражать этому искажению, чтобы предотвратить развитие «птичьего» языка, тормозящего развитие и речи, и мышления.
В процессе формирования речи устанавливается связь слова со свойствами обозначаемого предмета. При этом процесс идет более успешно, если произнесение слова подкрепляется определенным действием. Так, например, чтобы обучить ребенка новому для него слову «сахар», необходимо предварительно ознакомить его с видом, формой этого предмета, подкрепляя это воздействие вкусовым раздражением.
В этот период появляется целенаправленный указательный жест, сопровождаемый звуками с интонацией требования, которые означают: назови. Ребенок настойчиво перемещает указательный пальчик с одного предмета на другой, по нескольку раз возвращается к уже «пройденным» предметам, пока не «насытится» сознанием того, что разные предметы имеют разное название. Период активного указательного жеста является большим скачком в становлении первого этапа детского конкретно-образного мышления, связанного с первичным выделением на слух звуковой оболочки слова и его значения. В это время закладывается пассивный словарь ребенка. Бурное развитие понимания речи на несколько месяцев опережает развитие устной речи. Нередко пауза между тем, когда ребенок стал показывать пальцем на тот или иной предмет, и моментом, когда он произносит слово, обозначающее предмет, насчитывает пять—восемь месяцев. Наконец, наступает черед, когда малыш делает попытку связать два слова в фразу (мама дай).
Вначале ребенок использует простые предложения, состоящие из существительных и сказуемых. Несколько позже появляются прилагательные, потом другие части речи.
Слышащий ребенок, воспринимая правильную, не сюсюкающую речь матери, начинает говорить в 14—18 месяцев со дня рождения. У разных детей развитие речи может протекать по-разному. У одних довольно медленно формируется высказывание из двух—четырех слов, зато такие малыши примерно к году и восьми месяцам овладевают произношением почти всех звуков родного языка. У другой группы ребятишек бурно развивается мелодика речи, они произносят длинные фразы, но оперируют несколькими слогами, многие звуки не выговаривают. В таких случаях только мама может разобрать, что сказал ее малыш. Замечено, что девочки начинают говорить раньше мальчиков; вероятно, это обусловлено более пластичной нервной системой первых.
К полутора годам (18-20 месяцев) возникает первый период вопросов: «что это?». В активном словаре крохи уже 30—35 слов, состоящих из одного-двух слогов и произносимых при помощи шести—восьми звуков с разными слоговыми вариациями, которые понимает не всякий взрослый, но это уже общение с помощью речи.
К двум годам словарь малыша достигает примерно 300 слов. Он активно употребляет наречия и глаголы.
В 2 года и 6 месяцев в речи малыша кроме обилия прилагательных, появляются причастия, сложные предлоги через, вдоль и др.
На третьем году жизни усваивает первые грамматические формы, выстраивает многословные фразы со сложными и придаточными предложениями, предлогами, прилагательными, наречиями, вопросительными словами. К концу третьего года жизни — соединительные союзы и местоимения. Основное формирование речи заканчивается. В этом возрасте уже умеют считать, способны наизусть запоминать стихи, знают написание некоторых букв. Их словарь насчитывает до 2000 слов (60% из них - имена существительные, 20% - глаголы, 15% - прилагательные).
Совершенствование продолжается на четвертом и пятом годах жизни. Это второй период вопросов: «почему?», «зачем?».
4 года. Словарь пополняется до 2000 слов.
5 лет. Малыш овладевает всей системой родного языка и полностью усваивает обиходный словарь.
