Задача 1
З розрахунку за граничними станами 1-ї групи визначити необхідну висоту однопролітної шарнірно-обпертої дощатоклеєної балки, якщо рівномірно розподілене навантаження на балку q=12.15 кН/м, балка має проліт l=6м, ширину поперечного перерізу b=12.5см, матеріал-соснові дошки 2-ого сорту.
Розв’язання:
Балка – дощато-клеєна.
Матеріал – сосна 2-ого сорту, С24.
Знаходимо момент в балці:
Для С24,
Міцність деревини
-
коефіцієнт запасу міцності
-
коефіцієнт перерозподілу навантаження
-для
постійного навантаження
-коефіцієнт
умов роботи матеріалу
Перевірка міцності:
Приймаємо h=50см
Переріз 50х12.5
Перевірка:
Перевіримо умову міцності:
Умова виконується.
Перевірка на сколювання:
Де
Умова виконується.
Задача 2
Для
центрально-стиснутого стояка круглого
перерізу довжиною
4,8м,
завантаженого розрахунковим навантаженням
65
кН, визначити найменшу необхідну площу
перерізу відносно осі х, якщо площа
ослаблення дорівнює 30%
,
закріплення кінців стояка шарнірне,
деревина – сосна 2-го сорту.
Розрахунок
i=
;
тоді i=
=
Знаходимо приведену гнучкість за формулою:
=
,де
=21мПа(ДБН),
=11000мПа
Коефіцієнт поздовжнього згину визначається наступним чином:
=
=0.41
В
яких коефіцієнт
:
=
[1+0.2(1.44-0,3)+
]=1.65
с=0,2 –для елементів з суцільної деревини.
=
=1
=1
звідси
=
=7,64см
Заокруглюємо r=8cм,d=16cм.
Перевірка
=3.14
=200.96
=
140,67=187,56
i=
=
=
[1+0.2(2.04-0,3)+
]=2.75
Задача 3
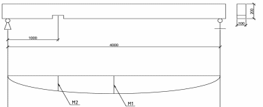
Визначити максимальне нормальне напруження балки, завантаженої навантаженням q=5кН/м. глибина паза, який ослабляє переріз, дорівнює 5 см.
Додаток:
Задача 4
Визначити найбільше напруження у прямокутного бруса (bxh=10x22.5 ), який розтягує центрально прикладена сила N=80 кН і згинає зосереджена сила Р=4,0 кН прикладена в середині прольота l=4.0 м. Брус симетрично ослаблено наскрізним отвором d=4 см, перпендикулярним до площини вигину. Матеріал бруса – сосна 2-го сорту
Брус працює на осьовий розтяг зі згином, тоді перевірка міцності перерізу має вигляд:
,
Розрахункове напруження розтягу вздовж волокон:
де
Розрахункове напруження згину:
де
Відповідь:
Якщо потрібно перевірити переріз, тоді приймаємо сосну С24
– розрахункове значення міцності при розтязі вздовж волокон
– розрахункове значення міцності при згині
де
-
для цільної деревини
-
при постійному класі навантаження за
тривалістю дії
Умова не виконалась міцність перерізу не забезпечена.
Задача 5
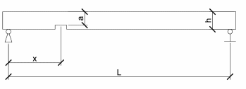
Визначити максимальний проліт балки за двома граничними станами з бруса перерізом 125х175 мм і навантаженням 8 кН/м. Матеріал бруса сосна 2-го сорту.
Розв`язок
Для
сосни 2-го сорту приймаємо
,
,
,
1) Перевіряємо по нормальних напруженнях
,
,
,
,
,
,
2) Перевіряємо по дотичних напруженнях
d fv,d ,
d
=fv,d ,
,
,
,
,
3) Перевіряємо за другою групою граничних станів
Задаємося
,
,
З
трьох випадків приймаємо найменше
значення,
