- •7.1.2. Турбины с промежуточным регулируемым
- •7.1.3. Применение встроенных пучков в конденсаторах
- •7.2. Диаграммы режимов турбин
- •7.2.1. Диаграмма режимов турбины с производственным и теплофикационным отборами
- •7.3. Режимы работы конденсационной
- •7.4. Подача пара на концевые уплотнения вала турбины
- •7.5. Переменные режимы работы паровых турбин
- •8. Вспомогательное оборудование
Турбины типа Т выпускаются с одним и двумя отопительными отборами. В последнем случае регулируемое давление поддерживается только в одном из двух отборов: в верхнем при включенных обоих отборах и в нижнем при включенном одном нижнем отборе. Турбины типа ПТ выпускаются трех моделей:
1) с одним промышленным и одним отопительным отборами, оба отбора регулируемые;
2) c регулируемыми производственным и двумя отопительными отборами; регулирование давления может поддерживаться одновременно и независимо в производственном и одном из отопительных отборов;
3) с тремя регулируемыми отборами -производственным и двумя отопительными; регулирование может поддерживаться в каждом из отборов.
7.1.1. Турбины с противодавлением
Пар с начальными параметрами Ро, tо подводится из котла в турбину (рис.7.1), где расширяется до давления Рn, совершая работу, и направляется к тепловому потребителю П. Для технологических нужд используется пар давлением от 0,4 до 1,8 МПа, для отопления – 0,07… 0.25 МПа.
Для турбин с противодавлением характерен режим работы по тепловому графику, когда расход отработавшего пара определяется тепловым потребителем.
Развиваемая турбиной без отборов электрическая мощность
N э = D п × Но × h oi × h м × h эг , (7.1)
где Dп - расход острого пара на турбину, кг/с;
Но - располагаемый теплоперепад, кДж/кг;
h oi - внутренний относительный КПД;
h м - механический КПД;
h эг - КПД электрогенератора.
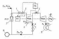
Рис.7.1. Принципиальная схема ТЭЦ с турбиной типа Р и конденсационной турбиной типа К: 1 – турбина типа Р с электрогенератором; 2 – турбина типа К с электрогенератором; 3 - потребитель; 4 - редукционно-охладительное устройство (РОУ); 5 – конденсатор; 6, 8 – регулирующие клапаны; 7 – стопорный клапан; 9 -отсечной клапан; 10 - обратный клапан; 11 - предохранительный клапан
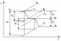
Процесс расширения пара указан на рис. 7.2.
h – S -диаграмма проходит в области перегретого пара, правее х = 1.
Как правило, графики потребления тепловой и электрической энергии не совпадают, и турбина с противодавлением, работая изолированно, не может полностью обеспечить потребителей электрической энергией. Поэтому в современных энергетических системах турбины с противодавлением устанавливают параллельно с конденсационными (рис.7.1). Работая по тепловому графику, она покрывает лишь часть электрической нагрузки, а оставшуюся часть покрывают конденсационные турбины.
Рис.7.2. Процесс расширения пара в турбине
с противодавлением
В часы максимальных тепловых нагрузок в линию теплового потребителя добавляется свежий редуцированный пар, если расход пара, требуемый тепловым потребителем, превышает максимальную пропускную способность турбины. РОУ снабжает также теплового потребителя паром в период останова турбины с противодавлением.
7.1.2. Турбины с промежуточным регулируемым
отбором пара
Большое распространение по сравнению с турбинами типа Р получили теплофикационные турбины с регулируемыми отборами пара для потребителей теплоты.
Турбина состоит из двух частей: части высокого давления (ЧВД) - группа ступеней до отбора, части низкого давления (ЧНД) - группа ступеней от отбора до конденсатора (рис.7.3).
Рис. 7.3. Принципиальная схема турбины с промежуточным отбором пара: 1 - стопорный клапан; 2, 3 - регулирующие клапаны; 4 - отсечной клапан; 5 - обратный клапан; 6 - предохранительный клапан; 7 – РОУ; 8 – потребитель ПО; 9 - конденсатор
Пар, имеющий давление Ро и температуру tо, подводится к турбине через стопорный 1 и регулирующий 2 клапаны и расширяется в ЦВД до давления Рп, которое поддерживается постоянным и определяется тепловым потребителем 8.
Пройдя через ЧВД, поток пара Dо разделяется на две части. Одна часть (Dп) через отсечной клапан 4 и обратный 5 клапаны идет к тепловому потребителю 8, другая часть
(Dк = Dо – Dп) через регулирующий клапан 3 направляется в ЧНД, где расширяется до давления Рк в конденсаторе 9. Для снабжения паром теплового потребителя в период останова турбины служит РОУ 7.
Процесс расширения пара в турбине в h–S- диаграмме показан на рис. 7.4, где даны располагаемые (Н/о и Н//о) и использованные (Н/i и Н//i) теплоперепады соответственно в ЧВД и ЧНД. При изменении расхода пара Dп в отборе можно поддерживать электрическую мощность Nэ неизменной за счет изменения расходов пара Dо в ЧВД и Dк в ЧНД.
Рис. 7.4. Процесс расширения пара в турбине
с промежуточным отбором пара
Аналогично можно при изменении электрической нагрузки Nэ поддерживать постоянным расход пара Gп тепловым потребителям. Таким образом, можно в определенном диапазоне независимо изменять тепловую и электрическую нагрузки.
Электрическая мощность турбины Nэ, кВт, с одним регулируемым отбором пара (без учета отбора пара на регенерацию)
Nэ = Ni × h м × h эг , (7.2)
Тш = Т.ш + Тш .. = Во× (р о - р п)+ Вк (р п - р к) = Во× Р.щ× р ош +
+ Вк×Р..щ× р.. ош = Вп× (р о - р п)+ Вк (ро - рк) =
= Dп× H/o× hоi + Dк×Ho×h оi . (7.3)
В связи с многообразием возможных режимов работы в этих турбинах применено сопловое парораспределение.
В зависимости от тепловой нагрузки турбина может работать в теплофикационном или конденсационном режиме. Теплофикационный режим характеризуется наличием тепловой нагрузки. В зависимости от ее характера турбина может иметь режим работы по тепловому или электрическому графику.
При работе турбины по тепловому графику электрическая мощность определяется тепловой нагрузкой и не может быть изменена без соответствующего изменения теплового потребления. Изменение нагрузки теплового потребителя и мощности турбины обеспечивается органами парораспределения ЧВД. Регулирующие органы ЧНД находятся в неподвижном состоянии. В этом случае возможен режим работы турбины (ЧВД) с противодавлением. При этом через ЧНД пропускается небольшое количество пара для отвода теплоты трения вращающихся элементов ротора.
При работе турбины по электрическому графику регулирующие органы ЧНД могут иметь различную степень открытия, ограниченную нижним и верхним пределами по электрической мощности. Нижний предел определяется величиной регулируемого отбора пара, а верхний - максимальным пропуском пара в конденсатор.
Конденсационный режим работы турбины будет, когда промежуточный регулируемый отбор пара закрыт, т.е. Dп=0.
При всех режимах работы турбины давление пара к потребителю автоматически поддерживается постоянным, не зависящим от мощности турбины и расхода пара.
