- •2Н135 станок вертикальный сверлильный универсальный одношпиндельный. Назначение и область применения
- •Координатно-расточный станок мод. 2д450амф2
- •Главное движение
- •Движение вертикальной подачи
- •Перемещение стола
- •Зубофрезерные станки, работающие по методу огибания
- •50. Устройства для закрепления инструментов в шпинделях многоцелевых станков
- •52. Токарные многоцелевые станки: выполняемые операции, исполнительные движения, компоновки, основные узлы, структуры приводов.
- •58. Принцип агрегатирования металлорежущих станков. Классификация агрегатных станков и преимущества
- •59. Компоновки агрегатных станков, основные узлы.
Структура металлорежущего станка
Основу устройства металлорежущих станков составляет совокупность механизмов и других технических устройств, обеспечивающих главным образом два движения — движение резания (резцом, фрезой, сверлом и т. д. ) и движение подачи заготовки или режущего инструмента. Любой металлорежущий станок состоит из привода, передаточного механизма, исполнительного (рабочего) органа и органов управления (это можно проследить на примере уже рассмотренного устройства сверлильного станка) . Привод приводит в действие рабочие органы. Приводы могут быть механическими, Гидравлическими, пневматическими или электрическими. Передаточные механизмы передают движение от двигателя к рабочему органу станка и преобразуют это движение. Исполнительные (рабочие) органы — это устройства, которые непосредственно осуществляют процесс резания металла. На них закреплены режущие инструменты. Органы управления — устройства, с помощью которых осуществляется пуск и остановка станка, регулируется скорость резания и подачи, т. е. производится управление работой металлорежущего станка. Станина — чугунное или стальное основание, на котором крепят механизм станка. Станина обеспечивает точность их взаимного расположения и перемещения. Коробка скоростей изменяет передаточные отношения между ведущими и ведомыми звеньями (валами) , что позволяет регулировать частоту вращения режущего инструмента или заготовки. Коробка подач изменяет передаточные отношения в цепи подачи, чем регулирует величину подачи режущего инструмента.
Классификация станков по назначению и видам обработки и их обозначение.
По назначению металлорежущие станки делятся на девять групп: 1) токарные; 2) сверлильные и расточные; 3) шлифовальные, ; 4) специальные; 5) зубо- и резьбообрабатывающие; 6) фрезерные; 7) разрезные; 8) строгальные, долбежные, протяжные; 9) разные. Обозначение станков : X(1) X(2) X(3) X(4) X(5) X(6) X(1) – группа X(2) – тип ; Х(3) индекс предприятия изготовителя X(4) и X(5) – технологический размер X(6) – степень точности станка, наличие инструментального магазина , система ЧПУ, рев. Головка.
Классификация станков по универсальности, по уровню специализации
По степени универсальности металлорежущие станки бывают:
универсальные (общего назначения) – используются для небольших партий деталей широкого спектра наименований и размеров
специализированные – используются для больших партий однотипных деталей схожих конфигураций, но разного размера
специальные – используются для очень крупных партий деталей одного вида или типоразмера
ПО степени автоматизации : - с ручным управлением , - полуавтоматом (рабочий цикл по программе а смена заготовки в ручную) – станки с ЧПУ.
4 Классификация станков по точности, по массе
По классу точности металлорежущие станки могут быть:
нормальной (Н) точности
повышенной (П) точности
высокой (В) точности
особо высокой (А) точности
сверхвысокой (С) точности
По массе металлорежущие станки принято подразделять на:
легкие (до 1 т)
средние (1-10 т)
тяжелые (более 10 т)
уникальные (более 100 т)
Жесткость станков; факторы, влияющие на жесткость и основные пути ее повышения.
Эффективность станков.
Показатели производительности станков и основные направления ее повышения.
Производительность станка определяет его способность обеспечивать обработку определенного числа деталей в единицу времени.
Штучная производительность (шт./год) выражается числом деталей, изготовленных в единицу времени, при непрерывной и безотказной работе
Q = Tо/Т,
где Tо – годовой фонд времени; Т – полное время всего цикла изготовления детали.
Время цикла обработки выражается формулой Т = tp + tв, где tp – время обработки резанием; tв – время на все виды вспомогательных операций, не совмещенных по времени с обработкой. Если процесс обработки осуществляют непрерывно и дополнительное время на вспомогательные операции не затрачивается, т.е. если tв = 0, а Т = tp, то штучная производительность совпадает с понятием технологической производительности Qт = 1/tp,
определяемой только по машинному времени.
Основные пути повышения производительности станков связаны со следующими тенденциями: увеличением технологической производительности; совмещением разных операций во времени; сокращением времени на вспомогательные движения;сокращением всех видов внецикловых потерь.
Вибрации в технологической станочной системе.
Виброустойчивостьстанка или динамическое его качество определяет его способность противодействовать возникновению колебаний, снижающих точность и производительность станка. Наиболее опасны колебания инструмента относительно заготовки. Вынужденные колебания возникают в упругой системе станка из-за прерывистости процесса резания, неуравновешенности вращающихся звеньев привода и роторов электродвигателей, из-за периодических погрешностей в передачах и от внешних периодических возмущений. Особую опасность при вынужденных колебаниях представляют резонансные колебания, возникающие при совпадении частоты внешних воздействий с частотой собственных колебаний одного из упругих звеньев станка. Автоколебания или самовозбуждающиеся колебания связаны с характером протекания процессов резания и трения в подвижных соединениях. Параметрические колебания имеют место при периодически изменяющейся жесткости, например, при наличии шпоночной канавки на вращающемся валу или при переменной жесткости подшипников качения. Возникающие при этом колебания по своему характеру и методам борьбы с ними близки к вынужденным.
Низкочастотные фрикционные колебания наблюдаются при перемещении узлов станка недостаточно жестким приводом в условиях трения скольжения. В этих случаях непрерывное движение узла может при определенных условиях превратиться в прерывистое с периодически чередующимися скачками и остановками.
Колебания в упругой системе станка возникают также во время переходных процессов, обусловленных пуском, остановкой, резким изменением режима работы.
Основные пути повышения виброустойчивости станков: устранение источников периодических возмущений; подбор параметров упругой системы для обеспечения устойчивости; повышение демпфирующих свойств; применение систем автоматического управления уровнем колебаний.
Гибкость станочного оборудования.
Гибкостьстаночного оборудования – способность к быстрому переналаживанию при изготовлении других, новых деталей. Гибкость характеризуют двумя показателями – универсальностью и переналаживаемостью.
Универсальность определяется числом разных деталей, подлежащих обработке на данном станке, т.е. номенклатурой И обрабатываемых деталей. При этом следует иметь в виду, что отношение годового выпуска N к номенклатуре И определяет серийность изготовления S = N/И.
Переналаживаемость определяется потерями времени и средств на переналадку станочного оборудования, при переходе от одной партии заготовок к другой партии.
10 Точность станков и основные пути ее повышения
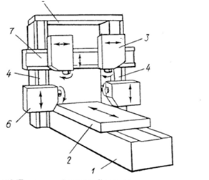
Точность станка в основном предопределяет точность обработанных на нем деталей. Различают геометрическую и кинематическую точность станков. Геометрическая точность зависит главным образом от точности изготовления соединений базових деталей и от качества сборки станка. Кинематическая точность необходима для характеристики тех. станков, в которых форма обрабатываемой поверхности зависит от соотношения скоростей относительного перемещения инструмента и заготовки, например для зубообрабатывающих, резьбонарезных и других станков для сложной контурной обработки.
Геометрическая и кинематическая точность станков являются необходимыми, но не достаточными условиями для обеспечения высокого качества станка. Надо также учитывать сопротивляемость его деталей действию внешних и внутренних сил. Деформации элементов станка, возникающие под действием силы резания, приводят к изменению относительного положення инструмента и обрабатываемой детали, т.е. к потере станком точности.
Надежность станочного оборудования, ее показатели
Надежность станка — свойство станка обеспечивать бесперебойный выпуск годной продукции в заданном количестве в течении определенного срока службы и в условиях применения, технического обслуживания, ремонтов, хранения и транспортирования.
ПОКАЗАТЕЛИ:
Технический ресурс - наработка от начала эксплуатации или ее возобновления после среднего и капитального ремонта до перехода в предельное состояние
Ремонтопригодность —
Долговечность станка — свойство станка сохранять работоспособность в течение некоторого времени с необходимыми перерывами для технического обслуживания и ремонта до наступления предельного состояния.
12 Основные пути обеспечения надежности
13. Производящие линии поверхности и формообразующие движения.
Тело любой детали есть замкнутое пространство, ограниченное реальными геометрическими поверхностями, полученными в результате обработки детали тем или иным технологическим способом (литьем, штамповкой, резанием и т.д.), которые всегда будут отличаться от идеальных геометрических поверхностей. Поверхности, полученные резанием на металлорежущих станках, будут отличаться от идеальных отклонениями от правильности формы и точности раз- меров, а также шероховатостью.
В зависимости от формы производящей линии (образующей) и метода ее образования движения формообразования могут быть простыми или сложными.
К простым движениям
формообразования относятся вращательные
,
и поступательные
,
каждое из которых может быть получено
за счет одного элементарного движения,
причем эти движения не зависят друг от
друга.
К сложным движениям формообразования относятся движения, которых могут быть получены за счет двух и более элементарных движений, причем эти движения зависят друг от друга Ф(ВП).
Под следом понимается непрерывное множество последовательных положений в пространстве движущейся образующей линии.
14. Методы образования станка.
В аналитической геометрии поверхность определяется как след движения одной линии - образующей по другой - направляющей.
Обе эти линии можно назвать производящими. Метод образования реальной поверхности определяется сочетанием методов получения производящих линий.
Производящие линии могут быть получены методом:
копирования,
обката,
следа,
касания.
1. Метод копирования характеризуется тем, что вспомогательная линия, например, режущая кромка инструмента, по всей форме совпадает с образуемой производящей линией, для получения которой не требуется никаких движений, кроме сближения режущей кромки инструмента и образуемой линии.
Примером
такого метода получения линии может
служить копирование режущей кромки
резца при фасонном точении. В этом случае
достаточно обеспечить вращательное
движение заготовки
(рис.2, а, б).
2. При образовании линии методом обката форма режущей кромки инструмента не совпадает с образуемой линией.
Последняя получается как огибающая ряда последовательных положений режущей кромки инструмента при его перемещении относительно заготовки, т.е. при таком методе необходимо движение для перемещения режущей кромки инструмента в новое положение. В качестве примера можно привести образование профиля зуба колеса при зубофрезеровании червячной фрезой, где режущая кромка является касательной к образующей линии
3.
Образование производящей линии методом
следа происходит при движении
вспомогательной материальной точки
(в.м.т.), например, вершина резца при
движении
,
вдоль образуемой линии оставит след
4. Метод касания характеризуется тем, что в.м.т. участвует в двух движениях, например, вращается вокруг некоторой оси, перемещающейся вдоль образующей линии.
Образуемая таким образом линия формируется как ряд последовательных касаний в.м.т. (или линии).
Такая
картина образования производящей линии
наблюдается при фрезеровании цилиндрической
фрезой. Для образования производящей
линии при этом необходимо вращательное
движение фрезы
и
поступательное движение заготовки
15. классификация движения станка по функцианальному назначению
1 Основные движения
Движение резания
Движение подачи
2 Вспомогательные движения
Движения для настройки станка на заданные режимы резания
Движения для наладки станка
Движения управления станком
Движения для закрепления и освобождения рабочих органов
3 Взаимосвязанные движения
Движение обкатки или огибания
Движение образования винтовой поверхности
Движение образования архимедовой спирали
Движение образования сложных поверхностей
Движение деления
16. кинематическая группа. Кинематическая структура станков
Совокупность механизмов, обеспечивающих одно исполнительное движение, называется кинематической группой.
Кинематическая группа состоит из трех основных частей:
1 исполнительного органа,
2 кинематических связей,
3 настроечного органа, обеспечивающего необходимые параметры исполнительного движения (траекторию, скорость, путь).
Существует три способа соединения кинематических групп:
1
параллельный – признаком такого
соединения является наличие в связях
суммирующего механизма, например,
дифференциала. Этот метод применяется,
когда исполнительные движения выполняются
одновременно одним механизмом, например,
нарезание зубчатого колеса с винтовым
зубом червячной фрезой движение обката
выполняется одновременно с получением
винтовой линии т.е.
;
2
последовательный – признаком такого
соединения является наличие в структуре
муфт, обеспечивающих поочередное
включение формообразующих движений
или
;
3 параллельно-последовательный – признаком такого соединения является наличие в структуре специального реверсирующего механизма, например, сложного составного колеса.
Кинематическая структура станков представляет собой совокупность кинематических групп. Группы могут быть соединены между собой разными способами; их соединение зависит от многих факторов. Наибольшее влияние на соединение кинематических групп оказывают общность их исполнительных органов и источника движения, а также необходимость координации во времени создаваемых группами движений. Всякое соединение двух кинематических групп осуществляется специальными дополнительными устройствами, такими, как суммирующие механизмы, реверсы, муфты и т.д.
17. методика кинематической настройки станков. конечные звенья, расчетные перемещения и уравнения кинематического баланса цепи.
Под кинематической настройкой станка понимают настройку его цепей, обеспечивающую требуемые скорости движений исполнительных органов станка, а также, при необходимости, условия кинематического согласования перемещений или скоростей исполнительных органов между собой. Цель таких согласований – образование поверхности с заданными формой, размерами, точностью и шероховатостью. Кинематическая настройка является составной частью наладки станка. В большинстве металлорежущих станков с механическими связями для настройки кинематических цепей применяют органы кинематической настройки в виде гитар сменных зубчатых колес, а также ременных передач, вариаторов, регулируемых электродвигателей, коробок скоростей и подач, характеристикой которых является общее передаточное отношение i органа. Значение передаточного отношения органа настройки определяют по формуле настройки. Для вывода формулы настройки любого органа кинематической настройки необходимо по кинематической схеме станка наметить такую цепь передач, в которой расположен данный орган и известны перемещения или скорости конечных звеньев этой цепи, связанные функциональной или требуемой зависимостью. Желательно, чтобы такая цепь передач, называемая в дальнейшем цепью согласования, включала в себя только один орган настройки, для которого выводят формулу.
1 уравнения
кинематического баланса
2 расчетные перемещения
1
оборот начального звена →
,
мм продольного перемещения конечного
звена.
Уравнение кинематического баланса будет иметь вид:
18. Механизмы. приводов главного движения с ступенчатым регулированием скорости
Регулирование может осуществляться гитарами сменных зубчатых колес "а", "b"(рис.1), как во многих моделях зубообрабатывающих станков.
Основным достоинством такого привода является простота. Однако его применение целесообразно лишь в том случае, когда не требуется частых переключений, так как время, потребное на настройку, сравнительно велико.
Ступенчатое регулирование можно осуществлять при помощи муфт и зубчатых колес, находящихся в постоянном зацеплении (рис.2).
19. Механизмы. приводов главного движения с бесступенчатым регулированием скорости
При
бесступенчатом регулировании частоты
вращения в приводе главного движенияприменяют
электродвигатели постоянного тока,
обладающие, однако, тем недостатком,
что при небольшом диапазоне регулирования,
определяемом как отношение
,
требующие устройств для преобразования
переменного тока, которым снабжаются
промышленные предприятия, в постоянный.
Для бесступенчатого регулирования в станках широко применяют вариаторы, принцип действия и устройство которых известны из курса "Детали машин".
Наиболее широко в приводах главного движения используются торовые вариаторы (рис.4) и клиноременные с раздвижными шкивами (рис.5).
Диапазоны
регулирования у вариаторов небольшие:
,
поэтому в приводах станков вариаторы
применяются в сочетании со ступенчатой
коробкой скоростей, что позволяет
обеспечить заданный диапазон регулирования.
Структура такого привода представлена
на рис.6.
При
включении понижающей передачи в коробке
скоростей при помощи вариатора можно
изменить бесступенчато частоту вращения
шпинделя от
до
.
При
включении на другую, например, повышенную,
передачу в коробке скоростей, можно
получить бесступенчатое регулирование
в пределах от
до
,
обеспечив таким образом все значения
частот вращения в пределах
от
до
бесступенчато
и общий диапазон регулирования
20. Приводы подач. Классификация, структуры приводов. Требования к приводам подач.
Приводом станка называется совокупность механизмов, обеспечивающих получение одного элементарного (вращательного или поступательного) движения.
Приводы металлорежущих станков предназначены для осуществления рабочих, вспомогательных и установочных перемещений инструментов и заготовок.
К каждому виду привода, с учетом служебного назначения станка, предъявляют свои специфические требования по передаче мощности от привода, обеспечению постоянства скорости, ее изменению и настройке, точности перемещения и погрешности позиционирования узла, быстродействию, надежности, стоимости, габаритам.
В связи с применением числового программного управления в станках каждое движение чаще всего осуществляется от своего отдельного источника — электрического или гидравлического двигателей различных типов, обладающих своими особенностями, определяющими области рационального применения.
По своим функциям и конструктивному исполнению приводы подразделяются:
1. главного движения;
2. подач и вспомогательных перемещений;
3. вращательного и поступательного движения;
4. ступенчатого и бесступенчатого регулирования;
5. механические, гидравлические, электрические.
Для чтения кинематических схем станков предусматриваются условные обозначения их элементов по ГОСТ 2770-68.
Требования к приводам подач, так же как и к приводам вращения шпинделей, обусловлены необходимостью высокой производительности и точности обработки. Производительность и точность МС определяются быстродействием, скоростью, мощностью и точностью привода подач. Диапазон регулирования подач определяется для МС необходимостью обеспечения минимальных подач при высокоточной отделочной обработке и при окончании позиционирования в заданные координаты. Производительность будет зависеть от скорости холостого хода и быстродействия привода при изменении направления перемещения и величины подачи при обходе контура детали.
Для большинства МС диапазон рабочих подач составляет 1 -2000 мм/мин, а скорость холостого хода 8 — 12 м/мин. В МС используют следующие приводы подач: электрогидравлические с шаговым двигателем и усилителем крутящего момента; гидродвигатели с управлением от сервоклапана; гидроцилиндр и золотниковое устройство с шаговым двигателем; двигатели постоянного тока с тиристорным управлением.
Электрогидравлический привод подач для мини токарного станка получил распространение благодаря простоте, отсутствию обратной связи по положению. Привод состоит из шагового двигателя и гидроусилителя крутящего момента.
приводы главного движения
тиристорное регулирование
двигатель постоянного тока
тиристорные преоразователи
конструкция тиристора
тиристорный преобразователь
индуктивность цепи
приводы подач
требования к приводам подач
21. Реверсивные механизмы.
Реверсивные механизмы. Изменение направления движения в токарных станках осуществляется реверсивными механизмами или за .счет переключения направления вращения электродвигателя.
Как уже известно, паразитное колесо изменяет направление вращения ведомого элемента зубчатой передачи. Такой принцип используется в реверсивных механизмах, изображенных на 163, а и б. В первом случае при левом положении блока Б в передаче Движения меж- ч4 ду валами / и // участвуют зубчатые колеса zu z2 и паразитное колесо г, благодаря чему валы вращаются в одну и ту же сторону. Когда блок переключают вправо, передача осуществляется колесами гъ и z4 непосредственно и ведомый вал И начнет вращаться в обратную сторону.
В механизме, называемом трензелем, применены два паразитных колеса z$ и г4, установленные свободно на осях поворотного рычага 2. Последний может занимать три положения, фиксируемые подпружиненной рукояткой /, зубцы которой входят в углубления на стенке корпуса механизма.
В верхнем положении рукоятки (как показано на схеме) в передаче движения между колесами и г% участвует одно паразитное колесо Z2, в среднем — паразитные колеса отключаются от ведущего колеса z\ — передача отсутствует, в нижнем — в передаче будут участвовать оба паразитных колеса 2Й и Таким образом, в крайних положениях рукоятки / ведомое колесо z% будет вращаться в различных направлениях.
Трензели в настоящее время встречаются сравнительно редко, преимущественно в старых моделях токарно-винторезных станков. Они располагаются между шпинделем и сменными колесами гитары для изменения направления перемещения суппорта при нарезании правых и левых резьб резцами.
В фартуке суппорта часто применяют реверсивный механизм с коническими колесами. Изменение направления вращения ведомого колеса z3 и вала //, на котором оно закреплено.
При переключениях двусторонней муфты М переда-* ча вращения от вала / к валу // будет осуществляться через зубчатые пары Z\ — 2Э или Z2 — z9. Так как колеса г\ и г2 действуют на противоположные стороны колеса z$t то последнее будет изменять направление движения.
Реверсирование электродвигателем применяется в основном на небольших токарных станках
22. Механизмы для осуществления прямолинейного движения.
В современных металлорежущих станках для осуществления прямолинейных движений используют преимущественно следующие механизмы: зубчатое колесо-рейка; червяк-рейка; ходовой винт-гайка; кулачковые механизмы; гидравлические устройства, а также электромагнитные устройства типа соленоидов.
23. Предохранительные и блокировочные устройства.
Станок снабжен перемещаемым ограждением, закрывающим конец шпинделя, патрон и режущий инструмент на время вращения главного привода. При отводе ограждения от шпинделя блокируется питание цепей управления станком в отключенном состоянии. Защитные ограждения устанавливаются по спецзаказу, согласно требованиям заказ-наряда или по согласованию с заказчиком.
Уборка сливной стружки должна производиться с использованием специального металлического крючка при остановленном вращении шпинделя. Мелкая стружка может быть убрана щеткой при вращении инструмента в отведенном состоянии.
4.4.2. Блокировки.
В механизме установлен блокирующий конечник защитного ограждения зоны резания и запрещающий вращение шпинделя на время отвода ограждения из зоны резания. Повторный "пуск" шпинделя возможен только при нажатии на пусковые кнопки при закрытом положении ограждения.
Станок имеет автоматическое торможение шпинделя. Время торможения шпинделя после его выключения на всех частотах вращения не превышает 5 с. При частоте вращения шпинделя свыше 3000 мин-1 время торможения после его выключения не регламентируется.
24. Функции систем управления станками.
25. структуры систем ЧПУ и классификация по видам программоносителей. По способу кодирования и ввода информации.
Системы программного управления, применяющиеся в настоящее время на отечественных станках с ЧПУ, могут быть классифицированы по ряду наиболее важных признаков, определяющих метод задания программы, особенности представления управляющей информации, структуру схемы управления и т. д. (табл. 1).
Числовые системы программного управления предусматривают задание величины перемещения, его направления и скорости в числовом виде на программоносителе (перфоленте, магнитной ленте). Системы циклового управления позволяют запрограммировать последовательность перемещений рабочих органов станка, обеспечивающую требуемый цикл обработки, путем определенного набора коммутирующих элементов (штекеров, переключателей) и задать необходимую скорость перемещений. При этом величина перемещений определяется конечными выключателями.
Особенностью контурных систем является то, что формообразование детали осуществляется в результате совместных движений нескольких рабочих органов при наличии непрерывной функциональной связи между ними, что дает возможность обрабатывать детали сложной конфигурации. Задачей позиционной системы является обеспечение точной установки инструмента в рабочую позицию, при этом перемещения между позициями происходят без функциональной связи между координатами станка.
Наряду с дискретным представлением информации в виде импульсов (дискретные системы) применяются различные формы непрерывного представления управляющего сигнала, например, в виде синусоидального напряжения переменного тока. Такая форма сигнала используется в фазовых системах ЧПУ.
26. Токарные станки общего назначения. Станок мод. 1К620 является быстроходным вариантом станка мод. 1К62 с бесступенчатым регулированием частот вращения (рис. 2). Вместо первых двух групповых передач привода шпинделя в этом станке поставлен механический бесступенчатый вариатор с раздвижными коническими шкивами и широким клиновидным ремнём
Универсальный станок для выполнения всех видов токарных работ, нарезания различных видов резьб. Применяется в единичном и мелкосерийном производстве. Расчет кинематический настройки станка:
1) Уравнение кинематического баланса цепи главного движения:
hЭ ∙ iП ∙ iV = n мин-1 (шпинделя)
2) Уравнение кинематического баланса цепи продольных подач:
1об.шп.∙ iП ∙ iГ ∙ iК.П ∙ iФ ∙πmz=SПР мм/об
Г-гитары сменных колес, К.П-коробки подач, Ф-фартук, πmz-длина окружности реечного колеса..
3) Уравнение кинематического баланса цепи поперечных подач:
1об.шп.∙iП ∙iГ ∙iК.П ∙iФ ∙t2=SПОП мм/об
t2 – шаг винта поперечных подач.
4) Уравнение кинематического баланса цепи резьбонарезания:
1об.шп.∙ iП ∙ iГ ∙ iК.П ∙ t1 = t мм/об
t1 – шаг ходового винта.
5) Уравнение кинематического баланса цепи нарезания точных резьб:
1об.шп.∙ iП ∙ iГ ∙ t1 = t мм/об
iГ - орган настройки. Формула настройки цепи нарезания точных резьб имеет вид: iГ = t / iП ∙ t1
6) Уравнение кинематического баланса цепи нарезания многозаходных резьб:
1об.шп.∙ iП ∙ iГ ∙ iК.П ∙ t1 = t ∙ к мм/об
t – шаг резьбы, к – количество заходов, t ∙ к – ход резьбы.
1 – станина; 2 – передняя бабка с коробкой скоростей; 3 – задняя бабка; 4 – фартук(не надо) гитара сменных колес; 5 – коробка подач; 6 – суппорт.
27. Токарный станок с ЧПУ 16К20Ф3
Назначение: все виды токарной обработки и нарезание резьб с шагом от 0,25 до 40 мм. Мелкосерийное и серийное производство.
Главное движение: вращение шпинделя В1 осуществляется от частотнорегулируемого асинхронного двигателя или двигателя постоянного тока через клиноременную передачу и 3-х ступенчатый перебор для расширения диапазона регулирования двигателя на шпиндель.
Движение подач: продольное и поперечное перемещения суппорта П1 и П2 осуществляются от двигателей М2 и М3 (такого типа, что и двигатель главного движения) через шарико-винтовые пары на суппорт с револьверной головкой. Величина перемещения контролируется фотоэлектронными датчиками обратной связи: Д1 и Д2, с дискретностью 2 мкм в продольном и 1 мкм в поперечном направлении. При одновременном управлении по двум координатам можно обрабатывать сферические, конические и фасонные поверхности.
Нарезание резьб: осуществляется путем реализации жесткой электрической связи между вращением шпинделя В1 и продольным перемещением суппортов. Электрическая связь осуществляется с помощью согласования вращения шпинделя и продольного перемещения суппорта. Для этого шпиндель –связан беззазорной зубчатой передачей с фотоэлектрическим датчиком Д3. Скорость перемещения исполнительных органов контролируется тахогенераторами, установленными на тех же валах, что и с электродвигатели.
Вспомогательные движения: 1) перемещение пиноли задней бабки для поддержания задним центром длинных нежестких деталей осуществляется от мотор-редуктора и винтовой передачи, 2) зажим/разжим, поворот револьверной головки для смены инструмента осуществляется от электро-механического привода.
28. Токарный одношпиндельный вертикальный полуавтомат 1А734Ф3 с ЧПУ. Станок предназначен для черновой и чистовой обработки в патроне наружных и внутренних поверхностей заготовок деталей типа" диска", зубчатых колес, маховиков в полуавтоматическом цикле, заданным программой на перфоленте.
Основные узлы и перемещения. На основании ОС (рис. 3.25) закреплена массивная шпиндельная бабка ШБ с вертикальным шпинделем изделия и приводом главного движения.
Инструменты закрепляют в двух-, четырехпозиционных револьверных головках РГ, которые расположены на суппортах СП. Движение вертикальной подачи совершают каретки суппортов СК по стойке, установленной на шпиндельной бабке.
Движение горизонтальной подачи сообщается ползунам по кареткам.
Привод вертикальной подачи ПВ размещен на стойке, а горизонтальной ПГ – на суппорте.
30. Токарно-револьверный станок 1Г340П является универсальным токарно-револьверным станком и применяется в условиях серийного производства.
Он может быть прутковым или патронным и на нем можно выполнять работы, требующие последовательного применения различного режущего инструмента (черновое и чистовое точение, сверление, растачивание, зенкерование, развертывание, нарезание резьбы и т.п.).
Станок 1Г340П (рис. 3.10) относят к револьверным станкам с горизонтальной осью револьверной головки. Ось вращения головки расположена ниже оси шпинделя и параллельна ей. Револьверная головка имеет 16 гнезд, в которых с помощью различных державок крепят режущий инструмент. Этот станок не имеет бокового (поперечного) суппорта. Револьверная головка получает продольную и поперечную подачу.
Автоматическое переключение частоты вращения шпинделя и подач суппорта при смене позиций револьверной головки в соответствии с программой, заданной на штекерной панели пульта управления, значительно повышает производительность работы на станке и удобство его обслуживания. Для наладки и обработки мелких партий деталей предусмотрено ручное управление станком.
Кинематика станка
Движения в станке. Главное движение – вращение шпинделя (рис.3.11) – осуществляется от электродвигателя М (N = 6,0/6,2 кВт; n = 960/1440 мин-1) через коробку скоростей. На станке применена унифицированная автоматическая коробка скоростей типа АКС 206-32-21 (рис. 3.11).
В коробке скоростей с четырьмя валами имеется пять электромагнитных муфт 9 (ЭТМ-114) и пять электромагнитных муфт 10 (ЭМ-104), которые, включаясь попарно, дают на выходном валу 12 ступеней частоты вращения (с учетом двухскоростного электродвигателя). Частоты вращения можно переключать на ходу и под нагрузкой. Торможение выходного вала коробки скоростей осуществляется одновременно включением муфт на этом валу при отключенных остальных муфтах. Реверсирование шпинделя осуществляется электродвигателя.
Уравнение кинематической цепи для минимальной частоты вращения шпинделя
|
Продольная
подача револьверного суппорта осуществляется
от выходного (IV)
вала коробки скоростей через плоскозубчатые
ременные передачи
и
,
коробку подач и механизм фартука. Коробка
подач (рис.
3.11) имеет
пять электромагнитных муфт 3 типа
ЭТМ и блок зубчатых колес 1 (Z =
18) и (Z =
28), что обеспечивает 12 подач револьверного
суппорта в двух диапазонах (по шесть
автоматических подач).
Уравнение кинематической цепи минимальной продольной подачи:
|
Продольное перемещение револьверного суппорта вручную осуществляют штурвалом при соответствующем положении муфт в механизме суппорта. Схемой станка предусмотрена возможность переключения скоростей и подач вручную переключателями, установленными на пульте управления, и автоматической установкой штекера в соответствующее гнездо на штекерной панели.
Поперечная
(круговая) подача осуществляется
от шпинделя станка до ходового винта
по той же кинематической цепи, что и при
продольной подаче, а далее через
плоскозубчатую ременную передачу
,
или цилиндрическую пару
,
конический реверсивный механизм
,
червячную передачу
и
зубчатую передачу
на
револьверную головку, при вращении
которой происходит поперечная (круговая)
подача.
Уравнение кинематической цепи минимальной поперечной (круговой) подачи:
|
где
–
радиус окружности центров инструментальных
гнезд, мм, (для данного станка 100 мм).
На станке имеется копировальное устройство, предназначенное для продольного и поперечного копирования. Для этого на револьверной головке 1 закрепляют специальную державку с роликом, который упирается в копировальную линейку. Копировальную линейку устанавливают под необходимым углом к горизонтали и закрепляют в этом положении.
Продольное копирование осуществляется при продольной подаче револьверного суппорта, при этом ролик державки движется по наклонной линейке и поворачивает вокруг оси револьверную головку вместе с резцом, сообщая ему поперечную подачу. Ролик прижимается к поверхности копировальной линейки силой резания. При одновременном осуществлении резцом продольной и поперечной подач на заготовке образуется коническая или иная фасонная поверхность. При поперечном копировании включается поперечная подача, а продольное перемещение суппорта происходит под действием копировальной линейки.
Резьбонарезное
устройство предназначено
для нарезания по копиру 1 (рис.
3.11) резцами
или гребенками наружных или внутренних
резьб различных шагов. От шпинделя через
кинематическую цепь с передаточным
отношением
или
вращение
передается на сменный копир при
передаточном отношении
шаг
нарезаемой резьбы равен шагу резьбы
установленного копира 1,
а при передаточном отношении
–
половине этого шага.
Для нарезания резьбы нужно опустить рычаг 5 до упора винта этого рычага в планку 8. Вместе с рычагом 5 поворачивается суппорт 7 и рычаг 3, закрепленный на нем резьбовой губкой 2 и грузом. При этом резьбовая гребенка, закрепленная на суппорте, занимает положение, нужное для нарезания резьбы, а резьбовая губка 2, перемещаясь по резьбе копира 1, будет двигать в осевом направлении штангу 6, рычаг 5 и суппорт 7, обеспечивая продольную подачу инструмента на шаг нарезаемой резьбы.
Продольное перемещение суппорта 7 ограничено упором, который прикреплен к рычагу 5. В результате действия упора рычаг 5 и губка 2 поднимаются над резьбой копира 1, и штанга 6, под действием пружины 4 возвращается в правое положение. Нарезание резьбы происходит за несколько рабочих ходов. Перед каждым следующим ходом резьбовую гребенку нужно подавать в поперечном направлении.
31. Токарно-карусельный станок типа 1512Ф3 с ЧПУ. Станок 1512Ф3 предназначен для обработки заготовок различных деталей из черных и цветных металлов в условиях единичного, мелкосерийного и среднесерийного производства (рис. 3.24). На нем можно производить обтачивание и растачивание поверхностей с прямолинейными и криволинейными образующими, протачивание торцовых поверхностей, прорезание торцовых канавок, сверление, зенкерование и развертывание центральных отверстий и др. Этот станок особенно эффективен при обработке заготовок сложной конфигурации с большим числом точных поверхностей.
|
Обработка на двухстоечном карусельном станке с ЧПУ |
|
Наибольший диаметр устанавливаемой заготовки, мм: |
1200 |
Наибольший длина устанавливаемой заготовки, мм |
1000 |
|
Наибольшее перемещение револьверного суппорта, мм: |
|
|
горизонтальное |
775 |
|
вертикальное |
700 |
|
Число ступеней частот вращения шпинделя |
18 |
|
Пределы частот прямого вращения планшайбы, мин-1 |
5…2500 |
|
Пределы горизонтальных и вертикальных подач суппорта, мм/мин |
3…300 |
|
Наибольший шаг нарезаемой резьбы, мм |
40 |
|
Наибольшая скорость установочных перемещений суппорта, мм/мин: |
3000 |
|
Мощность электродвигателя главного привода, кВт |
30 |
|
Частота вращения вала электродвигателя, мин-1 |
1460 |
|
Общий вид станка мод. 1512Ф3 |
Техническая характеристика станка |
|
Кинематика станка
Движения в
станке. Главное
движение – вращение
планшайбы – осуществляется
от электродвигателя М1 (рис.
3.24) через
клиноременную передачу со шкивами
,
коробку скоростей, вал V,
конические зубчатые колеса
и
зубчатые колеса
.
Уравнение кинематического баланса имеет вид:
|
где
–
передаточное отношение коробки скоростей.
От
вала V коробки
скоростей через конические зубчатые
колеса 36/48, вал IX,
зубчатые колеса
вращение
передается на вал X,
конические зубчатые колеса
,
вал XI,
конические зубчатые колеса
вращение
передается на вал XII коробки
подач, переключением электромагнитных
муфт которой устанавливается необходимая
подача.
Уравнение кинематического баланса цепи подач имеет вид
|
где
–
передаточное отношение коробки подач;
–
передаточное отношение цепи от коробки
подач до соответствующего суппорта.
32. Расширенные технологические возможности токарных многоцелевых станков обусловлены применением специальных револьверных
головок и других конструкций держателей с вращающимся инструментом. Кроме того,
шпиндель токарного многоцелевого станка
в нужный момент по программе может переключаться с режима вращения с определенной
частотой, обеспечивающей заданную скорость резания, в режим дискретного
позицианирования по углу поворота или в непрерывный следящий режим с обратной
Именно эти конструктивные
особенности токарных многоцелевых станков обеспечивают выполнение на данных
станках, помимо обычных токарных операций по обработке невращающимся
инструментом наружных и внутренних цилиндрических, конических, сферических и
фасонных поверхностей с центральной осью, совпадающей с осью вращения заготовки,
различных других операций, например сверления, зенкерования, развертывания,
растачивания отверстий, расположенных на наружной поверхности и торце заготовки
под различными углами наклона к оси заготовки. Кроме того, на токарных
многоцелевых станках можно выполнять различные фрезерные операции.
Первая группа схем относится к
обработке наружной поверхности. Это обтачивание цилиндрической поверхности (
рис.1, а), обтачивание конической поверхности (рис.1,б), обработка фасонной
(криволинейной) поверхности (рис.1, в), прорезка канавок
<p>(рис.1,г), отрезание обраблтанной детали (рис.1, д),
нарезание резьбы плашкой (рис.1, е), нарезание резьбы резцом
Вторая группа схем обработки относится к обработке внутренних поверхностей, соосных с вращением шпинделя. Это
центрование отверстий (рис.1, и), сверление центральных отверстий (рис.1, к),
растачивание цилиндрических поверхностей (рис.1, л), растачивание конических
поверхностей (рис.1, м; растачивание с обработкой торца (рис.1, н),
растачивание фасонной (криволинейной) поверхности (рис.1, о), растачивание
внутренних канавок (рис.1, п), зенкерование отверстий (рис.1, р), развертывание
отверстий (рис.1, с), нарезание резьбы резцом (рис.1, т), нарезание резьбы
метчиком (рис.1, у).
33. Полуавтомат 1К282 предназначен для черновой и чистовой обработки в патроне заготовок типа дисков, фланцев и др. Станок изготовляют в силовом и скоростном исполнении. Силовые станки служат для обработки заготовок с большими припусками. Скоростное исполнение предназначено для обработки деталей либо небольшого диаметра, либо из цветных металлов.
Техническая характеристика станка полуавтомата 1К282. Наибольший диаметр обрабатываемой заготовки 250 мм; число частот вращения шпинделя равно 28 в низком ряду и 25 в высоком; пределы частот вращения шпинделя при силовом исполнении 42-628 мин-1, при скоростном 66-980 мин-1, число подач 38; пределы подач при силовом исполнении 0,064-4,05 мм/об, при скоростном 0,041-3,44 мм/об; габаритные размеры станка 3070x2945x3872 мм.
Рис. 42. Схема работы токарного полуавтомата 1К282
Основные механизмы и принцип работы станка. С основанием 6 (рис. 42) жестко соединена колонна 3, по направляющим которой в рабочих позициях перемещаются суппорты 2. На столе 5 установлено восемь рабочих шпинделей 4. На вершине колонны закреплен корпус 1, в котором размещен механизм подач и редуктор главного движения. На семи рабочих позициях по принципу последовательной обработки можно производить обтачивание, растачивание, сверление, зенкерование и развертывание отверстий. Одна позиция является загрузочной. При обработке параллельно-последовательным методом двух заготовок одновременно на станке имеется две загрузочные позиции. Особенность данного станка в том, что каждый шпиндель может иметь независимые друг от друга частоты вращений и величины подач.
34. Токарно-копировальный многорезцовый полуавтомат 1722 предназначен для токарной обработки в центрах валов различной конфигурации методом копирования. Для перемещения суппортов и пиноли задней бабки, а также для копирования служит гидравлический привод. Обработка основного профиля изделия производится копировальным суппортом, который одним резцом при помощи гидравлического следящего устройства воспроизводит на изделии форму установленного на станке шаблона. Прорезание канавок и подрезание торцов производится поперечным суппортом одним или несколькими резцами. Система управления полуавтомата позволяет при обработке деталей в полуавтоматическом режиме осуществлять различные варианты включения суппортов в работу (одновременное, поперечное после копировального, только копировальное), изменять величину продольной подачи копировального суппорта, а также обеспечивает прохождение копировальным суппортом на ускоренном ходу необрабатываемых участков детали. Для настройки станка на обработку определенной детали предусмотрен наладочный режим работы. Полуавтомат обладает высокой мощностью и жесткостью, что позволяет применять инструмент, оснащенный твердым сплавом, при большом сечении снимаемой стружки. Вертикальная компоновка станка обеспечивает свободней доступ к изделию и инструменту, а также позволяет осуществлять сквозное транспортирование деталей при встраивании станка в автоматическую линию или при оснащении его автоматическим загрузочным устройством. Применение метода копирования позволяет сократить время переналадки и уменьшить число замеров. Это повышает производительность станка. Использование гидравлического привода для перемещения рабочих органов упрощает наладку полуавтомата и работу на нем. Применение двухкоординатной системы копирования и сохранение постоянной величины подачи вдоль обрабатываемого контура (независимо от угла наклона последнего) позволяет обрабатывать на станке детали самой различной конфигурации. По специальному заказу станок может поставляться налаженным на обработку определенной детали.
35. Сверлильные станки предназначены для сверления, зенкования, зенкерования, развертывания отверстий, для подрезания торцов изделий и нарезания резьб метчиками. Применяются они в основном в единичном и мелкосерийном производстве, а некоторые модификации этих станков — в условиях массового и крупносерийного производства.
Кинематические связи вертикально-сверлильного станка
Основными формообразующими движениями при сверлильных операциях являются: главное — вращательное движение v и движение подачи s шпинделя станка. Кинематические цепи, осуществляющие эти движения, имеют самостоятельные органы настройки iv и is, посредством которых устанавливается необходимая скорость вращения инструмента и его подача.
Основными параметрами станка являются наибольший диаметр сверления отверстия по стали, вылет и максимальный ход шпинделя
2Н135 станок вертикальный сверлильный универсальный одношпиндельный. Назначение и область применения
Станки универсальные вертикально-сверлильные 2Н135, с условным диаметром сверления 35 мм, используются на предприятиях с единичным и мелкосерийным выпуском продукции и предназначены для выполнения следующих операций: сверления» рассверливания» зенкования, зенкерования, развертывания и подрезки торцев ножами.
Пределы чисел оборотов и подач шпинделя позволяют обрабатывать различные виды отверстий на рациональных режимах резания.
Наличие на станках механической подачи шпинделя, при ручном управлении циклами работы.
Допускает обработку деталей в широком диапазоне размеров из различных материалов с использованием инструмента из высокоуглеродистых и быстрорежущих сталей и твердых сплавов.
Станки снабжены устройством реверсирования электродвигателя главного движения, что позволяет производить на них нарезание резьбы машинными метчиками при ручной подаче шпинделя»
Расположение основных частей сверлильного станка 2Н135
Обозначение основных частей сверлильного станка 2Н135
Привод сверлильного станка - 2Н135.21.000
Коробка скоростей станка - 2Н135.20.000
Насос плунжерный масляный - 2Н125.24.000 для станка 2Н125
Насос плунжерный масляный - 2Н135.24.000
Коробка подач - 2Н135.30.000
Колонна, стол, плита - 2Н135.10.000
Механизм управления скоростями и подачами - 2Н135.25.000
Электрошкаф - 2Н125.72.000
Электрооборудование - 2Н135.94.000
Шпиндель в сборе - 2Н135.50.000
Система охлаждения станка - 2Н135.80.000
Сверлильная головка - 2Н135.40.000
36. РАДЛИАЛЬНО-СВЕРЛИЛЬНЫЙ СТАНОК МОДЕЛИ 2В56
Главного электродвигателя. |
5,5 |
Основные узлы станка: 1 - фундаментная плита; 2 - колонна; 3 - разрезной хомут; 4 - поворотная гильза; 5 - консоль (траверса); 6 - винт подъёма консоли; 7 - редуктор; 8 – электродвигатель подъёма консоли; 9 - электродвигатель подачи; 10 - коробка скоростей; 11 -шпиндельная головка; 12 - рейки перемещения шпиндельной головки; 13 – коробка подач; 14 - шпиндель; 15 - съёмный стол.
На фундаментной плите станка закреплена станина с колонной и поворотной гильзой. Разрезной хомут скрепляет колонну со станиной. На колонне закреплена консоль, которая может перемещаться по колонне вверх и вниз с помощью электродвигателя, редуктора и винта. На консоли находится шпиндельная головка, в которой размещается коробка скоростей, коробка подач и шпиндель.
Шпиндельная головка может радиально перемещаться по направляющим рейкам консоли, а консоль может поворачиваться вокруг колонны на определённый угол механически или вручную.
При работе на станках этого типа заготовку можно закрепить неподвижно на съёмном столе или прямо на фундаментной плите. Ось инструмента, закреплённого в шпинделе, совмещают с осью обрабатываемого отверстия с помощью трёх перемещений:
- вертикального вдоль оси шпинделя;
- радиального, по направляющим консоли;
- вокруг колонны на определённый угол.
37. Вертикально-сверлильный станок 2Р135Ф2 с ЧПУ.
Станок предназначен для сверления, зенкерования, развертывания, нарезания резьбы, торцового подрезания деталей и т.д. в условиях мелкого и среднесерийного производства. Наличие на станке шестипозиционной головки 3 для автоматической смены режущего инструмента и крестового стола 2 позволяет осуществлять координатную обработку деталей типа крышек, фланцев, панелей и других без предварительной разметки и применения кондукторов
Общий вид вертикально-сверлильного станка модели 2Р135Ф2, оснащенного ЧПУ, показан на рис. 6. На основании 1 смонтирована колонна 10, по прямоугольным вертикальным направляющим которой перемещается суппорт 4, несущий револьверную головку 3. На колонне 10 смонтированы коробки скоростей 5 и редуктор подач 6. Салазки 2 крестового стола перемещаются по горизонтальным направляющим основания 1, а верхняя часть 11 стола - по направляющим салазок. С правой стороны станка расположены шкафы 8 с электрооборудованием и УЧПУ 9. Станок имеет подвесной пульт 7 управления.
38
Основными узлами станка являются: станина 28, передняя стойка 21, шпиндельная бабка 22, стол 10, задняя стойка 5 с люнетом 3, планшайба 13, радиальный суппорт 14, шкаф 24 с электрооборудованием, электромашинный агрегат 25. Детали для обработки устанавливаются на поворотный стол 8
.
Обрабатывающий инструмент помещается либо на оправки, закрепленные во внутреннем конусе шпинделя 15, либо на резцедержатель, установленный на радиальный суппорт 14.Инструмент, предназначенный для обработки длинных отверстий, устанавливается в длинные оправки (борштанги), правая сторона которых закрепляется во внутреннем конусе шпинделя 15, а левая вращается (и может одновременно перемещаться в осевом направлении) во вкладышах люнета 3.
Станки моделей 2620, 2620А, 2622 и 2622А (общего размера) предназначены для обработки корпусных деталей, имеющих точные отверстия, связанные между собой точными расстояниями.
Наибольший вес обрабатываемой детали (при равномерно распределенной нагрузке на стол станка) 2000 кг.
На станках может производиться: сверление, растачивание, зенкерование, развертывание отверстий, обтачивание торцов радиальным суппортом (модели 2620 и 2620А), фрезерование торцовыми фрезами и нарезание внутренней резьбы расточным шпинделем, а также нарезание резьбы радиальным суппортом (модели 2620 и 2620А) при продольном движении стола.
Станки моделей 2620 и 2620А имеет радиальный суппорт на встроенной планшайбе и нормальный выдвижной шпиндель диаметром 90 мм и отличаются большей универсальностью. Они, преимущественно, предназначаются для работ, требующих применения радиального суппорта при обтачивании торцовых поверхностей и при консольном растачивании отверстий больших диаметров.
39 Компоновка горизонтально-расточных станков отличается от традиционной отсутствием люнетной стойки, сильно развитыми направляющими, высокой точностью установки поворотного стола. Благодаря высокой жесткости и точности перемещений и поворота на этих станках можно обрабатывать соосные отверстия в противоположных стенках деталей с помощью консольных оправок, что резко сокращает время, затрачиваемое на смену инструмента. Точность позиционирования у современных горизонтально-расточных станков соответствует классам П и В.
Дискретность задания перемещений по осям X, X', Z, Y, W, W', R' 0,001; 0,05; 0,01 мм, по В' 0,001°; 0,005°; 0,01°. По уровню автоматизации новые станки (включая станки с автоматической сменой инструмента и заготовок) изготовляют с цифровой индикацией и ЧПУ.
Станки оснащают позиционными, контурными и комбинированными устройствами ЧПУ, которые имеют от трех до пяти управляемых координат. От программы осуществляется перемещение рабочих органов, изменение частот вращения и подач, зажим и отжим рабочих органов, включение и выключение охлаждения и т. д.
Привод главного движения горизонтально-расточных станков с ЧПУ выполняют в виде регулируемого двигателя постоянного тока в сочетании с коробкой скоростей, реже - асинхронного двигателя с механическим вариатором или с многоступенчатой коробкой скоростей.
40
Координатно-расточный станок мод. 2д450амф2
Станок имеет числовое программное управление и автоматическую смену инструмента.
При работе по программе на станке предусматриваются следующие режимы: автоматический, полуавтоматический, ввод информации вручную. Кинематическая схема станка приведена на рис. 92.
Рис. 92 Кинематическая схема станка мод. 2Д450АМФ2
Главное движение
Главное движение (вращение расточного шпинделя) - осуществляется от регулируемого электродвигателя постоянного тока (Nн=2 кВт, nн = 700 об/мин) через клиноременную передачу и двухступенчатую коробку скоростей.
Пределы частот вращения расточного шпинделя 32-2000 об/мин. Переключение ступеней коробки скоростей осуществляют с помощью двигателя РД-09, который через зубчатые колеса 20-30 поворачивает эксцентрик, перемещающий блок зубчатых колес.
Движение вертикальной подачи
Движение вертикальной подачи (перемещение гильзы шпинделя в вертикальном направлении) осуществляется от отдельного электродвигателя ЭЛПО/245М с широким диапазоном регулирования (Nн = 0,245 кВт, пн = 3600 об/мин).
Вертикальная рабочая подача (мм/мин) включена муфта М1.
Пределы рабочих подач шпинделя - от 2 до 250 мм/мин.
Ускоренная подача (мм/мин) включена муфта М2:
Медленное перемещение гильзы шпинделя вручную осуществляют маховиком, а быстрое - рукояткой:
Установочное вертикальное перемещение шпиндельной коробки осуществляется от отдельного привода (на схеме не показан). Контроль величины перемещения гильзы или шпиндельной коробки осуществляют датчиком обратной связи ДОС.
Перемещение стола
Перемещение детали в прямоугольной системе координат осуществляется движением стола по направляющим салазок и салазок по направляющим станины.
Перемещение стола и салазок осуществляется от двух независимых электродвигателей постоянного тока ЭЛ111/245 (Nн =0,245 кВт, пн = 3600 об/мин) с регулируемой в широком диапазоне частотой вращения, благодаря чему имеется возможность применять скорости перемещения, необходимые для фрезерования плоскостей, а также осуществлять ускоренные перемещения при установке координат. Уравнения кинематического баланса цепей продольного и поперечного перемещения стола:
Установку оси отверстия на детали относительно оси шпинделя осуществляют перемещением стола или салазок, которое контролируют специальным оптическим устройством. Оно установлено на точных стеклянных линейках, закрепленных в одном случае на столе (подвижная линейка), в другом - на станине (неподвижная линейка).
41
. Бесконсольно-фрезерные станки:
4.2. БЕСКОНСОЛЬНЫЕ ФРЕЗЕРНЫЕ СТАНКИ
Бесконсольные вертикальные и горизонтальные фрезерные станки (рис.4.4) отличаются тем, что в вертикальном направлении по направляющим стойки 5 перемещается шпиндельная бабка 4. А салазки 2, несущие стол 3 перемещаются только в горизонтальной плоскости по направляющим станины 1 (крестовый стол). При такой компоновке значительно повышается жесткость станка. Такие станки целесообразно использовать при обработке крупногабаритных заготовок торцовыми фрезами.
Рис. 4.4. Бесконсольно-фрезерные станки:
а) вертикальный; б) горизонтальный.
1 – станина, 2 – горизонтальный, 3 – стол, 4 – шпиндельная бабка, 5 – вертикальная стойка.
42 ПРОДОЛЬНО - ФРЕЗЕРНЫЕ СТАНКИ
Продольно-фрезерные станки бывают одностоечные и двухстоечные (рис. 4.5).
Эти станки предназначены для обработки плоскостей крупногабаритных деталей в основном торцовыми фрезами. Поэтому их стол 2 имеет лишь одну степень свободы – перемещается прямолинейно по направляющим станины 1, остальные движения сообщаются шпиндельным головкам. Главным движением в станке является вращение шпинделей. Продольно-фрезерные станки по компоновке отличаются числом стоек (4) и фрезерных головок (3). Есть одностоечные и двухстоечные станки без поперечины. У них на каждой стойке находится одна головка. Большинство станков с поперечиной 6 на двух стойках. Число фрезерных головок разное от 1 до 4.
Рис. 4.5. продольно-фрезерный станок:
1 – станина, 2 – стол, 3 – шпиндельные головки, 4 – стойки, 5 – балка, 6 – боковые шпиндельные головки, 7 – траверса.
43 Расположение
составных частей консольно-фрезерного
станка с ЧПУ
Станина - 6Р13Ф3-37.10
Редуктор - 6Р13Ф3-37.25
Консоль - 6Р13Ф3-37.61
Короб электромонтажный - 6Р13Ф3-37.068
Стол и салазки - 6Р13Ф3-37.70
Электрооборудование - 6Р13Ф3-37.80
Вертикальный фрезерный станок 6Р13Ф3 предназначается для обработки разнообразных деталей сложного профиля из стали, чугуна, труднообрабатываемых цветных металлов, главным образом торцовыми и концевыми фрезами, сверлами в среднесерийном и мелкосерийном производстве.
Фрезерный станок модели 6Р13Ф3-37 оснащен устройством ЧПУ НЗЗ-2М, позволяющим вести обработку изделий в режиме программного управления одновременно по трем координатам: продольной и поперечной (перемещение стола и салазок с обрабатываемой деталью) и вертикальной (перемещение ползуна с инструментом).
Программируемое вертикальное перемещение (координата Z) осуществляется движением ползуна. Консоль фрезерного станка с ЧПУ 6Р13Ф3 имеет только установочное перемещение, исключающее позиционирование и работу в следящем режиме консоли, имеющей значительную массу. Повышается точность обработки, так как в процессе резания консоль всегда зажата.
Станок оснащен следяще-регулируемыми приводами подач с высокомоментными электродвигателями постоянного тока.
Применение следящих регулируемых приводов с двигателями постоянного тока обеспечивает скорость быстрого перемещения стола до 4,8 м/мин и исключает брак детали при контурной обработке в случае отказа привода подач по одной из координат.
44
|
|
Рисунок 1 - Внешний вид станка 5А12 |
Рисунок 2 - Схема нарезания зубьев долбяком: а - исходное положение долбяка, б - в конце обработки; 1 - долбяк, 2 - заготовка. |
Станок имеет следующие основные узлы и механизмы:
1 - нижняя часть станины,
2 - средняя часть станины,
3 - маховик ручного перемещения долбяка по вертикали,
4 - щиток кривошипно-шатунного механизма,
5 - каретка штосселя,
6 - колпак,
7 - валик ручного вращения долбяка,
8 - штоссель,
9 - стол,
10 - маховик для ручного вращения стола.
На данном станке можно нарезать блоки зубчатых колес с малыми расстояниями между зубчатыми венцами.
В
качестве режущего инструмента
применяют долбяк.
Рисунок 3 - Кинематическая схема станка 5А12
45
Зубофрезерные станки, работающие по методу огибания
Рис. 1. Зубофрезерные станки, работающие по методу огибания
Рис. 2. Принципиальная схема настройки зубофрезерного станка
Рис. 3. Структурная схема зубофрезерного станка
Зубофрезерные станки, работающие по методу огибания, предназначены для обработки цилиндрических колес с прямыми и косыми зубьями, а также червячных колес (см. рис. 3).
При нарезании зубьев вращения фрезы и заготовки должны быть согласованы между собой. Чтобы обеспечить это условие, в станке имеется специальная цепь, принципиальная схема настройки которой показана на рис. 2. Если колесо имеет z зубьев и совершит пк оборотов, а фреза за это время сделает nф оборотов, то передаточное отношение ix между числом оборотов колеса и фрезы.
Рассмотрим формообразующие движения станка для образования профиля зубьев, для чего обратимся к структурной схеме станка (рис. 3). При нарезании прямозубого цилиндрического колеса необходимо осуществить главное вращательное движение фрезы В1. регулируемое органом настройки iv вращение заготовки B2, согласованное с вращением фрезы Вх; перемещение суппорта с фрезой параллельно оси стола П, настраиваемое органом i3. Суппорт может перемещаться или сверху вниз, или снизу вверх. При перемещении суппорта сверху вниз осуществляется встречное фрезерование, В этом случае при вращении фрезы зубья движутся навстречу срезаемому слою металла. При перемещении суппорта снизу вверх происходит попутное фрезерование. В этом случае зубья фрезы движутся попутно со срезаемым слоем металла. При попутном фрезеровании допускается увеличение скорости резания на 20—25% по сравнению со встречным методом.
46
Зубошевинговальный станок 5В702ВФ2. Зубошевинговальный станок 5В702ВФ2 (рис. 5.3) является полуавтоматом и предназначен для чистовой обработки прямозубых и косозубых цилиндрических колес внешнего зацепления в условиях мелкосерийного и серийного производства. Обработка производится как с продольной подачей вдоль оси колеса, так и с диагональной, а также методами поперечного и врезного шевингования. На станке также можно обрабатывать зубчатые колеса с бочкообразной и конусной формой зуба. Возможна работа с адаптивным приводом до плотного зацепления шевера и детали, исключающего холостые ходы при неполном припуске.
Рис. 5.3. Зубошевинговальный станок 5В702ВФ2
озиция на рис. 5.3 |
Назначение частей и органов управления |
1 |
Станина |
2 |
Квадрат для поворота плиты на угол подачи |
3 |
Шкала и нониус установки корпуса копира |
4 |
Корпус копира |
5 |
Бабка левая |
6 |
Шеверная головка |
7 |
Ограждение |
8 |
Каретка |
9 |
Электродвигатель вращения шевера |
10 |
Шкала и нониус установки шеверной головки на угол скрещивания |
11 |
Квадрат поворота шеверной головки на угол скрещивания |
12 |
Наладочный пульт управления |
13 |
Электрошкаф |
14 |
Рабочий пульт управления |
15 |
Стол |
16 |
Электродвигатель продольной подачи |
17 |
Шкала и нониус установки поворотной плиты на угол подачи |
47
48 Конструкция многоцелевого станка модели ИР 500 ПМФ4 приведена на рис. 10.26. Многоцелевой сверлильно-фрезерно-расточный станок предназначен для обработки корпусных деталей на поворотном столе.
Рис. 10.26. Многоцелевой сверлильно-фрезерно-расточный станок мод. ИР 500 ПМ1Ф4М
На станке производятся сверление, зенкерование, развертывание, растачивание точных отверстий по координатам, фрезерование по контуру с линейной и круговой интерполяцией, нарезание резьбы метчиками.
Поворотный стол станка устанавливается в 72 позиции c точностью ±5", что позволяет обрабатывать соосные отверстия консольным инструментом с поворотом стола. Станок оснащается гидромеханическим устройством для автоматической смены столов-спутников, которое находится перед станком и обеспечивает ориентацию и фиксацию стола-спутника и его загрузку -разгрузку.
Станок может поставляться в комплекте с накопителем столов-спутников это уже гибкий производственный модуль. Высокая степень автоматизации станка позволяет встраивать его в автоматические линии и автоматизированные производства с управлением от ЭВМ. Класс точности станка П. Техническая характеристика станка приведена ниже:
Кинематика станка приведена на рис. 10.27.
Главное движение шпиндель (Ш) получает от регулируемого электродвигателя постоянного тока M1 (N= 14 кВт, n = 1000 мин^-1) через двухступенчатую коробку скоростей.
49
Инструментальные магазины многоинструментальных станков: а, б, — дисковые и барабанные; в—м — цепные
Для создания запаса инструментов, необходимых для обработки различных заготовок, применяют магазины различной емкости — в зависимости от назначения ручного фрезерного станка. Для обработки деталей с малым числом плоскостей и отверстий достаточно нескольких инструментов, а для обработки сложных корпусов, обрабатываемых с нескольких сторон, с множеством точных отверстий, требуется несколько десятков инструментов. В современных МС нашли применение инструментальные магазины следующих основных типов, дисковые, барабанные и цепные. Дисковые магазины служат для накопления сравнительно небольшого числа инструментов (обычно до 30 шт.). Барабанные магазины отличаются от дисковых только конструкцией, способом размещения инструментов. Магазины увеличенной емкости удобнее делать цепными.
Изменяя конфигурацию цепи с гнездами для инструментов, магазин можно расположить вертикально, наклонно, горизонтально, придавать ему прямоугольную, квадратную, треугольную и более сложную форму. Благодаря этому даже при большой емкости (до 60 — 100 инструментов и более) магазин получается компактным. Один из участков цепи можно разместить недалеко от шпинделя с тем, чтобы упростить смену инструментов, а участок, где магазин загружают инструментами, расположить так, чтобы это было наиболее удобно оператору и наладчику станка. Значительно реже применяют многоярусные дисковые или барабанные магазины большой емкости. Оси инструментов в них располагают параллельно оси поворота магазина или радиально. Главные недостатки таких магазинов - значительные габариты и усложнение автоматической загрузки - разгрузки. Выбор типа магазина зависит от назначения, типа и компоновки МС. Показано, что из всего многообразия корпусных деталей средних размеров, которые целесообразно обрабатывать на МС, в среднем примерно 18 % требуют применения не более 10 инструментов, 50 % - до 20, 17 % - до 30, 10% - 40 и 5% - до 50 инструментов. Только для особо сложных МС может потребоваться до 100 инструментов и более. Вот почему наибольшее распространение получили магазины емкостью до 30 инструментов, преимущественно дисковые и барабанные. Цепные магазины чаще всего имеют емкость порядка 40 - 60 инструментов. Значительно реже, в основном на крупных МС, используют магазины емкостью 100 — 120 инструментов и более. Независимо от типа магазина и устройства АСИ режущие инструменты устанавливают в шпиндель станка или в гнездо магазина не непосредственно, а с помощью стандартных инструментальных оправок, в которых инструменты закрепляют, а если требуется, то и настраивают на заданный размер вне станка.
50. Устройства для закрепления инструментов в шпинделях многоцелевых станков
Шпиндельные устройства многоцелевых станков достаточно сложны, так как во внутреннее отверстие шпинделя входят зажимные устройства, осуществляющие автоматическое закрепление и освобождение инструментальных оправок. Затяжка инструмента чаще всего производится пакетом тарельчатых пружин, разжим -от гидроцилиндра. Для закрепления инструмента используют резьбовые, цанговые, байонетные зажимы или зажимы с радиально-движущимися элементами
Шарики 1 при перемещении втулки 2 захватывают хвостовик инструмента 3. При обратном ходе против шариков оказывается расточка втулки 2 и хвостовик инструмента освобождается. Оправки инструмента имеют, как правило, наружный конус 50. Крутящий момент от шпинделя к оправке передается с помощью торцовых шпонок 4, и, следовательно, ими же осуществляется угловое ориентирование шпинделя.
52. Токарные многоцелевые станки: выполняемые операции, исполнительные движения, компоновки, основные узлы, структуры приводов.
Выполняемые операции:
Токарные многоцелевые станки (ТМС) предназначены для
высокопроизводительной обработки в автоматическом режиме заготовок типа
тел вращения в условиях мелкосерийного и серийного производства.
Применение данных станков целесообразно при обработке заготовок малых и
средних размеров, для которых необходимо выполнение токарных, а также
сверлильных и фрезерных операций, следующих за токарной обработкой, в
объеме, не превышающем 20-25% от общего числа операций. К числу таких
операций относят:
-- фрезерование плоских и объемных поверхностей;
-- сверление отверстий, оси которых могут быть расположены
параллельно или перпендикулярно оси детали, а также под углом;
-- нарезание резьб на торцовых или цилиндрических поверхностях;
--расточка соосных ступенчатых отверстий, расположенных под
произвольным углом к оси детали, а также нарезание крупных резьб;
--шлифование;
--зубонарезание.
58. Принцип агрегатирования металлорежущих станков. Классификация агрегатных станков и преимущества
Агрегатирование - это метод конструирования машин и оборудования путем применения ограниченного числа унифицированных и стандартных деталей и сборочных единиц, обладающих функциональной и геометрической взаимозаменяемостью.
Агрегатирование позволяет скомпоновать новую машину с уже спроектированных и освоенных производством сборочных единиц и агрегатов, а не создавать ее как оригинальную, единственную в своем роде. Это позволяет значительно увеличить мощности предприятий без лишних затрат, без увеличения производственных площадей.
Принципы агрегатирования нашли применение во всех отраслях машиностроения. В настоящее время метод агрегатирования находит особенно широкое применение при создании технологического оборудования и средств механизации самого различного назначения, например металлорежущих станков, буровых станков, очистных комбайнов и др.
Преимущества агрегатных станков:
1) высокая производительность, обусловленная многоинструментальной обработкой заготовок одновременно с нескольких сторон; годовой эффект от использования агрегатных станков значительно выше по сравнению с универсальными станками;
2) простота изготовления благодаря унификации механизмов и деталей;
3) сокращение сроков проектирования;
4) возможность многократного использования части агрегатов при изменении объекта производства;
5) возможность обслуживания станков операторами низкой квалификации.
59. Компоновки агрегатных станков, основные узлы.
Компоновка агрегатного станка. Его основные узлы.
Типичная компоновка агрегатного станка и его составляющих элементов показана на рис. 3. Станина 1, поворотный делительный стол 2 и силовые головки 3 монтируются на боковых станинах 4, стойке 5 и проставочной плите 6. При многошпиндельной обработке отверстий к силовым узлам крепят сверлильные насадки 7, а при фрезеровании плоскостей — фрезерные головки 8. В шкафу 10 размещена электроаппаратура станка, а на его пульте 9 сосредоточено управление.
Специальные механизмы, например приспособления для установки и закрепления заготовок, имеют отдельные нормализованные элементы.
Силовые механизмы агрегатных станков предназначены для сообщения режущим инструментам главного движения и движения подачи (силовые столы).
Станина. Основным несущим элементом агрегатных станков являются станины. У станков малых размеров на станине располагаются силовые головки, поворотный стол и зажимное приспособление с деталью. У агрегатных станков крупных размеров поворотные и делительные столы или приспособления располагаются на средней станине и к ним присоединяют боковые станины, несущие силовые головки. На агрегатных станках применяются станины круглые, прямоугольные, односторонние, двусторонние, трехсторонние, средние и боковые.
Силовые головки. Силовая головка — это узел агрегатного станка, который несет инструментальную насадку и выполняет все движения инструмента: главное вращательное движение, движение подачи, ускоренный подвод и ускоренный отвод. Силовые головки, шпиндель которых совершает одновременно главное движение и движение подачи, называются самодействующими.
Если шпиндель совершает только главное движение, а движение подачи осуществляется другими механизмами, то силовые головки называются несамодействующими. Применение несамодействующих головок увеличивает площадь, занимаемую станком, но упрощает обслуживание и ремонт. По роду привода силовые головки подразделяются на электромеханические, гидравлические и пневмогидравлические. По номинальной мощности на шпинделе силовые головки делятся на малогабаритные (мощностью 0,08...0,5 кВт), малые (0,15...2,8 кВт) и нормальные (1,6...30 кВт). Силовые головки выпускают с выдвижной пинолью и с перемещаемым корпусом. По точности выполнения силовые головки бывают нормальной и повышенной точности.
Для привода главного движения (вращательного) в силовых головках агрегатных станков обычно применяют электродвигатели, а для привода подачи - кулачки, винтовые передачи, цилиндры (пневматические, гидравлические и пневмогидравлические).
Поворотные делительные столы. Для периодического перемещения заготовок с одной позиции на другую с точной фиксацией на каждой позиции применяются поворотные делительные столы. Конструкции поворотных столов делятся на горизонтальные и вертикальные в зависимости от плоскости поворота в пространстве. Поворотные столы выполняют в виде круглых или кольцевых планшайб, реже — в виде узлов с прямолинейным перемещением в горизонтальной плоскости или барабанов — для поворота в вертикальной плоскости.
Силовые столы агрегатных станков предназначены для установки на них шпиндельных узлов с самостоятельным приводом вращения (фрезерных, сверлильных, расточных бабок и др.) или приспособлений с обрабатываемой заготовкой для выполнения рабочих циклов с прямолиненой подачей. Силовые столы агрегатных станков имеют гидравлический или электромеханический привод. Столы выпускают шести типоразмеров, нормальной и повышенной точности с максимальной тяговой силой подачи 1-100 кН и мощностью 1-30 кВТ. Гидравлические столы могут быть вертикального и горизонтального исполнения.
Инструментальные бабки. При использовании для компоновки агрегатных станков силовых столов различных типов в комплекте с ними применяют соответствующие инструментальные бабки. Они предназначены для сообщения режущим инструментам вращательного движения. При сверлении, зенкеровании, развертывании применяют сверлильные бабки, при фрезеровании — фрезерные бабки.
Сверлильная бабка — это литая чугунная коробка с одной парой цилиндрических зубчатых колес или клиноременной передачей, понижающих вдвое скорость вращения выходного вала. Бабка имеет с одной стороны фланцевый электродвигатель соответствующей мощности, а с другой — присоединительную плоскость, которая служит для крепления многошпиндельной коробки.
Фрезерные бабки включают редуктор, а также механизм для установочного перемещения пиноли, внутри которой размещается шпиндель, сообщающий вращательное движение фрезе. Изготовляют шесть типоразмеров фрезерных бабок: три из них предназначены для фрезерования деталей из легких сплавов и цветных металлов, остальные — для обработки деталей из черных металлов.
