- •1) Требования к заготовкам с точки зрения последующей обработки
- •6) Горячая обработка металлов давлением
- •7) Холодная обработка металлов давлением
- •Характеристики быстрорежущих сталей Горячая твердость
- •Красностойкость
- •Сопротивление разрушению
- •Маркировка быстрорежущих сталей
- •Применение[править | править вики-текст]
- •Применение[править | править вики-текст]
- •[Править | править вики-текст]
- •Классификация инструментальных сталей[править | править вики-текст]
- •Легированные инструментальные стали.
- •16) Резец состоит из:
- •20) Углы токарных резцов
- •Основные параметры токарных резцов
- •Влияние главных углов резца на процесс резания
- •Строгание в металлообработке[править | править вики-текст]
- •Станки и инструмент для долбления[править | править вики-текст]
- •Долбление зубчатых колёс[править | править вики-текст]
- •Классификация свёрл в зависимости от конструктивных особенностей сверла бывают:
- •Также выделяют типы сверл специального назначения:
- •Существует также классификация сверл в зависимости от: Формы и вида хвостовика:
- •Способа изготовления:
- •Предназначения для работы с различными материалами:
- •Основные правила работы со сверлом:
- •27) Назначение и особенности зенкерования
- •Содержание
- •Назначение зенкерования[править вики-текст]
- •31) Развертки.
- •35) Элементы фрезы
- •38) Процесс - нарезание - резьба
- •40) Нарезание резьб круглыми плашками
- •1. Область применения и инструменты.
- •2. Приемы нарезания резьбы плашкой.
- •Нарезание резьб метчиками
- •42) Фрезерование резьб.
1) Требования к заготовкам с точки зрения последующей обработки
Помимо минимальной, металлоемкости и трудоемкости к заготовкам предъявляют ряд требований с точки зрения их последующей механической обработки. К числу таких требований относятся: минимальные припуски на обработку; рациональное расположение литейных и штамповочных уклонов; повышенная точность размеров; минимизация или полное устранение дефектных слоев и др.
Минимизация припусков уменьшает количество проходов и переходов механической обработки и тем снижает ее стоимость.
Штамповочные и литейные уклоны ограничивают возможность использования отдельных поверхностей заготовки в качестве технологических баз при механической обработке, снижают точность обработки. Соответствующим выбором способа получения заготовки конструктор может создать наиболее приемлемую ее форму, позволяющую осуществить механическую, обработку с наименьшими трудозатратами. Основным требованием здесь является такое расположение плоскости разъема штампа или литейной формы, при котором установочные поверхности заготовки будут лишены уклонов и следов разъема.
Точность размеров заготовок, получаемых различными способами, колеблется от сотых долей до нескольких десятков миллиметров. Естественно при этом стремление получить точность заготовки максимально приближенной к требованиям чертежа готовой детали. В этом-случае иногда удается обойтись без механической обработки. Особенно возрастают требования к точности заготовок и стабильности размеров при обработке их на прутковых автоматах, станках типа «обрабатывающий центр», в гибких производственных системах, робототёхнических комплексах и пр. Низкая точность заготовок в автоматизированном производстве часто является причиной отказа сложных систем и линий. Поэтому точность заготовок перед запуском их на обработку в автоматизированном производстве часто приходится повышать путем предварительной обработки базовых поверхностей.
Наличие дефектного слоя на поверхности, подлежащей механической обработке, с одной стороны, приводит к увеличению припусков, с другой - к снижению стойкости режущего инструмента. Дефектный слой у чугунных отливок, получаемых в песчаных формах по деревянным моделям, составляет 1...5 мм, у поковок - 1,5...3 мм, у штампованных поковок-0,5,. .1,5, у горячекатаного проката - 0,5...1,0 мм. Без учета влияния вышеперечисленных факторов на последующую механическую обработку невозможно квалифицированно выбрать способ получения заготовки.
2) СУЩНОСТЬ ЛИТЕЙНОГО ПРОИЗВОДСТВА
Литейное производство — отрасль машиностроения, занимающаяся изготовлением
фасонных заготовок или деталей путем заливки расплавленного металла в
специальную форму, полость которой имеет конфигурацию заготовки (детали).
При охлаждении залитый металл затвердевает и в твердом состоянии сохраняет
конфигурацию той полости, в которую он был залит. Конечную продукцию
называют отливкой. В процессе кристаллизации расплавленного металла и
последующего охлаждения формируются механические и эксплуатационные свойства
отливок.
Литьем получают разнообразные конструкции отливок массой от нескольких
граммов до 300 т, длиной от нескольких сантиметров до 20 м, со стенками
толщиной 0,5—500 мм (блоки цилиндров, поршни, коленчатые валы, корпуса и
крышки редукторов, зубчатые колеса, станины станков, станины прокатных
станов, турбинные лопатки и т. д.).
Для изготовления отливок применяют множество способов литья:
в песчаные формы , в оболочковые формы, по выплавляемым моделям, в кокиль,
под давлением, центробежное литье и др. Область применения того или иного
способа литья определяется объемом производства, требованиями к
геометрической точности и шероховатости поверхности отливок, экономической
целесообразностью и другими факторами.
3) Литье в землю (литье в песчано-глинистые формы)
Литье в землю является сравнительно простым и экономичным технологическим процессом. Во многих отраслях машиностроения (автомобилестроение, станкостроение, вагоностроение и др.) при массовом производстве отливок чаще всего применяется этот метод.
Его технологические возможности:
в основном, в качестве материала отливок используется серый чугун, обладающий хорошей жидкотекучестью и малой усадкой (1%), малоуглеродистая сталь (< 0,35%С). Весьма ограничено производятся таким способом отливки из медных и алюминиевых сплавов. Качество металла отливок весьма низкое, что связано с возможностью попадания в металл неметаллических включений, газовой пористостью (из за бурного газообразования при заливки металла во влажную форму).
форма отливок может быть весьма сложной, но все же ограничена необходимостью извлечения модели из формы.
размеры отливки теоретически неограниченны. Таким способом получают самые крупные отливки (до сотни тонн). Это станины станков, корпуса турбин и т. д.
точность получаемых отливок обычно грубее 14 квалитета и определяется специальными нормами точности.
шероховатость поверхности отливок превышает 0,3мм, на поверхности часто наличествуют раковины и неметаллические включения. Поэтому сопрягаемые поверхности деталей, заготовки которых получают таким методом, всегда обрабатывают резанием.
Литье по выплавляемым моделям
- это процесс, в котором для получения отливок применяются разовые точные неразъемные керамические оболочковые формы, получаемые по разовым моделям с использованием жидких формовочных смесей.
Литье по выплавляемым моделям обеспечивает получение сложных по форме отливок массой от нескольких грамм до десятков килограмм, со стенками толщиной от 0,5 мм и более, с поверхностью, соответствующей 2—5-му классам точности (ГОСТ 26645-85), и с высокой точностью размеров по сравнению с другими способами литья.
По выплавляемым моделям отливают лопатки турбин, режущий инструмент (фрезы, сверла), кронштейны, карабины, мелкие детали автомобилей, тракторов.
Габариты: максимальный диаметр, высота, длина, ширина – 300 мм; толщина стенок – от 3 мм.
Масса: от 2 г до 20 кг (при художественном литье масса не ограничена)
Марки выплавляемых металлов:
стали 25Л, 45Л, 35НГМЛ, 40ХНГМЛ, 7Х3, 30Х13, 95Х18, 20ХМЛ, 25ГСЛ;
стали со специальными свойствами 75Х28Л, 75Х24ТЛ, 45Х26Н2СЛ, 12Х18Н9ТЛ,40Х24Н12СЛ, 20Х14Н15С4Л, 20Х25Н19С2Л, 35Х25Н35С2Л, быстрорез Р6М5ЦЛ;
чугуны серые, высококачественные всех марок, АЧС – 2, ИЧХ17НМФЛ, ЧХ25МФТЛ;
бронзы БрАЖ9 – 4, БрА10Ж3Мц2, БрОЦС –4 –4 –17;
алюминий АК7ч, АК8л
Применение точного литья целесообразно для изготовления деталей:
из стали и сплавов, трудно поддающихся или не поддающихся механической обработке (режущий инструмент, нуждающийся только в заточке его режущей кромки на наждачном круге);
сложной конфигурации, требующей длительной и сложной механической обработки, большого количества приспособлений и специальных режущих инструментов, с неизбежной потерей ценного металла в виде стружки при обработки (турбины лопатки, части механизма швейных машин, охотничьих ружей, счетных машин);
художественной отливки из черных и цветных сплавов.
Литье в кокиль
Кокильное литье – это литье металла, осуществляемое свободной заливкой кокилей. Кокиль – металлическая форма с естественным или принудительным охлаждением, заполняемая расплавленным металлом под действием гравитационных сил. После застывания и охлаждения, кокиль раскрывается и из него извлекается изделие. Затем кокиль можно повторно использовать для отливки такой же детали.
Данный метод широко применяется при серийном и крупносерийном производстве.
Точность отливок обычно соответствует классам 5 -9 для отливок из цветных металлов и классам 7-11 для отливок из черных металлов (ГОСТ 26645-85). Точность отливок, полученных в кокиле. По массе примерно на один класс выше по сравнению с песчаными формами.
Литье в кокиль ограничено возможностью изготовления крупногабаритных кокилей и обычно масса отливок не превышает 250кг.
Широкая гамма изделий для всех отраслей промышленности (детали двигателей, заготовки венцов зубчатых колес, корпусных деталей и т. д.).
Марки выплавляемых металлов:
алюминиевые сплавы: АЛ2, АЛ4, АЛ9, АК12, АК9, АК7;
магниевые сплавы МЛ5, МЛ6, МЛ12, МЛ10;
медные сплавы;
отливки из чугуна;
отливки из стали: 20Л, 25Л, 35Л, 45Л, также некоторые легированные стали 110Г13Л, 5ХНВЛ
Литье под давлением
Принцип процесса литья под давлением основан на принудительном заполнении рабочей полости металлической пресс-формы расплавом и формировании отливки под действием сил от пресс-поршня, перемещающегося в камере прессования, заполненной расплавом.
Высокая точность, класс 1- 4 по ГОСТ 26645-85 (10 квалитет), низкая шероховатость поверхности (практически не требует обработки). Возможность изготовления отливок значительной площади с малой толщиной стенок (менее 1 мм).
Сплавы для литья:
цинковые сплавы: ЦАМ4-1, ЦА4М3;
алюминиевые сплавы АК12, АК9, АК7, АЛ2, АЛ9, АЛ4;
магниевые сплавы: МЛ3, МЛ5;
медные сплавы: ЛЦ40Сд, ЛЦ16К4.
Литье под давлением является наиболее прогрессивным способом изготовления отливок из цветных сплавов (цинковых, алюминиевых, магниевых, латуни), в последнее время широко применяется в точном приборостроении, автомобильной, тракторной, электротехнической и других отраслях промышленности. Весьма разнообразны конструктивные особенности отливок, получаемых в формах литья под давлением: от простых типа опорных плит, колосников, болванок и втулок, до сложных типа картеров двигателей, головок блоков цилиндров, ребристых корпусов электродвигателей и стоек плугов. Литьем под давлением получают детали с особыми свойствами: повышенной герметичности, износостойкости (например, чугунные с поверхностным и местным отбелом), окалиностойкости и др. Важно подчеркнуть, что под давлением производят детали различного, в том числе весьма ответственного назначения.
Литье под давлением является рациональным только в серийном — массовом производстве из-за трудностей изготовления формы и её высокой стоимости.
Литье под регулируемым давлением
К литью под регулируемым давлением относят способы литья, сущность которых заключается в том, что заполнение полости формы расплавим и затвердевание отливки происходит под действием избыточного давления воздуха или газа. В практике наибольшее применение нашли следующие процессы литья под регулируемым давлением: литье под низким давлением, литье под низким давлением с противодавлением, литье вакуумным всасыванием, литье вакуумным всасыванием с кристаллизацией под давлением (вакуумно-компрессионное литье).
Главными преимуществами являются возможность получения заготовок с минимальными припусками на механическую обработку или без неё и минимальной шероховатостью необработанных поверхностей, а также обеспечение высокой производительности и низкой трудоёмкости изготовления деталей.
Применяется для литья поршней, головок блока цилиндров из алюминиевых сплавов и т. д., втулок, элементов подшипников.
Литье в оболочковые формы
Литье в оболочковые формы появилось как попытка автоматизировать изготовление разрушаемых форм. На нагретую модель, выполненную из металла, насыпается смесь песка с частицами неполимеризованного термореактивного материала. Выдержав эту смесь на поверхности нагретой заготовки определенное время, получают слой смеси, в котором частицы пластмассы расплавились и полимеризовались, образовав твердую корку (оболочку) на поверхности модели. При переворачивании резервуара излишняя смесь ссыпается, а корка, с помощью специальных выталкивателей, снимается с модели. Далее, полученные таким образом оболочки , соединяют между собой склеиванием силикатным клеем, устанавливают в опоках и засыпают песком, для обеспечения прочности при заливке металла. Также получают керамические стержни для формирования внутренних полостей отливок.
Литье в оболочковые формы по сравнению с литьем в песчано-глинистые формы имеет существенное преимущество — простоту автоматизации получения форм. Но надо отметить, что литьем в оболочковые формы невозможно получать крупногабаритные отливки и изделия особо сложной формы.
Литье в оболочковые формы отливают: радиаторы парового и водяного отпления, детали автомобилей и ряда машин.
Центробежное литье
Принцип центробежного литья заключается в том, что заполнение формы расплавом и формирование отливок происходят при вращение формы либо вокруг горизонтальной, вертикальной или наклонной оси, либо при её вращение по сложной траектории.
Технология центробежного литья обеспечивает целый ряд преимуществ, зачастую недостижимых при других способах, к примеру:
высокая износостойкость.
высокая плотность металла.
отсутствие раковин.
в продукции центробежного литья отсутствуют неметаллические включения и шлак.
Центробежным литьем получают литые заготовки, имеющие форму тел вращения:
втулки
венцы червячных колес
барабаны для бумагоделательных машин
роторы электродвигателей.
Наибольшее применение центробежное литье находит при изготовлении втулок из медных сплавов, преимущественно оловянных бронз.
По сравнению с литьем в неподвижные формы центробежное литье имеет ряд преимуществ: повышаются заполняемость форм, плотность и механические свойства отливок. Однако для его организации необходимо специальное оборудование; недостатки, присущие этому способу литья: неточность размеров свободных поверхностей отливок, повышенная склонность к ликвации компонентов сплава, повышенные требования к прочности литейных форм.
Литье по газифицируемым моделям
Технология литья по газифицированным моделям является одной из самых перспективных и развивающихся в настоящее время технологий литья. Эту технологию можно отнести к способу литья по выплавляемым моделям, но отличие в отличии от данных сходных способов модель удаляется (газифицируется) не до заливки, а в процессе заливки формы металлом, который вытесняя (замещая) «испаряющуюся модель» из формы, занимает освободившиеся пространство полости формы.
Основными преимуществами отливок, изготовленных по этой технологии являются следующие:
высокая точность получаемых отливок даже при сложной конфигурации. (7-12 класс по ГОСТ 26645-85)
качество и плотность металла в отливке обеспечивается за счет частичного вакуумирования в процессе литья.
высокое качество поверхности отливок (RZ 80) позволяет в некоторых случаях совсем отказаться от механической обработки, которая была бы необходима при другом способе изготовления.
минимальный припуск на механическую обработку если она всё же необходима.
полная идентичность отливок в серии.
Области применения литья по газифицированным моделям – это отливки различной серийности, от единичного производства до промышленных серий.
Материалы отливок – это практически все марки чугунов от СЧ15 до ВЧ-50, износостойкие ИЧХ. Стали – от простых углеродистых ст. 20-45 до высоколегированных, теплостойких и жаропрочных. Бронзы – практически все литейные марки бронз.
Основной развес отливок от 1 до 300 кг. Штучное изготовление – до 1 тн.
Непрерывное литье
Сущность способа состоит в том, что жидкий металл равномерно и непрерывно заливают в охлаждаемую форму-кристаллизатор с одного конца и в виде затвердевшего слитка (прутка, трубы, заготовки квадратного, прямоугольного или другого сечения). Затем его вытягивают специальным механизмом с другого конца. С помощью этого способа можно получать отливки из всех известных черных и цветных сплавов.
Способ литья |
Материалы отливок |
Форма и размеры |
Точность (квалитеты), шероховатость (Rz, мкм) |
Область применения |
Литье в песчано-глинистые формы |
Чугун, сталь, цветные металлы |
Крупногабаритные, сложной формы |
Грубее 14 кв Rz =300 |
Все отрасли машиностроения, от массового до единичного производства |
Литье в оболочковые формы |
Чугун, сталь, цветные металлы |
Масса менее 1т. Размеры и форма ограниченны |
Грубее 14 кв Rz =300 |
Серийное и массовое производство |
Литье в кокиль |
Алюминиевые и медные сплавы |
Масса до 250 кг, форма ограниченна условиями извлечения отливки из кокиля |
12-14 кв Rz >40 |
Серийное и массовое производство |
Литье под давлением |
Алюминиевые, цинковые, реже медные сплавы |
Масса до 200 кг, форма ограниченна условиями раскрытия прессформы |
7-12 кв Rz =0,63…40 |
Крупносерийное массовое производство |
Литье по выплавляемым моделям |
Сталь, спец. сплавы, медные сплавы |
Форма ограниченна, масса до 20 кг, в художественном литье не ограничена |
10-14 кв Rz =2,5…40 |
Серийное производство сложных по форме изделий, в том числе тугоплавких сплавов |
Центробежное литье |
Чугун, сталь, цветные металлы |
Форма тел вращения, трубы диаметром до 1200 мм и длинной 7000 мм |
9-11 кв |
Серийное и массовое производство |
Литье по газифицируемым моделям |
Чугун, сталь, бронза |
Масса от 1 до 300 кг Возможность получать детали сложной формы |
12-14 кв Rz =40 (для стали Rz=80) |
От единичного до массового производства |
Литье металла в ХТС |
Чугун, сталь, цветные металлы |
Масса от 5 кг до 5 т. Максимальные габариты 2500×2200×1200 |
10-12 кв Rz>40 |
От единичного до массового производства |
При непрерывном литье возможно получат получение слитка, трубы, профиля неограниченной длины и требуемого поперечного сечения. Способ непрерывного литья используют также и для получения слитков из цветных и черных сплавов. Практически все алюминиевые сплавы для передела прокаткой в листы, профили и другие изделия разливают в слитки данным методом.
Литье металла в ХТС
- формы из холодно-твердеющих смесей. COLD-BOX-AMIN -технология. Холодно-твердеющие смеси – это специальные смеси, которые после изготовления не требуют нагрева в сушильных печах. Благодаря связующим составляющим и отвердителям, они самозатвердевают на воздухе за 10-15 мин. Эта технология очень похожа на традиционную (литье металла в песчано-глинистые формы), только в виде связующего вещества для смесей песка применяют искусственные смолы. Для отверждения смол применяется продувка стержневых ящиков различными третичными аминами. Возможность получать отливки 7 класса точности по ГОСТ 26645-85.
Холодно-твердеющие смеси крайне редко применяются в качестве общих формовочных материалов вследствие высокой стоимости связующих и затруднительной регенерации смесей. Применение ХТС для изготовления форм экономически оправдано в том случае, когда отношение массы формы к массе заливки металла не превышает 3:1. Поэтому эти смеси используются преимущественно для изготовления стержней, позволяющих формовать полости в отливке.
Технология литья в ХТС позволяет обеспечить высокое качество поверхности литья, отсутствие газовых дефектов и засоров в отливке.
Виды литья в разовые формы:
Литье в песчаной форме – это расплавленный металл заливают в форму,а затем отливку извлекают путем разрушения формы ,приминияют во всех отраслях машиностроения,получают отливки различной формы.
Точность размеров достигает R=630…80 MKH Можно изготавливать отливки массой до 250 кг и толщиной стенок свыше 3мм
Преимущества
Дешевизна изготовления отлива
2)Возможность получения отлива от большой массы
3)подходит длялюбых материалов кроме тугоплавких
Недостатки:
1)Большая шереховатость
2)
5) Машиностроительные профили – длиномерные изделия (у которого один размер – длина значительно больше поперечных размеров) с определенной формой поперечного сечения. Данные о группе профилей, различающихся формой и размерами, называют сортаментом. Весь сортамент машиностроительных профилей, получаемых обработкой давлением, можно разделить на четыре основные группы: сортовые профили, листовой металл, трубы и периодические профили.
Сортовые профили (рис. 23, а) делят на профили простой геометрической формы (квадрат, круг, шестигранник, прямоугольник) и фасонные (швеллер, рельс, угловой и тавровый профили и т. д.).
Листовой металл из стали и цветных металлов используют в различных отраслях промышленности. В связи с этим листовую сталь, например, делят на автотракторную, трансформаторную, кровельную жесть и т. д. Расширяется производство листовой стали с оловянным, цинковым, алюминиевым и пластмассовым покрытиями. Кроме того, листовую сталь делят на толстолистовую (толщиной 4-160 мм) и тонколистовую (толщиной менее 4 мм). Листы толщиной менее 0,2 мм называют фольгой.
Трубы делят на бесшовные и сварные. Бесшовные трубы используют в наиболее ответственных случаях в трубопроводах, работающих под внутренним давлением, в агрессивных средах.
Периодические профили имеют периодически изменяющиеся форму и площадь поперечного сечения вдоль оси заготовки (рис. 23, б); их применяют как фасонную заготовку для последующей штамповки и как заготовку под окончательную механическую обработку.
4.1) . ОСНОВЫ ПРОКАТНОГО ПРОИЗВОДСТВА
Прокатка является одним из самых древних способов обработки давлением. Изображение примитивного прокатного стана мы встречаем на рисунках Леонардо да Винчи, датированных 1495 годом. Сначала прокатное производство играло подсобную роль. Прокатке подвергались только пластичные металлы. Из олова методом прокатки получали органные трубы, из свинца – оконные переплеты. В конце XVIII века начали прокатывать железо и малоуглеродистую сталь. Это была революция в технике. В 1862 году впервые был применен электродвигатель для привода прокатного стана.
Из всей выпускаемой стали прокатке подвергается примерно
75%. Основными потребителями прокатной промышленности являются:
метизная промышленность – 25%; машиностроение – 42%, строительство 20%;
остальные виды промышленности – 13%.
Существуют три основных вида прокатки: продольная, поперечная и поперечно-винтовая (рис.2.1).
При продольной прокатке деформация металла происходит между вращающимися в разные стороны валками. При этом уменьшается площадь поперечного сечения заготовки и увеличивается ее длина (рис. 2.1, а). Этот способ используется при изготовлении профильного и листового проката.
При поперечной прокатке валки, вращаясь в одном направлении, передают вращение заготовке, которая деформируется вдоль оси валков (рис. 2.1,б).
2
2 1 1 1
2
а) б) в)
Рис.2.1. Основные схемы прокатки: а – продольная; б – поперечная;
в поперечно-винтовая; 1 – валки; 2 заготовка
При продольно-винтовой прокатке благодаря расположению валков под углом заготовка кроме вращательного движения имеет еще и поступательное (рис. 2.1, в). Этим способом получают пустотелые заготовки для бесшовных труб и периодический прокат.
Способ продольной прокатки имеет наибольшее распространение. Участок, на котором металл подвергается деформации, назы
|
вают очагом деформации (рис. 2.2).
0
Px A Qx
B
Qy
Q Py
P l
D
0
Рис. 2.2. Схема действия сил в момент захвата заготовки валками
Дуга АВ, по которой валок соприкасается с прокатываемым металлом, называется дугой захвата lg. Проекция дуги захвата на горизонтальную ось называется длиной очага деформации l. Центральный угол α, соответствующий дуге захвата, называется углом захвата.
где D диаметр валка.
lд =
πDα
360°
,
Длина дуги захвата
зом.
Деформация при прокатке характеризуется следующим обраем:
Уменьшение высоты заготовки называется абсолютным обжатиΔh =
/ H − h / .
Отношение абсолютного обжатия к начальной высоте называется относительным обжатием и представляет собой степень деформации при прокатке:
U
= Δh ⋅100%
= H − h ⋅100%
.
H H
Отношение длины заготовки после прокатки L к длине заготовки до прокатки L0, характеризующее продольную деформацию, называется коэффициентом вытяжки.
μ
= L1
L0
|
= F0
F1
где F0, F1 площади поперечного сечения заготовки до и после прокатки.
Степень деформации U и коэффициент вытяжки μ являются важнейшими параметрами, необходимыми при проектировании технологического процесса прокатки.
Определим условия захвата заготовки валками. При соприкосновении заготовки с вращающимися валками последние будут оказывать на нее действие в виде приложения силы Р, направленной нормально к поверхности валков, и силы трения Q, направленной по касательной (см. рис. 2.2).
Для выявления действия этих сил на заготовку спроектируем их на горизонтальную ось и получим, что к точке начала соприкосновения металла с валками приложены две силы Рx и Qx, действующие в противоположных направлениях. Захват заготовки станет возможным, если Qx> PX.
Сила Qx
= Q ⋅ cos α
= P ⋅ f ⋅ cos α ,
где f коэффициент трения между валками и заготовкой,
α угол захвата.
В свою очередь, PX=P ⋅sin α.
Тогда условие захвата заготовки валками запишется следующим образом:
P ⋅f ⋅cos α > P ⋅sin α
ИЛИ
f ⋅cos α > sin α, f > tgα.
Выражая коэффициент трения f через тангенс угла трения ϕ,
получим tgϕ > tgα,
ϕ > α,
т.е. для осуществления захвата заготовки валками угол захвата α
должен быть меньше угла трения ϕ.
Угол захвата зависит от величины обжатия, диаметра валков, состояния их поверхности, наличия смазки, а также от способа прокатки (горячая или холодная). Максимальный угол захвата при горячей прокатке принят 15 … 22°, а при холодной – 3 … 8°.
Изделия, полученные прокаткой, называются сортаментом.
Весь прокат разбит на следующие основные группы:
сортовой; листовой; трубы;
специальные виды проката.
Группа сортового проката является наиболее разнообразной. Изделия этой группы подразделяются на профили общего назначения (квадрат, лента, полоса, швеллер, двутавр, катанка и т.д.) и профили специального назначения (рельсы, профили сельскохозяйственного назначения).
Листовой прокат подразделяется на группы по своему назначению (автолист, котельный, кровельный, консервный и т.д.) и по толщине (h < 4 мм и h ≥ 4 мм).
Прокатные трубы делятся на две группы (бесшовные и сварные).
К группе специальных видов проката относится тонкостенный прокат, например гнутые профили, периодический прокат для нужд серийного машиностроения. Некоторые виды прокатной продукции представлены на рис. 2.3. Следует иметь в виду, что расширение сортамента прокатной продукции является одним из важнейших резервов экономии металла.
Особая роль в этом вопросе принадлежит периодическому прокату. В отличие от обычных периодические профили имеют закономерно изменяющееся сечение в направлении длины изделия. Такие профили могут представлять собой как готовые изделия (арматурная полоса и др.), так и полуфабрикат для штамповки деталей машин. Использование периодического проката дает большой экономический эффект (сокращается загрузка штамповочного оборудования, уменьшается расход электроэнергии, рабочей силы и т. д.). Экономия металла по сравнению со штамповкой тех же деталей из обычного проката достигает 20 … 30%.
Рис.
2.3. Некоторые виды прокатной продукции
Комплекс технологических машин – орудий, обеспечивающих полученные изделия прокаткой, называется прокатным станом. На рис. 2.4 представлена принципиальная схема устройства прокатного стана. Основным рабочим узлом является рабочая клеть 1, в которой устанавливаются валки. Работа стана осуществляется от электродвигателя 5. К передаточным механизмам, обеспечивающим передачу движения от двигателя к валкам, относятся муфты 4, редуктор
3, шестеренная клеть 2, шпиндель 6.
1
2 3
4
5
6
Рис.
2.4. Принципиальная схема прокатного
стана: Iрабочая клеть;
2 шестеренная клеть; 3 редуктор; 4 муфта; 5 электродвигатель; 6 шпиндель
Прокатные валки представляют собой основной инструмент, который выполняет деформацию металла. Прокатка листов и лент производится на гладких валках. Прокатка профилей сортового проката производится на калиброванных валках, имеющих специальные вырезы, соответствующие требуемой конфигурации сечения полосы в данном проходе. Кольцевой вырез в одном валке называют ручьем, а просвет двух ручьев совместно с зазором между валками – калибром. Калибры бывают открытые и закрытые. У открытых калибров линия разъема валков находится в пределах калибра, а у закрытых вне его пределов (рис. 2.5).
а)
Рис. 2.5. Схема
калибров про
катных
валков: а открытого; б закрытого
б)
Прокатка в закрытых калибрах позволяет получать более точный прокат с минусовыми допусками, однако при этом способе требуется особо точная настройка валков.
В основе получения периодических профилей чаще лежит способ поперечной и поперечно-винтовой прокатки. Принципиальная схема одного из способов получения периодического проката на трехвалковом стане показана на рис. 2.6. Дисковые валки располагаются в рабочей клети под углом 120° один к другому и установлены с некоторым перекосом (4 … 8°) по отношению к оси прокатки, что обеспечивает поступательное винтовое движение металла через очаг деформации.
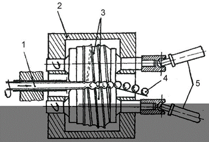
Рис. 2.6. Схема трехвалкового стана поперечно-винтовой прокатки для производства заготовок шаров подшипников: I калиброванный пруток; 2 дисковые валки; 3 периодический профиль; 4 зажимной патрон, 5 копировальная линейка;
6 ролик следящего клапана
Широкое распространение получили двухвалковые станы поперечно-винтовой прокатки при производстве заготовок шаров подшипников качения. Ручьи валков выполнены по винтовой линии, а оси валков установлены под некоторым углом друг к другу, рис. 2.7.
Рис. 2.7. Схема двухвалкового стана для прокатки шаров шарикоподшипников: I калиброванный пруток; 2 рабочая клеть;
3 валки; 4 готовая продукция (шары); 5 – шпиндели
В автотракторостроении используются практически все виды продукции прокатного производства: лист, сортовой прокат, трубы, а также специальные виды проката. Примером может служить использование периодического стального профиля для изготовления передней оси грузового автомобиля.
На рис. 2.8 представлен чертеж поковки передней оси грузового автомобиля, а на рис. 2.9 – периодический профиль, используемый для получения данной поковки методом горячей объемной штамповки. Коэффициент использования металла при этом достигает порядка
0,90.
278
1656,5±3
1595
Б В
806
Г
Середина поковки
Г-Г
Б
В Г
Б-Б
A-A
B-B
48
Рис. 2.8. Чертеж поковки передней оси грузового автомобиля
Периодический профиль стали 45, представленный на рис. 2.9,
режется на дисковой пиле на мерные заготовки, затем после нагрева в полуметодической пламенной печи до температуры 1220 … 1240 °С подвергается штамповке на штамповочном молоте.
А Б В
Ось
Г симметрии
А А-А Б
В Б-Б
В-В Г
Г-Г
90
90
|
+1
-1,5
Рис.
2.9. Периодический стальной профиль для
изготовления передней оси грузового
автомобиля
Процесс штамповки включает всего три операции (подкатка, гибка, окончательная штамповка), затем следует обрезка заусенца на обрезном прессе.
Материал взят из книги Применение обработки металлов давлением в автотракторостроении (Л.П. Маслакова)
