- •Міністерство освіти і науки України Національний університет кораблебудування імені адмірала Макарова Машинобудівний інститут
- •Миколаїв 2014 Пояснювальна записка
- •Перелік варіантів завдань до комплексної контрольної роботи
- •1.Структурний аналіз кінематичної схеми важільного механізму
- •2. Кінематичне дослідження механізму передачі
- •3. Кінетостатичний аналіз важільного механізму.
- •Перелік
- •“Теорія механізмів і машин”
Міністерство освіти і науки України Національний університет кораблебудування імені адмірала Макарова Машинобудівний інститут
ЗАТВЕРДЖУЮ:
Директор машинобудівного інституту
____________ д.т.н., проф. С.І. Сербін
“___” _____________ 2014 р.
ПАКЕТ
комплексних контрольних робіт
для оцінки якості підготовки бакалаврів з дисципліни
«Теорія механізмів і машин»
за напрямами підготовки
6.050502 «Інженерна механіка»
6.050503 «Машинобудування»
Розглянуто на засіданні кафедри
механіки і конструювання машин
Протокол № 2 від 27.10.2014 р.
Завідувач кафедри, д.т.н., проф.
___________ О.П. Попов
Миколаїв 2014 Пояснювальна записка
Комплексні контрольні роботи (ККР) – це перелік формалізованих завдань, вирішення яких потребує уміння застосовувати інтегровані знання програмного матеріалу дисципліни.
Всі завдання ККР мають професійне спрямування і їх вирішення вимагає від студентів не розрізнених знань окремих тем і розділів дисципліни, а їх інтегрованого застосування.
По складності всі завдання ККР рівнозначні і на виконання потребують біля 90 хвилин.
Робота виконується студентами у письмовій формі. Кожен студент отримує індивідуальне завдання.
Оцінка за виконання завдання ККР виставляється за кредитно-модульною системою організації навчального процесу, яка базується на технології застосування елементів європейської системи перерахування кредитів (ECTS), відповідно нижченаведеним вимогам.
Виконання завдання ККР проводиться в навчальній групі під контролем викладача. Студентам дозволяється використовувати довідкову літературу згідно з переліком.
Критерії оцінювання виконання завдань комплексної контрольної роботи
Оцінювання виконання ККР проводиться згідно з європейською системою оцінювання знань ЕСТS відповідно до наведеної нижче таблиці.
Сума балів за всі види навчальної діяльності |
Оцінка ECTS |
Оцінка за національною шкалою |
для екзамену |
||
90 – 100 |
A |
відмінно |
82 – 89 |
B |
добре |
74 – 81 |
C |
|
64 –73 |
D |
задовільно |
60 – 63 |
E |
|
35 –59 |
FX |
Не зараховано з можливістю повторного складання |
0 – 34 |
F |
Не зараховано з обов’язковим повторним вивченням дисципліни |
При оцінюванні ККР враховується:
правильність і повнота виконання завдання;
логічність, послідовність викладення матеріалу, дотримання вимог стандартів;
диференціювання, інтегрування та уніфікація знань;
використання загальних методів, правил, принципів, законів у конкретних ситуаціях;
аналіз і оцінка фактів і подій;
прогнозування очікуваних результатів від прийнятих рішень.
Перелік варіантів завдань до комплексної контрольної роботи
Варіант № 1
Рис. 1. Кінематична схема поперечно-стругального верстата (а) і механічна характеристика зовнішніх навантажень (б)
Поперечно – стругальний верстат (рис.1,а) складається з важільного механізму, передачі П та електродвигуна М.
Важільний механізм у свою чергу складається з кривошипа 1, каменів куліси 2, 4, куліс 3, 7, повзуна 6 та різцевої призми 5. Механізм передачі (рис.2) складається з послідовно з`єднаних між собою планетарного редуктора та відкритої передачі. |
Рис. 2. Передаточний механізм |
Необхідно виконати:
Структурний аналіз схеми важільного механізму і визначити:
ступінь рухомості
;клас механізму за Асуром – Артоболевським.
Кінематичне дослідження механізму передачі, в якому обчислити:
загальне передаточне відношення
від електродвигуна до кривошипа
(рис.1,в);невідоме число зубів
планетарного редуктора, використовуючи
умову співвісності;передаточне відношення
планетарного редуктора;передаточне відношення
відкритої передачі.
Підібрати
числа зубів
,
,
виходячи з умови відсутності підрізу
меншого колеса. Прийнявши
або
,
заокруглити отримане число зубів
до найближчого цілого числа таким чином,
щоб відхилення
нового значення передаточного числа
відкритої передачі не відрізнялось від
розрахункового більш, ніж на 4%.
Кінетостатичний аналіз і визначити:
корисну потужність
,
Вт;середній за цикл зрівноважуючий момент на кривошипі 1 –
,
;потужність електродвигуна М –
,
Вт.
Вихідні дані:
Зусилля різання
;Хід різця
;Ширина деталі
;Кількість подвійних ходів
;Частота обертання двигуна
;Коефіцієнт корисної дії
;Числа зубів планетарного редуктора
;
;
.
Діаграму зусилля різання наведено на рис. 1,б.
Відповідь на запитання необхідно надати у наступному вигляді:
І.
;
формула будови ___________; клас механізму
_____.
ІІ.
;
;
;
;
;
;
.
ІІІ.
;
;
.
Варіант № 2
Поперечно – стругальний верстат (рис.1,а) складається з важільного механізму, передачі П та електродвигуна М. Важільний механізм у свою чергу складається з кривошипа 1, каменя куліси 2, куліси 3, шатуна 4 та різцевої призми 5. Механізм передачі (рис.1,в) складається з послідовно з`єднаних між собою планетарного редуктора та відкритої передачі.
|
в) |
Рис. 1. Кінематична схема машинного агрегату (а), механічна характеристика зовнішніх навантажень (б) та схема передаточного механізму (в)
Необхідно виконати:
Структурний аналіз схеми важільного механізму і визначити:
ступінь рухомості ;
клас механізму за Асуром – Артоболевським.
Кінематичне дослідження механізму передачі, в якому обчислити:
загальне передаточне відношення від електродвигуна до кривошипа (рис.1,в);
невідоме число зубів планетарного редуктора, використовуючи умову співвісності;
передаточне відношення планетарного редуктора;
передаточне відношення відкритої передачі.
Підібрати числа зубів , , виходячи з умови відсутності підрізу меншого колеса. Прийнявши або , заокруглити отримане число зубів до найближчого цілого числа таким чином, щоб відхилення нового значення передаточного числа відкритої передачі не відрізнялось від розрахункового більш, ніж на 4%.
Кінетостатичний аналіз і визначити:
корисну потужність
,
Вт;середній за цикл зрівноважуючий момент на кривошипі 1 –
,
Вт;потужність електродвигуна М –
,
Вт.
Вихідні дані:
Зусилля різання
;Хід різця
;Ширина деталі
;Кількість подвійних ходів
;Частота обертання двигуна
;Коефіцієнт корисної дії
;Числа зубів планетарного редуктора
;
;
.
Діаграму зусилля різання наведено на рис. 1,б.
Відповідь на запитання необхідно надати у наступному вигляді:
І. ; формула будови ___________; клас механізму _____.
ІІ. ; ; ; ; ; ; .
ІІІ.
;
;
.
Варіант № 3
Довбальний верстат (рис.1,а) складається з важільного механізму, передачі П та електродвигуна М. Важільний механізм у свою чергу складається з кривошипа 1, каменя куліси 2, куліси 3, шатуна 4 та різцевої призми 5. Механізм передачі (рис.1,в) складається з послідовно з`єднаних між собою планетарного редуктора та відкритої передачі.
|
в) |
Рис. 1. Кінематична схема машинного агрегату (а), механічна характеристика зовнішніх навантажень (б) та схема передаточного механізму (в)
Необхідно виконати:
Структурний аналіз схеми важільного механізму і визначити:
ступінь рухомості ;
клас механізму за Асуром – Артоболевським.
Кінематичне дослідження механізму передачі, в якому обчислити:
загальне передаточне відношення від електродвигуна до кривошипа (рис.1,в);
невідоме число зубів планетарного редуктора, використовуючи умову співвісності;
передаточне відношення планетарного редуктора;
передаточне відношення відкритої передачі.
Підібрати числа зубів , , виходячи з умови відсутності підрізу меншого колеса. Прийнявши або , заокруглити отримане число зубів до найближчого цілого числа таким чином, щоб відхилення нового значення передаточного числа відкритої передачі не відрізнялось від розрахункового більш, ніж на 4%.
Кінетостатичний аналіз і визначити:
корисну потужність
,
Вт;середній за цикл момент на кривошипі 1 –
,
;потужність електродвигуна М –
,
Вт.
Вихідні дані:
Зусилля різання
;Хід різця ;
Висота деталі
;Кількість подвійних ходів
;Частота обертання двигуна
;Коефіцієнт корисної дії
;Числа зубів планетарного редуктора
;
;
.
Діаграму зусилля різання наведено на рис. 1,б.
Відповідь на запитання необхідно надати у наступному вигляді:
І. ; формула будови ___________; клас механізму _____.
ІІ. ; ; ; ; ; ; .
ІІІ.
;
;
.
Варіант № 4
Поздовжньо – стругальний верстат (рис.1,а) складається з важільного механізму, передачі П та електродвигуна М. Важільний механізм у свою чергу складається з кривошипа 1, каменя куліси 2, куліси 3, повзунів 4 і 5. Механізм передачі (рис.1,в) складається з послідовно з`єднаних між собою планетарного редуктора та відкритої передачі.
|
в) |
Рис. 1. Кінематична схема машинного агрегату (а), механічна характеристика зовнішніх навантажень (б) та схема передаточного механізму (в)
Необхідно виконати:
Структурний аналіз схеми важільного механізму і визначити:
ступінь рухомості ;
клас механізму за Асуром – Артоболевським.
Кінематичне дослідження механізму передачі, в якому обчислити:
загальне передаточне відношення від електродвигуна до кривошипа (рис.1,в);
невідоме число зубів планетарного редуктора, використовуючи умову співвісності;
передаточне відношення планетарного редуктора;
передаточне відношення відкритої передачі.
Підібрати числа зубів , , виходячи з умови відсутності підрізу меншого колеса. Прийнявши або , заокруглити отримане число зубів до найближчого цілого числа таким чином, щоб відхилення нового значення передаточного числа відкритої передачі не відрізнялось від розрахункового більш, ніж на 4%.
Кінетостатичний аналіз і визначити:
корисну потужність , Вт;
середній за цикл момент на кривошипі 1 – , ;
потужність електродвигуна М – , Вт.
Вихідні дані:
Зусилля різання
;Хід різця
;Ширина деталі
;Кількість подвійних ходів
;Частота обертання двигуна
;Коефіцієнт корисної дії ;
Числа зубів планетарного редуктора
;
;
.
Діаграму зусилля різання наведено на рис. 1,б.
Відповідь на запитання необхідно надати у наступному вигляді:
І. ; формула будови ___________; клас механізму _____.
ІІ. ; ; ; ; ; ; .
ІІІ. ; ; .
Варіант № 5
Довбальний верстат (рис.1,а) складається з важільного механізму, передачі П та електродвигуна М. Важільний механізм у свою чергу складається з кривошипа 1, каменя куліси 2, куліси 3, шатуна 4 та різцевої призми 5. Механізм передачі (рис.1,в) складається з послідовно з`єднаних між собою планетарного редуктора та відкритої передачі.
|
в) |
Рис. 1. Кінематична схема машинного агрегату (а), механічна характеристика зовнішніх навантажень (б) та схема передаточного механізму (в)
Необхідно виконати:
Структурний аналіз схеми важільного механізму і визначити:
ступінь рухомості ;
клас механізму за Асуром – Артоболевським.
Кінематичне дослідження механізму передачі, в якому обчислити:
загальне передаточне відношення від електродвигуна до кривошипа (рис.1,в);
невідоме число зубів планетарного редуктора, використовуючи умову співвісності;
передаточне відношення планетарного редуктора;
передаточне відношення відкритої передачі.
Підібрати числа зубів , , виходячи з умови відсутності підрізу меншого колеса. Прийнявши або , заокруглити отримане число зубів до найближчого цілого числа таким чином, щоб відхилення нового значення передаточного числа відкритої передачі не відрізнялось від розрахункового більш, ніж на 4%.
Кінетостатичний аналіз і визначити:
корисну потужність , Вт;
середній за цикл момент на кривошипі 1 – , ;
потужність електродвигуна М – , Вт.
Вихідні дані:
Зусилля різання
;Хід різця
;Висота деталі
;Кількість подвійних ходів
;Частота обертання двигуна
;Коефіцієнт корисної дії
;Числа зубів планетарного редуктора
;
.
Діаграму зусилля різання наведено на рис. 1,б.
Відповідь на запитання необхідно надати у наступному вигляді:
І. ; формула будови ___________; клас механізму _____.
ІІ. ; ; ; ; ; ; .
ІІІ. ; ; .
Варіант № 6
Поперечно – стругальний верстат (рис.1,а) складається з важільного механізму, передачі П та електродвигуна М. Важільний механізм у свою чергу складається з кривошипа 1, каменя куліси 2, куліси 3, шатуна 4 та різцевої призми 5. Механізм передачі (рис.1,в) складається з послідовно з`єднаних між собою планетарного редуктора та відкритої передачі.
|
в) |
Рис. 1. Кінематична схема машинного агрегату (а), механічна характеристика зовнішніх навантажень (б) та схема передаточного механізму (в)
Необхідно виконати:
Структурний аналіз схеми важільного механізму і визначити:
ступінь рухомості ;
клас механізму за Асуром – Артоболевським.
Кінематичне дослідження механізму передачі, в якому обчислити:
загальне передаточне відношення від електродвигуна до кривошипа (рис.1,в);
невідоме число зубів планетарного редуктора, використовуючи умову співвісності;
передаточне відношення планетарного редуктора;
передаточне відношення відкритої передачі.
Підібрати числа зубів , , виходячи з умови відсутності підрізу меншого колеса. Прийнявши або , заокруглити отримане число зубів до найближчого цілого числа таким чином, щоб відхилення нового значення передаточного числа відкритої передачі не відрізнялось від розрахункового більш, ніж на 4%.
Кінетостатичний аналіз і визначити:
корисну потужність , Вт;
середній за цикл момент на кривошипі 1 – , ;
потужність електродвигуна М – , Вт.
Вихідні дані:
Зусилля різання
;Хід різця
;Ширина деталі
;Кількість подвійних ходів ;
Частота обертання двигуна
;Коефіцієнт корисної дії ;
Числа зубів планетарного редуктора ;
.
Діаграму зусилля різання наведено на рис. 1,б.
Відповідь на запитання необхідно надати у наступному вигляді:
І. ; формула будови ___________; клас механізму _____.
ІІ. ; ; ; ; ; ; .
ІІІ. ; ; .
Варіант № 7
Поперечно – стругальний верстат (рис.1,а) складається з важільного механізму, передачі П та електродвигуна М. Важільний механізм у свою чергу складається з кривошипа 1, каменя куліси 2, куліси 3, рухомої опори 4 та різцевої призми 5. Механізм передачі (рис.1,в) складається з послідовно з`єднаних між собою планетарного редуктора та відкритої передачі.
|
в) |
Рис. 1. Кінематична схема машинного агрегату (а), механічна характеристика зовнішніх навантажень (б) та схема передаточного механізму (в)
Необхідно виконати:
Структурний аналіз схеми важільного механізму і визначити:
ступінь рухомості ;
клас механізму за Асуром – Артоболевським.
Кінематичне дослідження механізму передачі, в якому обчислити:
загальне передаточне відношення від електродвигуна до кривошипа (рис.1,в);
невідоме число зубів планетарного редуктора, використовуючи умову співвісності;
передаточне відношення планетарного редуктора;
передаточне відношення відкритої передачі.
Підібрати числа зубів , , виходячи з умови відсутності підрізу меншого колеса. Прийнявши або , заокруглити отримане число зубів до найближчого цілого числа таким чином, щоб відхилення нового значення передаточного числа відкритої передачі не відрізнялось від розрахункового більш, ніж на 4%.
Кінетостатичний аналіз і визначити:
корисну потужність , Вт;
середній за цикл момент на кривошипі 1 – , ;
потужність електродвигуна М – , Вт.
Вихідні дані:
Зусилля різання
;Хід різця
;Ширина деталі
;Кількість подвійних ходів
;Частота обертання двигуна
;Коефіцієнт корисної дії
;Числа зубів планетарного редуктора ;
;
.
Діаграму зусилля різання наведено на рис. 1,б.
Відповідь на запитання необхідно надати у наступному вигляді:
І. ; формула будови ___________; клас механізму _____.
ІІ. ; ; ; ; ; ; .
ІІІ. ; ; .
Варіант № 8
Поперечно – стругальний верстат (рис.1,а) складається з важільного механізму, передачі П та електродвигуна М. Важільний механізм у свою чергу складається з кривошипа 1, каменя куліси 2, куліси 3, рухомої опори 4 та різцевої призми 5. Механізм передачі (рис.1,в) складається з послідовно з`єднаних між собою планетарного редуктора та відкритої передачі.
|
в) |
Рис. 1. Кінематична схема машинного агрегату (а), механічна характеристика зовнішніх навантажень (б) та схема передаточного механізму (в)
Необхідно виконати:
Структурний аналіз схеми важільного механізму і визначити:
ступінь рухомості ;
клас механізму за Асуром – Артоболевським.
Кінематичне дослідження механізму передачі, в якому обчислити:
загальне передаточне відношення від електродвигуна до кривошипа (рис.1,в);
невідоме число зубів планетарного редуктора, використовуючи умову співвісності;
передаточне відношення планетарного редуктора;
передаточне відношення відкритої передачі.
Підібрати числа зубів , , виходячи з умови відсутності підрізу меншого колеса. Прийнявши або , заокруглити отримане число зубів до найближчого цілого числа таким чином, щоб відхилення нового значення передаточного числа відкритої передачі не відрізнялось від розрахункового більш, ніж на 4%.
Кінетостатичний аналіз і визначити:
корисну потужність , Вт;
середній за цикл момент на кривошипі 1 – , ;
потужність електродвигуна М – , Вт.
Вихідні дані:
Зусилля різання
;Хід різця ;
Ширина деталі
;Кількість подвійних ходів
;Частота обертання двигуна
;Коефіцієнт корисної дії ;
Числа зубів планетарного редуктора ;
.
Діаграму зусилля різання наведено на рис. 1,б.
Відповідь на запитання необхідно надати у наступному вигляді:
І. ; формула будови ___________; клас механізму _____.
ІІ. ; ; ; ; ; ; .
ІІІ. ; ; .
Варіант №9
Виштовхувач деталей (рис. 1, а) складається з важільного механізму, передачі "П" та електродвигуна "М".
Рис. 1. Кінематична схема машинного агрегату виштовхувача (а) та характеристики його навантаження (б)
Важільний механізм у свою чергу складається з кривошипа 1, тяги 2, базисної ланки 3, качалки – коромисла 4 та повзуна-штовхача 5. Передаточний механізм (рис.2) складається з послідовно з'єднаних між собою планетарного редуктора та відкритої передачі. |
Рис.2. Передаточний механізм. |
Необхідно виконати:
Структурний аналіз схеми важільного механізму і визначити:
ступінь рухомості ;
клас механізму за Асуром – Артоболевським.
Кінематичне дослідження механізму передачі, в якому обчислити:
загальне передаточне відношення від електродвигуна до кривошипа (рис.2);
невідоме число зубів планетарного редуктора, використовуючи умову співвісності;
передаточне відношення планетарного редуктора;
передаточне відношення відкритої передачі.
Підібрати числа зубів , , виходячи з умови відсутності підрізу меншого колеса. Прийнявши або , заокруглити отримане число зубів до найближчого цілого числа таким чином, щоб відхилення нового значення передаточного числа відкритої передачі не відрізнялось від розрахункового більш, ніж на 4%.
Кінетостатичний аналіз і визначити:
корисну потужність
,
кВт;середній за цикл зрівноважуючий момент на кривошипі 1 – , ;
потужність електродвигуна
,
кВт.
Вихідні дані:
Середнє зусилля штовхача
;Хід штовхача
;Переміщення деталі
;Кількість подвійних ходів
;Частота обертання двигуна
;Коефіцієнт корисної дії
.Числа зубів планетарного редуктора:
;
;
.
Діаграму зусилля штовхача наведено на рис.1,б.
Відповідь на запитання необхідно надати у наступному вигляді:
І. ; формула будови ___________; клас механізму _____.
ІІ.
;
;
;
;
;
;
.
ІІІ.
;
;
.
Варіант № 10
Поперечно – стругальний верстат (рис.1,а) складається з важільного механізму, передачі П та електродвигуна М. Важільний механізм у свою чергу складається з кривошипа 1, каменя куліси 2, куліси 3, рухомої опори 4 та різцевої призми 5. Механізм передачі (рис.1,в) складається з послідовно з`єднаних між собою планетарного редуктора та відкритої передачі.
|
в) |
Рис. 1. Кінематична схема машинного агрегату (а), механічна характеристика зовнішніх навантажень (б) та схема передаточного механізму (в)
Необхідно виконати:
Структурний аналіз схеми важільного механізму і визначити:
ступінь рухомості ;
клас механізму за Асуром – Артоболевським.
Кінематичне дослідження механізму передачі, в якому обчислити:
загальне передаточне відношення від електродвигуна до кривошипа (рис.1,в);
невідоме число зубів планетарного редуктора, використовуючи умову співвісності;
передаточне відношення планетарного редуктора;
передаточне відношення відкритої передачі.
Підібрати числа зубів , , виходячи з умови відсутності підрізу меншого колеса. Прийнявши або , заокруглити отримане число зубів до найближчого цілого числа таким чином, щоб відхилення нового значення передаточного числа відкритої передачі не відрізнялось від розрахункового більш, ніж на 4%.
Кінетостатичний аналіз і визначити:
корисну потужність , Вт;
середній за цикл момент на кривошипі 1 – , ;
потужність електродвигуна М – , Вт.
Вихідні дані:
Зусилля різання
;Хід різця
;Ширина деталі
;Кількість подвійних ходів
;Частота обертання двигуна ;
Коефіцієнт корисної дії ;
Числа зубів планетарного редуктора ;
;
.
Діаграму зусилля різання наведено на рис. 1,б.
Відповідь на запитання необхідно надати у наступному вигляді:
І. ; формула будови ___________; клас механізму _____.
ІІ. ; ; ; ; ; ; .
ІІІ. ; ; .
Варіант № 11
Поперечно – стругальний верстат (рис.1,а) складається з важільного механізму, передачі П та електродвигуна М. Важільний механізм у свою чергу складається з кривошипа 1, каменів куліс 2, 4, куліс 3, 6, різцевої призми 5 та рухомої опори 7. Механізм передачі (рис.1,в) складається з послідовно з`єднаних між собою планетарного редуктора та відкритої передачі.
|
в) |
Рис. 1. Кінематична схема машинного агрегату (а), механічна характеристика зовнішніх навантажень (б) та схема передаточного механізму (в)
Необхідно виконати:
Структурний аналіз схеми важільного механізму і визначити:
ступінь рухомості ;
клас механізму за Асуром – Артоболевським.
Кінематичне дослідження механізму передачі, в якому обчислити:
загальне передаточне відношення від електродвигуна до кривошипа (рис.1,в);
невідоме число зубів планетарного редуктора, використовуючи умову співвісності;
передаточне відношення планетарного редуктора;
передаточне відношення відкритої передачі.
Підібрати числа зубів , , виходячи з умови відсутності підрізу меншого колеса. Прийнявши або , заокруглити отримане число зубів до найближчого цілого числа таким чином, щоб відхилення нового значення передаточного числа відкритої передачі не відрізнялось від розрахункового більш, ніж на 4%.
Кінетостатичний аналіз і визначити:
корисну потужність , Вт;
середній за цикл момент на кривошипі 1 – , ;
потужність електродвигуна М – , Вт.
Вихідні дані:
Зусилля різання
;Хід різця
;Ширина деталі
;Кількість подвійних ходів
;Частота обертання двигуна ;
Коефіцієнт корисної дії
;Числа зубів планетарного редуктора
;
;
.
Діаграму зусилля різання наведено на рис. 1,б.
Відповідь на запитання необхідно надати у наступному вигляді:
І. ; формула будови ___________; клас механізму _____.
ІІ. ; ; ; ; ; ; .
ІІІ. ; ; .
Варіант № 12
Відрізний верстат (рис.1,а) складається з важільного механізму, передачі П та електродвигуна М. Важільний механізм у свою чергу складається з кривошипа 1, шатуна 2, важеля 3 з рухомою опорою 4 та ножа 5. Механізм передачі (рис.1,в) складається з послідовно з`єднаних між собою планетарного редуктора та відкритої передачі.
б) |
в) |
Рис. 1. Кінематична схема машинного агрегату (а), механічна характеристика зовнішніх навантажень (б) та схема передаточного механізму (в)
Необхідно виконати:
Структурний аналіз схеми важільного механізму і визначити:
ступінь рухомості ;
клас механізму за Асуром – Артоболевським.
Кінематичне дослідження механізму передачі, в якому обчислити:
загальне передаточне відношення від електродвигуна до кривошипа (рис.1,в);
невідоме число зубів планетарного редуктора, використовуючи умову співвісності;
передаточне відношення планетарного редуктора;
передаточне відношення відкритої передачі.
Підібрати числа зубів , , виходячи з умови відсутності підрізу меншого колеса. Прийнявши або , заокруглити отримане число зубів до найближчого цілого числа таким чином, щоб відхилення нового значення передаточного числа відкритої передачі не відрізнялось від розрахункового більш, ніж на 4%.
Кінетостатичний аналіз і визначити:
корисну потужність , Вт;
середній за цикл момент на кривошипі 1 – , ;
потужність електродвигуна М – , Вт.
Вихідні дані:
Середнє значення зусилля різання
;Хід ножа
;Хід розрізування заготівки
;Кількість подвійних ходів ножа ;
Частота обертання двигуна ;
Коефіцієнт корисної дії
;Числа зубів планетарного редуктора ; ; .
Діаграму зусилля різання наведено на рис. 1,б.
Відповідь на запитання необхідно надати у наступному вигляді:
І. ; формула будови ___________; клас механізму _____.
ІІ. ; ; ; ; ; ; .
ІІІ. ; ; .
Варіант № 13
Механічний молот (рис.1,а) складається з важільного механізму, передачі П та електродвигуна М. Важільний механізм у свою чергу складається з кривошипа 1, шатуна 2, коромисла 3, качалки – коромисла 4 та повзуна – молота 5. Механізм передачі (рис.1,в) складається з послідовно з`єднаних між собою планетарного редуктора та відкритої передачі.
|
в) |
Рис. 1. Кінематична схема машинного агрегату (а), механічна характеристика зовнішніх навантажень (б) та схема передаточного механізму (в)
Необхідно виконати:
Структурний аналіз схеми важільного механізму і визначити:
ступінь рухомості ;
клас механізму за Асуром – Артоболевським.
Кінематичне дослідження механізму передачі, в якому обчислити:
загальне передаточне відношення від електродвигуна до кривошипа (рис.1,в);
невідоме число зубів планетарного редуктора, використовуючи умову співвісності;
передаточне відношення планетарного редуктора;
передаточне відношення відкритої передачі.
Підібрати числа зубів , , виходячи з умови відсутності підрізу меншого колеса. Прийнявши або , заокруглити отримане число зубів до найближчого цілого числа таким чином, щоб відхилення нового значення передаточного числа відкритої передачі не відрізнялось від розрахункового більш, ніж на 4%.
Кінетостатичний аналіз і визначити:
корисну потужність , Вт;
середній за цикл момент на кривошипі 1 – , ;
потужність електродвигуна М – , Вт.
Вихідні дані:
Середнє зусилля пластичного деформування
;Хід плунжера
;Абсолютна пластична деформація деталі „д”
;Кількість подвійних ходів
;Частота обертання двигуна ;
Коефіцієнт корисної дії ;
Числа зубів планетарного редуктора
;
;
.
Діаграму зусилля пластичного деформування наведено на рис. 1,б.
Відповідь на запитання необхідно надати у наступному вигляді:
І. ; формула будови ___________; клас механізму _____.
ІІ. ; ; ; ; ; ; .
ІІІ. ; ; .
Варіант № 14
Механічний молот (рис.1,а) складається з важільного механізму, передачі П та електродвигуна М. Важільний механізм у свою чергу складається з кривошипа 1, шатуна 2, качалки – коромисла 3, шатуна 4 та повзуна – молота 5. Механізм передачі (рис.1,в) складається з послідовно з`єднаних між собою планетарного редуктора та відкритої передачі.
|
в) |
Рис. 1. Кінематична схема машинного агрегату (а), механічна характеристика зовнішніх навантажень (б) та схема передаточного механізму (в)
Необхідно виконати:
Структурний аналіз схеми важільного механізму і визначити:
ступінь рухомості ;
клас механізму за Асуром – Артоболевським.
Кінематичне дослідження механізму передачі, в якому обчислити:
загальне передаточне відношення від електродвигуна до кривошипа (рис.1,в);
невідоме число зубів планетарного редуктора, використовуючи умову співвісності;
передаточне відношення планетарного редуктора;
передаточне відношення відкритої передачі.
Підібрати числа зубів , , виходячи з умови відсутності підрізу меншого колеса. Прийнявши або , заокруглити отримане число зубів до найближчого цілого числа таким чином, щоб відхилення нового значення передаточного числа відкритої передачі не відрізнялось від розрахункового більш, ніж на 4%.
Кінетостатичний аналіз і визначити:
корисну потужність , Вт;
середній за цикл момент на кривошипі 1 – , ;
потужність електродвигуна М – , Вт.
Вихідні дані:
Середнє зусилля пластичного деформування
;Хід плунжера ;
Абсолютна пластична деформація деталі „д”
;Кількість подвійних ходів ;
Частота обертання двигуна ;
Коефіцієнт корисної дії
;Числа зубів планетарного редуктора
;
.
Діаграму зусилля пластичного деформування наведено на рис. 1,б.
Відповідь на запитання необхідно надати у наступному вигляді:
І.
;
формула будови ___________; клас механізму
_____.
ІІ. ; ; ; ; ; ; .
ІІІ. ; ; .
Варіант № 15
Механічний прес (рис.1,а) призначений для одержання штампованих деталей. Складається з важільного механізму, передачі П та електродвигуна М. Важільний механізм у свою чергу складається з кривошипа 1, шатунів 2 і 4, коромисла 3, та повзуна – молота 5. Механізм передачі (рис.1,в) складається з послідовно з`єднаних між собою планетарного редуктора та відкритої передачі.
|
в) |
Рис. 1. Кінематична схема машинного агрегату (а), механічна характеристика зовнішніх навантажень (б) та схема передаточного механізму (в)
Необхідно виконати:
Структурний аналіз схеми важільного механізму і визначити:
ступінь рухомості ;
клас механізму за Асуром – Артоболевським.
Кінематичне дослідження механізму передачі, в якому обчислити:
загальне передаточне відношення від електродвигуна до кривошипа (рис.1,в);
невідоме число зубів планетарного редуктора, використовуючи умову співвісності;
передаточне відношення планетарного редуктора;
передаточне відношення відкритої передачі.
Підібрати числа зубів , , виходячи з умови відсутності підрізу меншого колеса. Прийнявши або , заокруглити отримане число зубів до найближчого цілого числа таким чином, щоб відхилення нового значення передаточного числа відкритої передачі не відрізнялось від розрахункового більш, ніж на 4%.
Кінетостатичний аналіз і визначити:
корисну потужність , Вт;
середній за цикл момент на кривошипі 1 – , ;
потужність електродвигуна М – , Вт.
Вихідні дані:
Середнє зусилля пластичного деформування
;Хід плунжера
;Абсолютна пластична деформація деталі „д”
;Кількість подвійних ходів ;
Частота обертання двигуна
;Коефіцієнт корисної дії ;
Числа зубів планетарного редуктора ;
.
Діаграму зусилля пластичного деформування наведено на рис. 1,б.
Відповідь на запитання необхідно надати у наступному вигляді:
І. ; формула будови ___________; клас механізму _____.
ІІ. ; ; ; ; ; ; .
ІІІ. ; ; .
Варіант № 16
Механічна гільйотина (рис.1,а) призначена для призначена для розрізання листового матеріалу, складається з важільного механізму, передачі П та електродвигуна М. Важільний механізм у свою чергу складається з кривошипа 1, шатунів 2, 4, і 5, важеля – коромисла 3, качалки – ножа 6, та повзуна 7. Механізм передачі (рис.1,в) складається з послідовно з`єднаних між собою планетарного редуктора та відкритої передачі.
|
в) |
Рис. 1. Кінематична схема машинного агрегату (а), механічна характеристика зовнішніх навантажень (б) та схема передаточного механізму (в)
Необхідно виконати:
Структурний аналіз схеми важільного механізму і визначити:
ступінь рухомості ;
клас механізму за Асуром – Артоболевським.
Кінематичне дослідження механізму передачі, в якому обчислити:
загальне передаточне відношення від електродвигуна до кривошипа (рис.1,в);
невідоме число зубів планетарного редуктора, використовуючи умову співвісності;
передаточне відношення планетарного редуктора;
передаточне відношення відкритої передачі.
Підібрати числа зубів , , виходячи з умови відсутності підрізу меншого колеса. Прийнявши або , заокруглити отримане число зубів до найближчого цілого числа таким чином, щоб відхилення нового значення передаточного числа відкритої передачі не відрізнялось від розрахункового більш, ніж на 4%.
Кінетостатичний аналіз і визначити:
корисну потужність , Вт;
середній за цикл момент на кривошипі 1 – , ;
потужність електродвигуна М – , Вт.
Вихідні дані:
Зусилля різання найбільше
;Хід ножа
;Товщина листа
;Кількість подвійних ходів ножа ;
Частота обертання двигуна
;Коефіцієнт корисної дії ;
Числа зубів планетарного редуктора
;
.
Діаграму зусилля різання наведено на рис. 1,б.
Відповідь на запитання необхідно надати у наступному вигляді:
І. ; формула будови ___________; клас механізму _____.
ІІ. ; ; ; ; ; ; .
ІІІ. ; ; .
Варіант № 17
Довбальний верстат (рис.1, а) складається з важільного механізму, передачі П та електродвигуна М. Важільний механізм у свою чергу складається з кривошипа 1, каменя куліси 2, куліси 3, шатуна 4 та різцевої призми 5. Механізм передачі (рис.1, в) складається з послідовно з`єднаних між собою планетарного редуктора та відкритої передачі.
|
в) |
Рис. 1. Кінематична схема машинного агрегату (а), механічна характеристика зовнішніх навантажень (б) та схема передаточного механізму (в)
Необхідно виконати:
Структурний аналіз схеми важільного механізму і визначити:
ступінь рухомості ;
клас механізму за Асуром – Артоболевським.
Кінематичне дослідження механізму передачі, в якому обчислити:
загальне передаточне відношення від електродвигуна до кривошипа (рис.1,в);
невідоме число зубів планетарного редуктора, використовуючи умову співвісності;
передаточне відношення планетарного редуктора;
передаточне відношення відкритої передачі.
Підібрати числа зубів , , виходячи з умови відсутності підрізу меншого колеса. Прийнявши або , заокруглити отримане число зубів до найближчого цілого числа таким чином, щоб відхилення нового значення передаточного числа відкритої передачі не відрізнялось від розрахункового більш, ніж на 4%.
Кінетостатичний аналіз і визначити:
корисну потужність , Вт;
середній за цикл момент на кривошипі 1 – , ;
потужність електродвигуна М – , Вт.
Вихідні дані:
Зусилля різання
;Хід різця
;Висота деталі ;
Кількість подвійних ходів ножа ;
Частота обертання двигуна ;
Коефіцієнт корисної дії ;
Числа зубів планетарного редуктора: ; ; .
Діаграму зусилля різання наведено на рис. 1,б.
Відповідь на запитання необхідно надати у наступному вигляді:
І. ; формула будови ___________; клас механізму _____.
ІІ. ; ; ; ; ; ; .
ІІІ.
;
;
.
Варіант № 18
Поздовжньо – стругальний верстат (рис.1,а) складається з важільного механізму, передачі П та електродвигуна М. Важільний механізм у свою чергу складається з кривошипа 1, каменя куліси 2, куліси 3, коромисла 4, та різцевої призми 5. Механізм передачі (рис.1,в) складається з послідовно з`єднаних між собою планетарного редуктора та відкритої передачі.
|
в) |
Рис. 1. Кінематична схема машинного агрегату (а), механічна характеристика зовнішніх навантажень (б) та схема передаточного механізму (в)
Необхідно виконати:
Структурний аналіз схеми важільного механізму і визначити:
ступінь рухомості ;
клас механізму за Асуром – Артоболевським.
Кінематичне дослідження механізму передачі, в якому обчислити:
загальне передаточне відношення від електродвигуна до кривошипа (рис.1,в);
невідоме число зубів планетарного редуктора, використовуючи умову співвісності;
передаточне відношення планетарного редуктора;
передаточне відношення відкритої передачі.
Підібрати числа зубів , , виходячи з умови відсутності підрізу меншого колеса. Прийнявши або , заокруглити отримане число зубів до найближчого цілого числа таким чином, щоб відхилення нового значення передаточного числа відкритої передачі не відрізнялось від розрахункового більш, ніж на 4%.
Кінетостатичний аналіз і визначити:
корисну потужність , Вт;
середній за цикл момент на кривошипі 1 – , ;
потужність електродвигуна М – , Вт.
Вихідні дані:
Зусилля різання
;Хід різця
;Ширина деталі
;Кількість подвійних ходів
;Частота обертання двигуна
;Коефіцієнт корисної дії ;
Числа зубів планетарного редуктора ;
.
Діаграму зусилля різання наведено на рис. 1,б.
Відповідь на запитання необхідно надати у наступному вигляді:
І. ; формула будови ___________; клас механізму _____.
ІІ. ; ; ; ; ; ; .
ІІІ. ; ; .
Варіант № 19
Поздовжньо – стругальний верстат (рис.1,а) складається з важільного механізму, передачі П та електродвигуна М. Важільний механізм у свою чергу складається з кривошипа 1, каменя куліси 2, куліси 3, шатуна 4 та різцевої призми 5. Механізм передачі (рис.1,в) складається з послідовно з`єднаних між собою планетарного редуктора та відкритої передачі.
|
в) |
Рис. 1. Кінематична схема машинного агрегату (а), механічна характеристика зовнішніх навантажень (б) та схема передаточного механізму (в)
Необхідно виконати:
Структурний аналіз схеми важільного механізму і визначити:
ступінь рухомості ;
клас механізму за Асуром – Артоболевським.
Кінематичне дослідження механізму передачі, в якому обчислити:
загальне передаточне відношення від електродвигуна до кривошипа (рис.1,в);
невідоме число зубів планетарного редуктора, використовуючи умову співвісності;
передаточне відношення планетарного редуктора;
передаточне відношення відкритої передачі.
Підібрати числа зубів , , виходячи з умови відсутності підрізу меншого колеса. Прийнявши або , заокруглити отримане число зубів до найближчого цілого числа таким чином, щоб відхилення нового значення передаточного числа відкритої передачі не відрізнялось від розрахункового більш, ніж на 4%.
Кінетостатичний аналіз і визначити:
корисну потужність , кВт;
середній за цикл момент на кривошипі 1 – , ;
потужність електродвигуна М – , Вт.
Вихідні дані:
Зусилля різання
;Хід різця
;Ширина деталі
;Кількість подвійних ходів
;Частота обертання двигуна
;Коефіцієнт корисної дії
;Числа зубів планетарного редуктора
;
;
.
Діаграму зусилля різання наведено на рис. 1,б.
Відповідь на запитання необхідно надати у наступному вигляді:
І. ; формула будови ___________; клас механізму _____.
ІІ. ; ; ; ; ; ; .
ІІІ. ; ; .
Варіант № 20
Механічний прес (рис.1,а) призначений для одержання штампованих деталей. Складається з важільного механізму, передачі П та електродвигуна М. Важільний механізм у свою чергу складається з кривошипа 1, шатунів 2, і 4, качалки – коромисла 3, та повзуна – кувального штампу 5. Механізм передачі (рис.1,в) складається з послідовно з`єднаних між собою планетарного редуктора та відкритої передачі.
|
в) |
Рис. 1. Кінематична схема машинного агрегату (а), механічна характеристика зовнішніх навантажень (б) та схема передаточного механізму (в)
Необхідно виконати:
Структурний аналіз схеми важільного механізму і визначити:
ступінь рухомості ;
клас механізму за Асуром – Артоболевським.
Кінематичне дослідження механізму передачі, в якому обчислити:
загальне передаточне відношення від електродвигуна до кривошипа (рис.1,в);
невідоме число зубів планетарного редуктора, використовуючи умову співвісності;
передаточне відношення планетарного редуктора;
передаточне відношення відкритої передачі.
Підібрати числа зубів , , виходячи з умови відсутності підрізу меншого колеса. Прийнявши або , заокруглити отримане число зубів до найближчого цілого числа таким чином, щоб відхилення нового значення передаточного числа відкритої передачі не відрізнялось від розрахункового більш, ніж на 4%.
Кінетостатичний аналіз і визначити:
корисну потужність , Вт;
середній за цикл момент на кривошипі 1 – , ;
потужність електродвигуна М – , Вт.
Вихідні дані:
Середнє зусилля пластичного деформування
;Хід кувального штампу
;Абсолютна пластична деформація деталі „д” ;
Кількість подвійних ходів
;Частота обертання двигуна ;
Коефіцієнт корисної дії ;
Числа зубів планетарного редуктора ;
.
Діаграму зусилля пластичного деформування наведено на рис. 1,б.
Відповідь на запитання необхідно надати у наступному вигляді:
І. ; формула будови ___________; клас механізму _____.
ІІ. ; ; ; ; ; ; .
ІІІ. ; ; .
Варіант № 21
Механічні ножиці (рис.1,а) призначаються для розрізання листового матеріалу. Складаються з важільного механізму, передачі П та електродвигуна М. Важільний механізм у свою чергу складається з кривошипа 1, шатуна 2 та коромисла – ножа 3. Механізм передачі (рис.1,в) складається з послідовно з`єднаних між собою планетарного редуктора та відкритої передачі.
|
в) |
Рис. 1. Кінематична схема машинного агрегату (а), механічна характеристика зовнішніх навантажень (б) та схема передаточного механізму (в)
Необхідно виконати:
Структурний аналіз схеми важільного механізму і визначити:
ступінь рухомості ;
клас механізму за Асуром – Артоболевським.
Кінематичне дослідження механізму передачі, в якому обчислити:
загальне передаточне відношення від електродвигуна до кривошипа (рис.1,в);
невідоме число зубів планетарного редуктора, використовуючи умову співвісності;
передаточне відношення планетарного редуктора;
передаточне відношення відкритої передачі.
Підібрати числа зубів , , виходячи з умови відсутності підрізу меншого колеса. Прийнявши або , заокруглити отримане число зубів до найближчого цілого числа таким чином, щоб відхилення нового значення передаточного числа відкритої передачі не відрізнялось від розрахункового більш, ніж на 4%.
Кінетостатичний аналіз і визначити:
корисну потужність , Вт;
середній за цикл момент на кривошипі 1 – , ;
потужність електродвигуна М – , Вт.
Вихідні дані:
Середній момент різання
;Кутовий хід ножа
;Кутовий хід різання
;Кількість подвійних ходів ;
Частота обертання двигуна ;
Коефіцієнт корисної дії ;
Числа зубів планетарного редуктора ;
;
.
Діаграму моментів різання наведено на рис. 1,б.
Відповідь на запитання необхідно надати у наступному вигляді:
І. ; формула будови ___________; клас механізму _____.
ІІ. ; ; ; ; ; ; .
ІІІ. ; ; .
Варіант № 22
Виштовхувач деталей (рис.1,а) складається з важільного механізму, передачі П та електродвигуна М. Важільний механізм у свою чергу складається з куліси 1, каменя куліси 2, кривошипа 3, шатуна 4 та повзуна – штовхача 5. Механізм передачі (рис.1,в) складається з послідовно з`єднаних між собою планетарного редуктора та відкритої передачі.
|
в) |
Рис. 1. Кінематична схема машинного агрегату (а), механічна характеристика зовнішніх навантажень (б) та схема передаточного механізму (в)
Необхідно виконати:
Структурний аналіз схеми важільного механізму і визначити:
ступінь рухомості ;
клас механізму за Асуром – Артоболевським.
Кінематичне дослідження механізму передачі, в якому обчислити:
загальне передаточне відношення від електродвигуна до кривошипа (рис.1,в);
невідоме число зубів планетарного редуктора, використовуючи умову співвісності;
передаточне відношення планетарного редуктора;
передаточне відношення відкритої передачі.
Підібрати числа зубів , , виходячи з умови відсутності підрізу меншого колеса. Прийнявши або , заокруглити отримане число зубів до найближчого цілого числа таким чином, щоб відхилення нового значення передаточного числа відкритої передачі не відрізнялось від розрахункового більш, ніж на 4%.
Кінетостатичний аналіз і визначити:
корисну потужність , Вт;
середній за цикл момент на кулісі 1 – , ;
потужність електродвигуна М – , Вт.
Вихідні дані:
Зусилля штовхача
;Хід штовхача
;Переміщення деталі „д”
;Кількість подвійних ходів штовхача ;
Частота обертання двигуна ;
Коефіцієнт корисної дії ;
Числа зубів планетарного редуктора
;
;
.
Діаграму зусилля штовхача наведено на рис. 1,б.
Відповідь на запитання необхідно надати у наступному вигляді:
І. ; формула будови ___________; клас механізму _____.
ІІ. ; ; ; ; ; ; .
ІІІ. ; ; .
Варіант № 23
Довбальний верстат (рис.1,а) складається з важільного механізму, передачі П та електродвигуна М. Важільний механізм у свою чергу складається з кривошипа 1, каменя куліси 2, куліси 3, шатуна 4 та різцевої призми 5. Механізм передачі (рис.1,в) складається з послідовно з`єднаних між собою планетарного редуктора та відкритої передачі.
|
в) |
Рис. 1. Кінематична схема машинного агрегату (а), механічна характеристика зовнішніх навантажень (б) та схема передаточного механізму (в)
Необхідно виконати:
Структурний аналіз схеми важільного механізму і визначити:
ступінь рухомості ;
клас механізму за Асуром – Артоболевським.
Кінематичне дослідження механізму передачі, в якому обчислити:
загальне передаточне відношення від електродвигуна до кривошипа (рис.1,в);
невідоме число зубів планетарного редуктора, використовуючи умову співвісності;
передаточне відношення планетарного редуктора;
передаточне відношення відкритої передачі.
Підібрати числа зубів , , виходячи з умови відсутності підрізу меншого колеса. Прийнявши або , заокруглити отримане число зубів до найближчого цілого числа таким чином, щоб відхилення нового значення передаточного числа відкритої передачі не відрізнялось від розрахункового більш, ніж на 4%.
Кінетостатичний аналіз і визначити:
корисну потужність , Вт;
середній за цикл момент на кривошипі 1 – , ;
потужність електродвигуна М – , Вт.
Вихідні дані:
Зусилля різання ;
Хід різця ;
Висота деталі
;Кількість подвійних ходів ;
Частота обертання двигуна ;
Коефіцієнт корисної дії ;
Числа зубів планетарного редуктора
;
;
.
Діаграму зусилля різання наведено на рис. 1,б.
Відповідь на запитання необхідно надати у наступному вигляді:
І. ; формула будови ___________; клас механізму _____.
ІІ. ; ; ; ; ; ; .
ІІІ. ; ; .
Варіант № 24
Поперечно – стругальний верстат (рис.1,а) складається з важільного механізму, передачі П та електродвигуна М. Важільний механізм у свою чергу складається з кривошипа 1, каменя куліси 2, куліси 3, шатуна 4 та різцевої призми 5. Механізм передачі (рис.1,в) складається з послідовно з`єднаних між собою планетарного редуктора та відкритої передачі.
|
в) |
Рис. 1. Кінематична схема машинного агрегату (а), механічна характеристика зовнішніх навантажень (б) та схема передаточного механізму (в)
Необхідно виконати:
Структурний аналіз схеми важільного механізму і визначити:
ступінь рухомості ;
клас механізму за Асуром – Артоболевським.
Кінематичне дослідження механізму передачі, в якому обчислити:
загальне передаточне відношення від електродвигуна до кривошипа (рис.1,в);
невідоме число зубів планетарного редуктора, використовуючи умову співвісності;
передаточне відношення планетарного редуктора;
передаточне відношення відкритої передачі.
Підібрати числа зубів , , виходячи з умови відсутності підрізу меншого колеса. Прийнявши або , заокруглити отримане число зубів до найближчого цілого числа таким чином, щоб відхилення нового значення передаточного числа відкритої передачі не відрізнялось від розрахункового більш, ніж на 4%.
Кінетостатичний аналіз і визначити:
корисну потужність , Вт;
середній за цикл момент на кривошипі 1 – , ;
потужність електродвигуна М – , Вт.
Вихідні дані:
Зусилля різання ;
Хід різця
;Ширина деталі ;
Кількість подвійних ходів ;
Частота обертання двигуна
;Коефіцієнт корисної дії ;
Числа зубів планетарного редуктора ; ; .
Діаграму зусилля різання наведено на рис. 1,б.
Відповідь на запитання необхідно надати у наступному вигляді:
І. ; формула будови ___________; клас механізму _____.
ІІ. ; ; ; ; ; ; .
ІІІ. ; ; .
Варіант № 25
Довбальний верстат (рис.1,а) складається з важільного механізму, передачі П та електродвигуна М. Важільний механізм у свою чергу складається з кривошипа 1, який несе кулісу 2 з каменем 3, шатуна 4 та різцевої призми 5. Механізм передачі (рис.1,в) складається з послідовно з`єднаних між собою планетарного редуктора та відкритої передачі.
|
в) |
Рис. 1. Кінематична схема машинного агрегату (а), механічна характеристика зовнішніх навантажень (б) та схема передаточного механізму (в)
Необхідно виконати:
Структурний аналіз схеми важільного механізму і визначити:
ступінь рухомості ;
клас механізму за Асуром – Артоболевським.
Кінематичне дослідження механізму передачі, в якому обчислити:
загальне передаточне відношення від електродвигуна до кривошипа (рис.1,в);
невідоме число зубів планетарного редуктора, використовуючи умову співвісності;
передаточне відношення планетарного редуктора;
передаточне відношення відкритої передачі.
Підібрати числа зубів , , виходячи з умови відсутності підрізу меншого колеса. Прийнявши або , заокруглити отримане число зубів до найближчого цілого числа таким чином, щоб відхилення нового значення передаточного числа відкритої передачі не відрізнялось від розрахункового більш, ніж на 4%.
Кінетостатичний аналіз і визначити:
корисну потужність , Вт;
середній за цикл момент на кривошипі 1 – , ;
силу різання
.
Вихідні дані:
Потужність двигуна
;Хід різця ;
Висота деталі
;Кількість подвійних ходів ;
Частота обертання двигуна ;
Коефіцієнт корисної дії
;Числа зубів планетарного редуктора ; ;
.
Діаграму зусилля різання наведено на рис. 1,б.
Відповідь на запитання необхідно надати у наступному вигляді:
І. ; формула будови ___________; клас механізму _____.
ІІ. ; ; ; ; ; ; .
ІІІ. ; ; .
Варіант № 26
Перфораційний верстат (рис.1,а) призначається для прошивки отворів у листовому матеріалі, складається з важільного механізму, передачі П та електродвигуна М. Важільний механізм, у свою чергу, складається з кривошипа 1, шатуна 2, що у з'єднанні з каменем 3 є також і кулісою, повзуна 4, та штока-пробійника 5. Механізм передачі (рис.1,в) складається з послідовно з`єднаних між собою планетарного редуктора та відкритої передачі.
|
в) |
Рис. 1. Кінематична схема машинного агрегату (а), механічна характеристика зовнішніх навантажень (б) та схема передаточного механізму (в)
Необхідно виконати:
Структурний аналіз схеми важільного механізму і визначити:
ступінь рухомості ;
клас механізму за Асуром – Артоболевським.
Кінематичне дослідження механізму передачі, в якому обчислити:
загальне передаточне відношення від електродвигуна до кривошипа (рис.1,в);
невідоме число зубів планетарного редуктора, використовуючи умову співвісності;
передаточне відношення планетарного редуктора;
передаточне відношення відкритої передачі.
Підібрати числа зубів , , виходячи з умови відсутності підрізу меншого колеса. Прийнявши або , заокруглити отримане число зубів до найближчого цілого числа таким чином, щоб відхилення нового значення передаточного числа відкритої передачі не відрізнялось від розрахункового більш, ніж на 4%.
Кінетостатичний аналіз і визначити:
корисну потужність , Вт;
середній за цикл момент на кривошипі 1 – , ;
потужність електродвигуна М – , Вт.
Вихідні дані:
Зусилля прошивки
;Хід пробійника
;Товщина листа
;Кількість подвійних ходів ножа
;Частота обертання двигуна ;
Коефіцієнт корисної дії ;
Числа зубів планетарного редуктора ; .
Діаграму зусилля прошивки наведено на рис. 1,б.
Відповідь на запитання необхідно надати у наступному вигляді:
І. ; формула будови ___________; клас механізму _____.
ІІ. ; ; ; ; ; ; .
ІІІ. ; ; .
Варіант № 27
Виштовхувач деталей (рис.1,а) складається з важільного механізму, передачі П та електродвигуна М. Важільний механізм у свою чергу складається з кривошипа 1, каменя куліси 2, куліси 3, шатуна 4 та повзуна–штовхача 5. Механізм передачі (рис.1,в) складається з послідовно з`єднаних між собою планетарного редуктора та відкритої передачі.
|
в) |
Рис. 1. Кінематична схема машинного агрегату (а), механічна характеристика зовнішніх навантажень (б) та схема передаточного механізму (в)
Необхідно виконати:
Структурний аналіз схеми важільного механізму і визначити:
ступінь рухомості ;
клас механізму за Асуром – Артоболевським.
Кінематичне дослідження механізму передачі, в якому обчислити:
загальне передаточне відношення від електродвигуна до кривошипа (рис.1,в);
невідоме число зубів планетарного редуктора, використовуючи умову співвісності;
передаточне відношення планетарного редуктора;
передаточне відношення відкритої передачі.
Підібрати числа зубів , , виходячи з умови відсутності підрізу меншого колеса. Прийнявши або , заокруглити отримане число зубів до найближчого цілого числа таким чином, щоб відхилення нового значення передаточного числа відкритої передачі не відрізнялось від розрахункового більш, ніж на 4%.
Кінетостатичний аналіз і визначити:
корисну потужність , Вт;
середній за цикл момент на кривошипі 1 – , ;
потужність електродвигуна М – , Вт.
Вихідні дані:
Зусилля штовхача
;Хід штовхача
;Переміщення деталі „д”
;Кількість подвійних ходів штовхача ;
Частота обертання двигуна ;
Коефіцієнт корисної дії ;
Числа зубів планетарного редуктора
;
;
.
Діаграму зусилля штовхача наведено на рис. 1,б.
Відповідь на запитання необхідно надати у наступному вигляді:
І. ; формула будови ___________; клас механізму _____.
ІІ. ; ; ; ; ; ; .
ІІІ. ; ; .
Варіант № 28
Механічний прес (рис 1, а) складається з важільного механізму, передачі "П" та електродвигуна "М". Важільний механізм, у свою чергу, складається з кривошипа 1, повідців 4, 5, 6, базової ланки 3, шатуна 2 та повзуна-плунжера 7. Передаточний механізм (рис. 1,в ) складається з послідовно з'єднаних між собою планетарного редуктора та відкритої зубчастої передачі.
|
в) |
Рис. 1. Кінематична схема машинного агрегату (а), механічна характеристика зовнішніх навантажень (б) та схема передаточного механізму (в)
Необхідно виконати:
Структурний аналіз схеми важільного механізму і визначити:
ступінь рухомості ;
клас механізму за Асуром – Артоболевським.
Кінематичне дослідження механізму передачі, в якому обчислити:
загальне передаточне відношення від електродвигуна до кривошипа (рис.1,в);
невідоме число зубів планетарного редуктора, використовуючи умову співвісності;
передаточне відношення планетарного редуктора;
передаточне відношення відкритої передачі.
Підібрати числа зубів , , виходячи з умови відсутності підрізу меншого колеса. Прийнявши або , заокруглити отримане число зубів до найближчого цілого числа таким чином, щоб відхилення нового значення передаточного числа відкритої передачі не відрізнялось від розрахункового більш, ніж на 4%.
Кінетостатичний аналіз і визначити:
корисну потужність , кВт;
середній за цикл зрівноважувальний момент на кривошипі 1 –
,Нм;потужність електродвигуна М –
,
кВт.
Вихідні дані:
Середнє зусилля тиску
;Хід плунжера
;Абсолютна пластична деформація деталі „д”
;Кількість подвійних ходів
;Частота обертання двигуна
;Коефіцієнт корисної дії
;Числа зубів планетарного редуктора
;
;
.
Діаграму зусилля тиску наведено на рис. 1,б.
Відповідь на запитання необхідно надати у наступному вигляді:
І. ; формула будови ___________; клас механізму _____.
ІІ. ; ; ; ; ; ; .
ІІІ. ; ; .
Варіант № 29
Механічний ніж (рис. 1,а) складається з важільного механізму, передачі "П" та електродвигуна "М". Важільний механізм, у свою чергу, складається із кривошипа 1, тяги 2, важеля – ножа 3, качалки 4 та опори – направляючої 5. Передаточний механізм (рис. 1,в) складається з послідовно з'єднаних між собою планетарного редуктора та відкритої передачі.
|
в) |
Рис. 1. Кінематична схема машинного агрегату (а), механічна характеристика зовнішніх навантажень (б) та схема передаточного механізму (в)
Необхідно виконати:
Структурний аналіз схеми важільного механізму і визначити:
ступінь рухомості ;
клас механізму за Асуром – Артоболевським.
Кінематичне дослідження механізму передачі, в якому обчислити:
загальне передаточне відношення від електродвигуна до кривошипа (рис.1,в);
невідоме число зубів планетарного редуктора, використовуючи умову співвісності;
передаточне відношення планетарного редуктора;
передаточне відношення відкритої передачі.
Підібрати числа зубів , , виходячи з умови відсутності підрізу меншого колеса. Прийнявши або , заокруглити отримане число зубів до найближчого цілого числа таким чином, щоб відхилення нового значення передаточного числа відкритої передачі не відрізнялось від розрахункового більш, ніж на 4%.
Кінетостатичний аналіз і визначити:
корисну потужність , кВт;
середній за цикл момент на кривошипі 1 – , ;
потужність електродвигуна М – , кВт.
Вихідні дані:
Середнє зусилля різання
;Хід ножа
;Висота ділянки різання деталі „д”
;Кількість подвійних ходів
;Частота обертання двигуна
;Коефіцієнт корисної дії
;Числа зубів планетарного редуктора
;
;
.
Діаграму зусилля різання наведено на рис. 1,б.
Відповідь на запитання необхідно надати у наступному вигляді:
І. ; формула будови ___________; клас механізму _____.
ІІ. ; ; ; ; ; ; .
ІІІ. ; ; .
Варіант № 30
Виштовхувач (рис 1, а) складається з важільного механізму, передачі "П" та електродвигуна "М". Важільний механізм у свою чергу складається з кривошипа 1, шатуна 2, качалки – коромисла 3, тяги – повзуна 4, та повзуна-штовхача 5. Передаточний механізм (рис. 1,в) складається з послідовно з'єднаних між собою планетарного редуктора та відкритої передачі.
|
в) |
Рис. 1. Кінематична схема машинного агрегату (а), механічна характеристика зовнішніх навантажень (б) та схема передаточного механізму (в)
Необхідно виконати:
Структурний аналіз схеми важільного механізму і визначити:
ступінь рухомості ;
клас механізму за Асуром – Артоболевським.
Кінематичне дослідження механізму передачі, в якому обчислити:
загальне передаточне відношення від електродвигуна до кривошипа (рис.1,в);
невідоме число зубів планетарного редуктора, використовуючи умову співвісності;
передаточне відношення планетарного редуктора;
передаточне відношення відкритої передачі.
Підібрати числа зубів , , виходячи з умови відсутності підрізу меншого колеса. Прийнявши або , заокруглити отримане число зубів до найближчого цілого числа таким чином, щоб відхилення нового значення передаточного числа відкритої передачі не відрізнялось від розрахункового більш, ніж на 4%.
Кінетостатичний аналіз і визначити:
корисну потужність
,
кВт;середній за цикл момент на кривошипі 1 –
,
;потужність електродвигуна М – , кВт.
Вихідні дані:
Середнє зусилля штовхача
;Хід штовхача
;Переміщення деталі
;Кількість подвійних ходів
;Частота обертання двигуна
;Коефіцієнт корисної дії
.Числа зубів планетарного редуктора:
;
;
.
Діаграму зусилля штовхача наведено на рис.1,б.
Відповідь на запитання необхідно надати у наступному вигляді:
І. ; формула будови ___________; клас механізму _____.
ІІ. ; ; ; ; ; ; .
ІІІ. ; ; .
Варіант № 31
Довбальний верстат (рис.1,а) складається з важільного механізму, передачі П та електродвигуна М. Важільний механізм, у свою чергу, складається з кривошипа 1, каменя куліси 2, куліси 3, шатуна 4, різцевої призми 5. Механізм передачі (рис.1,в) складається з послідовно з`єднаних між собою планетарного редуктора та відкритої передачі.
|
в) |
Рис. 1. Кінематична схема машинного агрегату (а), механічна характеристика зовнішніх навантажень (б) та схема передаточного механізму (в)
Необхідно виконати:
Структурний аналіз схеми важільного механізму і визначити:
ступінь рухомості ;
клас механізму за Асуром – Артоболевським.
Кінематичне дослідження механізму передачі, в якому обчислити:
загальне передаточне відношення від електродвигуна до кривошипа (рис.1,в);
невідоме число зубів планетарного редуктора, використовуючи умову співвісності;
передаточне відношення планетарного редуктора;
передаточне відношення відкритої передачі.
Підібрати числа зубів , , виходячи з умови відсутності підрізу меншого колеса. Прийнявши або , заокруглити отримане число зубів до найближчого цілого числа таким чином, щоб відхилення нового значення передаточного числа відкритої передачі не відрізнялось від розрахункового більш, ніж на 4%.
Кінетостатичний аналіз і визначити:
корисну потужність , Вт;
середній за цикл момент на кривошипі 1 – , ;
силу різання .
Вихідні дані:
Зусилля різання ;
Хід різця
;Висота деталі
;Кількість подвійних ходів ;
Частота обертання двигуна
;Коефіцієнт корисної дії ;
Числа зубів планетарного редуктора ; ; .
Діаграму зусилля різання наведено на рис. 1,б.
Відповідь на запитання необхідно надати у наступному вигляді:
І. ; формула будови ___________; клас механізму _____.
ІІ. ; ; ; ; ; ; .
ІІІ. ; ; .
Варіант № 32
Поздовжньо – стругальний верстат (рис.1,а) складається з важільного механізму, передачі П та електродвигуна М. Важільний механізм у свою чергу складається з кривошипа 1, каменів куліси 2 і 4, куліси 3 та різцевої призми 5. Механізм передачі (рис.1,в) складається з послідовно з`єднаних між собою планетарного редуктора та відкритої передачі.
|
в) |
Рис. 1. Кінематична схема машинного агрегату (а), механічна характеристика зовнішніх навантажень (б) та схема передаточного механізму (в)
Необхідно виконати:
Структурний аналіз схеми важільного механізму і визначити:
ступінь рухомості ;
клас механізму за Асуром – Артоболевським.
Кінематичне дослідження механізму передачі, в якому обчислити:
загальне передаточне відношення від електродвигуна до кривошипа (рис.1,в);
невідоме число зубів планетарного редуктора, використовуючи умову співвісності;
передаточне відношення планетарного редуктора;
передаточне відношення відкритої передачі.
Підібрати числа зубів , , виходячи з умови відсутності підрізу меншого колеса. Прийнявши або , заокруглити отримане число зубів до найближчого цілого числа таким чином, щоб відхилення нового значення передаточного числа відкритої передачі не відрізнялось від розрахункового більш, ніж на 4%.
Кінетостатичний аналіз і визначити:
корисну потужність , кВт;
середній за цикл зрівноважуючий момент на кривошипі 1 – ,Нм;
потужність електродвигуна М –
,
кВт.
Вихідні дані:
Зусилля різання
;Хід різця
;Ширина деталі
;Кількість подвійних ходів
;Частота обертання двигуна
;Коефіцієнт корисної дії
;Числа зубів планетарного редуктора
;
.
Діаграму зусилля різання наведено на рис. 1,б.
Відповідь на запитання необхідно надати у наступному вигляді:
І. ; формула будови ___________; клас механізму _____.
ІІ. ; ; ; ; ; ; .
ІІІ.
;
;
.
Зразок виконання ККР
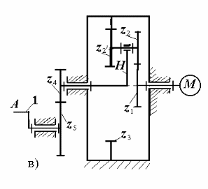
Варіант № 34
Довбальний верстат (кінематична схема на рис. а) складається з важільного механізму, передачі П та електродвигуна М. Важільний механізм у свою чергу складається з кривошипа 1, каменя куліси 2, куліси 3, шатуна 4, різцевої призми 5. Механізм передачі (кінематична схема на рисунку в) складається з послідовно з`єднаних між собою планетарного редуктора та відкритої передачі.
Рис. 1. Кінематична схема машинного агрегату (а), механічна характеристика зовнішніх навантажень (б) та схема передаточного механізму (в)
Необхідно виконати:
І. Структурний аналіз схеми важільного механізму і визначити:
а) ступінь рухомості ;
б) клас механізму за Асуром – Артоболевським.
ІІ. Кінематичне дослідження механізму передачі, в якому обчислити:
а) загальне передаточне відношення від електродвигуна до кривошипа (рис.1,в);
б) невідоме число зубів планетарного редуктора, використовуючи умову співвісності;
в) передаточне відношення планетарного редуктора;
г) передаточне відношення відкритої передачі.
Підібрати
числа зубів
,
з умови відсутності підрізу меншого
колеса. Прийнявши
або
,
округлити отримане число зубів
до найближчого цілого числа таким
чином, щоб нове значення передаточного
числа
відкритої передачі не відрізнялось від
розрахункового більш, ніж на 4%.
ІІІ. Кінетостатичний аналіз і визначити:
а) корисну потужність , Вт;
б) середній за цикл зрівноважуючий момент на кривошипі 1 – , ;
в) потужність електродвигуна М – , Вт.
Вихідні дані:
Зусилля різання ;
Хід різця ;
Висота деталі ;
Кількість подвійних ходів ;
Частота обертання двигуна ;
Коефіцієнт корисної дії ;
Числа зубів планетарного редуктора ; ; .
Діаграму зусилля різання наведено на рис. 1,б.
Розв’язок
