- •11, 12. Фільтраційний розрахунок однорідної земляної греблі на водонепроникній основі.
- •13. Перевірка фільтраційної міцності грунтів тіла греблі та грунтів основи.
- •15. Баштовий водоскид
- •16. Регульовані повеневі водоскиди.
- •17.Конструкція і основи проектування відкритого берегового водоскиду з затворами.
- •19.Фільтраційний розрахунок флютбету гідротехнічної споруди.???
- •20. Гідравлічний розрахунок відкритого водоскиду
- •21. Водоподаючі канали їх конструкція і гідравлічні розрахунки
- •22. Головні водозабірні споруди їх конструкція
- •23. Водовипуски з каналів в стави.
- •24. Спряжуючі споруди (перепади і швидкотоки).
- •25. Перехідні споруди (акведуки і дюкери).
- •26. Аератори і фільтри.
- •27. Риборозбірні – осушувальні канали. Донні водоспуски.
- •28. Рибовловлювачі.
- •29. Рибозахисні споруди.
№1
Гідротехнікою назв. Галузь науки і техніки що займається використанням ВЖР для потреб народного господарства і боротьби з водною стихією за допомогою будів інженерних споруд.
Гідротехніка пов’язана з гідрологією, гідравлікою, геологія, гідрогеологія, топогеодезія, будівельна механіка, будівельні матеріали і конструкції.
Гідрологія вивчає характер і потужність природних водотоків що дає змогу втановити витратив оди в них і пропускну здатність через гідротехнічні споруди
Гідравліка дає змогу визначити розміри водопропускних отворів гідротехнічних споруд, тиск води і швидкість течії
Геологія встановлює тип грунту в р-н будівництва і чи можна там дійсно звести споруду
Гідрогеологія вивчає режими грунтових вод і зміни в ьому через будівництво гідротехнічної споруди
Геодезія дає дані про рельєф р-н будівництва вона дає змогу правильно вибрати місце
Будівельна механіка, будівельні матеріали і конструкції.потрібні для визначення розмірів гідротехнічних споруд Рибогосподарська гідротехніка пов’язана зрозвитком із розвитком ставового і штучного риборозведення її застосування розпочалося із створенням перших штучних ставів перші стави були збудовані в Троїце-Сергіївській лаврі.
№2
Є такі види рибогосподарських споруд
1-греблі і дамби споруди для створення водойми (стави чи водосховище) в основному це низьконапірні земляні греблі
2-водоскидні споруди влаштовуються в тілі греблі чи в обхід для скидання надлишку повеневих вод
3- споруди для водопостачання рибоводних ставів( головні водозабірні споруди, трубопроводи водо падаючі канали, регулюючі канали та споруди, водовипуски з каналів в стави, спряжуючі споруди, перехідні споруди аератори, фільтри для попередження потрапляння риби непромислово ціної в канали і стави
4-споруди для осушування ставів( рибо вловлювачі, донні водоспуски, осушувальні та скидні канали)
5рибозахисні та рибо загороджувальні споруди( механічні і електро рибо загороджувачі, верховини ставів)
6шляхи для покращення міграції риби( рибоходи, рибо підйомники, вугре ходи)
Всі групи споруд розмщуються в господарствах в залежності від місця і характеру джерела водопостачання
Гідротехнічні споруди можуть бути постійними і тимчасовими. Всі тимчасові споруди відносяться до 4 класу
№3
Гідротехнічний вузол – це комплекс гідротехнічних споруд, побудованих на одній ділянці річки пов’язаних між собою призначенням і роботою. Вони як правило створюються на річках для підняття води до потрібної відмітки, для самопливного водопостачання , випуску води і скидання води з верхнього в нижній бєф. Верхній бєф ділянка річки шо прилягає до підпірної споруди з верхової сторони , а нижній бєф теж саме тількі з низової сторони.всі споруди гідровузлі між собою скомпоновані. Компоновка це вибір створу греблі і розміщення водозабірних і водоскидних споруддо основних її відміток( гребеня греблі, відміткі рівня води)
Створ греблі вибирають у найвужчому місці заплави річки. Водоскидні споруди залежать від скиду води і економічних показників. Водозабірні споруди розміщують біля кінця греблі для самопливного постачання води в магістральний канал. Донний водоспуск для повного скиду води з водосховища На великих річках призначенні для отримання електроенергії і забезпечення судноплавства. Вони перегороджують шляхи нересту для риби тому в їх склад входять рибо пропуск одже до складу гідровузла входять ( греблі, гідроелектростанції, судноплавний шлюз, рибопропускна споруда)
№4
В рибоводних господарствах так щоб повністю використовувати придатну площу і зручно пересажувати рибу
На розміщення ставів впливає рельєф місцевост, геологічні умови , дороги , населенні пункти.
В короповому ставовому господарстві стави розміщуються в основному так ( зимувальні стави біля головного ставу, нерестові біля ворищувальних ,маточні поблизу зимувальних і нерестових, нижче за течією за вирощувальними ставами розміщуються нагульні стави, карантиний став розміщують в кінці ділянки на відстанні не менше 20 м від дамб інших ставів). Стави розміщуються як в заплаві так і в руслі але нерестові і зимувальні стави повині бути в заплаві.
№5
Існує 3 типи розміщення ставів ( руслове, заплавне, комбіноване )
Заплавне розміщення ставів являє собою розміщення по одну сторону заплави річки при одному пологому березі і водопостачання ведеться через один магістральний канал. Якщо два береги пологі то стави розміщуються на двох сторонахз водозабірними спорудами. В такій схемі створюється головний став в греблі якого розміщується повеневий водоскид і доний водоспуск.
Руслове розміщення являє собою каскад нагульних чи вирощувальних ставів побудованих з вузькою заплавою і крутими берегами . При такому розміщенні ставів подача і скид води залежні в кожному ставі створюються гребля в якій має бути водоскид і доний водопуск що здорожує вартість спорудження як окремого ставу так і всього господарства
Комбінований метод це поєднання руслових і комбінованих ставів в такій схемі водопостачання залежне і в руслових ставах будують дорогі водоскидні споруди. Недолік є те що в стави роз плідного типу вода йде з нагульних ставів. При використані даної схеми розміщення ставів слід ретельно все обґрунтувати в іншому випадку використати іншу схему.
№6
Гребля – основна споруда гідротехнічного вузла будується для створення водосховища. Вона ділить водоток на верхній і нижній бєфи. Призначення греблі полягає в тому щоб створити необхідний рівень води та повному забезпеченню господарства водою. Основні вимоги до гребль такі:
1 розміри греблі мають бути такими шоб при фільтрації через неї води не виникли деформації греблі
2 вода шо фільтрується повина бути зібрана в нижній бєф для попередження виносу грунту
3 не допускається перелив води через гребінь греблі
4 спряження тіла греблі з з основою, берегами і бетоними спорудами має бути щільним і надійним щоб не виникло фільтрації в цих місцях.
5 укоси мають бути стійкими і захищені від розмиву
6 гребінь греблі має бути закріплений відповідно до класу дороги шо по ньому буде проходити
7 гринти повині бути певної якості і добре ущільнені
8 грунти в основі мають бути добре вивчені і лише тоді вибрати тип греблі і конструкцію спряженого тіла греблі з основою.
№7
На водонепроникній основі можуть зводити такі типи гребель( однорідні, з пластким чи жорстким екраном, з ядром, з діафрагмою, з різнорідних грунтів.
Однорідні будуються коли на місті будівництва в достатній кількості є водонепроникні грунти ( сиглинків, лесі, глини). В р-н з суворими зимами передбачають захисний шор з гравійно-піщаного чи піщаного грунту. В однорідних греблях рекомендують дренажі зі сторони низового укосу.
Греблі з пластичним екранов будують у варіанті коли тіло греблі зводять з водопроникних грунтів. Екран зменшує фільтрацію води через тіло греблі його роблятьз суглинку суміші глини і піску, торфу.торфофі екрани бувають суцільні і шуруваті. Для захисту екрану від промерзання його накривають захисним шаром з верхової сторони.
Земляні греблі з жорстким екраном будують коли нема грунту для пластинчастого. Такі екрани бувають бетоними або залізобетонними які є складними і дорогими.
Греблі з ядром будують з водопроникних грунтів. Ядро зменшує фільтрацію води і робиться з тих же матеріалів що і екран. Такі греблі будують на основах що сильно деформуються.
Греблі з діафрагмою теж зводять коли відсутні матеріали для пластинчастого ядра. Діафрагма може бути виготовлена з бетону . залізобетону, металу і бітумних матеріалів
Греблі з різнорідних грунтів будують коли відсутні однорідні в певній кількості. Водопроникний грунт в таких греблях розміщують на верховій напірній стороні греблі.
В земляних гідро спорудах використав полімерні фільтрові протифільтраційні пристрої у вигляді діафрагми і екранів
№8
Ширина гребеня греблі приймається в залежності від категорії дороги що по ньому проходить. Мінімальна ширина дороги приймається 4.5 м. гребінь греблі без дороги не закріплюється. Для стоку води гребінь роблять з поперечним укосом по обидві сторони від осі цей уклон залежить від типу дороги. Вздовж дороги на греблі ставлять сигнальні стовпчики висотою 0.8-1.0 м на відстані один від одного 2м. Перевищення гребеня греблі над розрахунковим рівнем води визначається за двома розрахунковими випадками рівня води в верхньому бєфі. ( відмітці нормального підпірного рівня(НПР), на відмітці форсованого підпірного рівня (ФПР). Перевищення гребеня знаходять з вітрового нагону води , висоти накочування вітрових хвиль на укіс, забезпеченістю 1% і необхідного запасу а , Відмітка гребеня приймається по більшій відмітці гребеня греблі. 9. Кріплення укосів
Для захисту від руйнівної дії хвиль, льоду передбачається кріплення верхового укосу, яке може виконуватись з бетонних і залізобетонних плит, камінного накиду, асфальтобетону, з деяких інших матеріалів та біологічне.
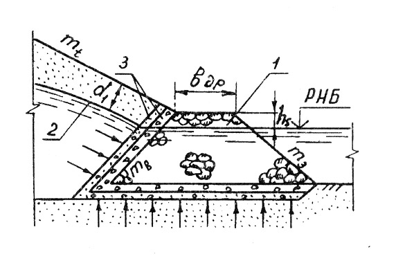
Тип кріплення в кожному випадку встановлюють за техніко-економічним порівнянням варіантів з врахуванням максимальної механізації робіт, використаєш місцевих матеріалів, характеру грунту тіла греблі, агресивності води і довговічності кріплення в процесі експлуатації Кам’яне кріплення у вигляді кам’яного накиду (рис,2.5)) виконується з невідсортованого каменю на підготовці у вигляді зворотного фільтру. Розміри кам'яного кріплення визначаються та рекомендаціями [15].
Рис.2.5. Кам’яне кріплення:
1 — кам’яний накид; 2 -зворотний фільтр; 3 - кам’яний упор;
4 -полегшене кріплення; 5 - верхня межа кріплення; 6 - нижня межа
Бетонні та залізобетонні кріплення виконуються у вигляді плит (рис.2.6), що виготовляються на місці, або збірних залізобетонних плит. Монолітні плити, товщиною 15...50 см, прямокутної форми в плані, з розмірами не більше 45 х 45 м. Довша сторона розміщується вздовж урізу води. Збірні плити товщиною 8...20 см і розмірами від 1,5 х 1,5 до 5 х 5 м вкладаються на суцільну підготовку (зворотний фільтр). Підготовка може бути одношарова чи багатошарова з різнозернистого матеріалу. Товщина окремх шарів двох або трьохшарових підготовок при механізованому вкладанні їх на укіс приймається не менше 20 см для крупноуламкового грунту і щебеню і не менше 15 см — для крупного піску. Розміри плит визначаються за рекомендаціями [1,2
Рис.2.6. Кріплення укосу плитами:
1 - основне кріплення; 2 - полегшене кріплення; 3 - підготовка під кріплення; 4 — упор; 5 І шви; 6 — верхня межа кріплення; 7 - нижня межа
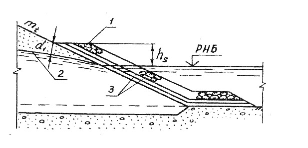
Для кріплення низового укосу може застосовуватись залуження або дернування в районах, сприятливих для проростання трав, а в умовах сухого клімату низові укоси покривають шаром щебеню. 10.Дренажні та протифільтраційні пристрої
Дренажні пристрої в земляних греблях передбачають для організованого відводу води, що профільтрувалась через тіло греблі і основу, попередження виходу фільтраційного потоку на низовий укіс, пониження десперсійної поверхні, підвищення стійкості укосу тощо.
Найбільш поширеними конструкціями дренажу є дренажна призма в русловій частині річкової долини і представлений дренаж на заплавній частині греблі (рис.1 )
Рис.1. Дренажна призма та Приставний дренаж
1 – камяний накид 2 – крива депресії 3 – зворотний фільтр
В місцях виходу фільтраційного потоку в дренаж можуть виникати фільтраційні деформації грунту тіла греблі та основи. Для попередження таких деформацій застосовують зворотний фільтр, що складається з 1-3 шарів грунтів різної крупності (пісок, щебінь). Товщина кожного шару 15-20 см. Крупність матеріалу фільтра зростає в напрямку течії, часгинки попереднього шару не повинні проникати між частинками наступного.В практиці рибництва найчастіше використовують однорідні земляні насипні греблі без спеціальних протифільтраційним пристроїв (екрану ядро, діафрагма).
11, 12. Фільтраційний розрахунок однорідної земляної греблі на водонепроникній основі.
Фільтраційними розрахунками належить визначити параметри фільтраційного потоку, положення кривої депресії, фільтраційну витрату, градієнти напору, що потрібні для обґрунтування розмірів і конструкції греблі, визначення стійкості укосів, фільтраційної міцності і ін. Фільтраційні розрахунки виконуються при характерних рівнях води в верхньому і нижньому б’єфах, при яких створюються найгірші умови з точки зору міцності та стійкості греблі, а також втрат води на фільтрацію.
Розрахунковими рівнями будуть: в верхньому б’єфі—відмітка НПР, в нижньому—рівень води при пропуску витрати Qмах, що відповідає глибині води визначеній за кривою в залежності Q=f(h).Фільтраційний розрахунок через однорідну греблю у відповідності до розрахункової схеми виконується за формулами:
q – питома фільтраційна витрата, м2/добу;kТ – коефіцієнт фільтрації тіла греблі;
Н1 – глибина води у верхньому б’єфі;Н2 – глибина води у нижньому б’єфі;
L – віддаль від початку координат до точки перетину внутрішнього укосу дренажу з віссю абсцис. Н1=↓НПР –↓дна (м); Н2=↓РНБ – ↓дна (м).
13. Перевірка фільтраційної міцності грунтів тіла греблі та грунтів основи.
Перевірка фільтраційної міцності тіла греблі і основи проводиться для перерізу , для якого виконані фільтраційні розрахунки. Щоб оцінити фільтраційну міцність тіла греблі, протифільтраційних пристроїв необхідно перевірити умову:
Іestm - діючий середній градієнт напору; Icrm - критичний градієнт, який для попередніх розрахунків вибирається із таблиці; γН=1,1 – коефіцієнт надійності, залежить від класу капітальності споруди.
Основа Для однорідної основи діючий середній градієнт напору визначаємо у відповідності до розрахункової схеми за формулою:
L1 – віддаль від підошви верхового укосу до крайньої лівої точки дренажу; Z – напір на греблю. Tp=0.5 L1 L1=L+mh+H |
Тіло греблі
Для
тіла
греблі
середній градієнт напору визначаємо
у за формулою:
L2=L+ΔLB L – віддаль, визначена за розрахунковою схемою; Z – напір на греблю.
|
14. Повеневі водоскиди автоматичної дії Повеневі водоскиди проектуються двох основних типів- автоматичні і регульовані з затворами.Можливі також комбіновані водоскиди.
При проектуванні і будівництві повеневих водоскидів широкого використовують типові проекти, у відповідності до вимог будівельних норм і правил (ДБН, СниП).
Конструкція автоматичних і регульованих водоскидів відрізняються тим, що у автоматичних водоскидів поріг споруди розміщений на відмітці нормального підпірного рівня (НПР), при підвищенні рівня води над порогом вода автоматично скидається з верхнього б’єфу в нижній; у регульованих водоскидів поріг споруди нижче НПР (навіть до дна) і отвір споруди перекривається затвором (щитом), за допомогою якого і регулюють рівень води в водосховищі. Автоматичні і регульовані водоскиди відрізняються також за величиною витрат води, що скидається, за місцем розміщення і за напором над порогом водоскиду.
