Министерство образования и науки Российской Федерации
Федеральное агентство по образованию
ФГБОУ ВПО
«Череповецкий государственный университет»
Институт информационных технологий
Кафедра электропривода и
электротехники
Дисциплина: Электротехника и
электроника
Расчетно-графическое задание
«Электронный кодовый замок»
Выполнил: Попов Ф.Н.
Группа: 1ПО – 21
Принял: Нохрин А.Н.
Отметка о зачёте:_______
2011 – 2012 Учебный год
Оглавление
Введение 3
Анализ возможных интересных решений по результатам патентного поиска и обзора технической литературы 4
1) Тиристорный кодовый замок. 4
2) Кодовый замок с емкостной памятью. 6
3) Кодовый замок. 7
Литература 16
Введение
Кодовые замки являются эффективным средством предотвращения доступа посторонних лиц к охраняемым помещениям. К их достоинствам можно отнести простоту в обращении, надёжность, возможность обеспечить высокую степень защиты, относительную лёгкость смены кода (по сравнению со сменой обычного механического замка). Также немаловажными являются отсутствие необходимости изготовления ключей при предоставлении доступа большому количеству людей и невозможность физической потери ключа. Недостатком таких систем можно назвать возможность для злоумышленника подсмотреть код или подобрать его. Однако, при большой разрядности кода или наличии конструктивных особенностей, препятствующих подбору кода, таких как ограничение количества попыток или введение временной задержки между неудачными попытками, эта задача сильно затрудняется, поэтому последний недостаток нельзя назвать существенным.
Цель: Разработать схему электронного замка, управляемого дистанционно кодом, в виде заранее установленного трехзначного числа от 111 до 999.
Анализ возможных интересных решений по результатам патентного поиска и обзора технической литературы
Тиристорный кодовый замок.
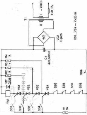
Замок рассчитан на управление восемью кнопками, находящимися на наружной стороне двери. Устройство просто в управлении, изготовлении и налаживании. Принципиальная схема замка приведена на рис.1.
Кнопки SB1 — SB4, работающие на замыкание, служат для набора установленного кода, а кнопки SB5 — SB8, работающие на размыкание, — для приведения устройства в исходное состояние, например в случае ошибочного набора кода или его подбора.
Замок срабатывает только при одновременном открывании всех тиристоров VS1—VS4. Добиться этого можно последовательным нажатием кнопок SB4, SB3, SB2 и SB1. При другой последовательности нажатия этих кнопок не все тиристоры будут открыты и, следовательно, открыть дверь не удастся. Исключение составляет случай, когда одновременно нажаты все четыре кнопки SB1— SB4. В случае нажатия на любую из кнопок SB5—SB8 цепь питания электромагнита YA1 обрывается и устройство приводится в исходное состояние. Тоже произойдет и при нажатии всех кодовых кнопок SB1—SB8. Кнопка SB9 служит для приведения замка в исходное состояние после открывания двери. Замок питается от сети переменного тока напряжением 220 В через трансформатор Т1 и двухполупериодный выпрямитель VD2. Для питания замка может быть использован любой блок питания с выходным напряжением 12—60 В, в зависимости от типа используемого электромагнита.
Рис. 1
2) Кодовый замок с емкостной памятью.
Описан кодовый замок, «памятью» в котором служат три последовательно соединенных конденсатора. Принцип работы основан на последовательной зарядке указанных конденсаторов при нажатии на соответствующие кодовые кнопки до суммарного напряжения, достаточного для срабатывания тринисторного ключа. Код — четырехразрядный.
В устройстве используется тринистор КУ201В. Принципиальная схема приведена на рис. 2.
Рис. 2
