- •38. Асинхронды қозғалтқыштарды басқару үшін арналған жиілік түрлендіргіштері. Түзеткіші басқарылатын жиілік түрлендіргіші.
- •39. Асинхронды қозғалтқыштарды басқару үшін арналған жиілік түрлендіргіштері. Ендік – импульсті модуляциялық жиілік түрлендіргіші.
- •40. Тұйықталмаған электр жетегі. Олардың кемшіліктері.
- •41. Тұйықталңан электр жетегі.
- •42. Жылдамдық бойынша теріс кері байланысы бар тұйықталңан электр жетегі.
- •43. Ток бойынша теріс кері байланысы бар тұйықталған электр жетегі.
- •44. Жылдамдық және ток бойынша кері байланысы бар тұйықталған электр жетегі.
- •47. Электр магнитті инерттілікті ескерген кездегі электр жетегіндегі өтпелі үрдістер
- •48. Электр қозғалтқышын таңдау.
- •49. Механизмнің және қозғалтқыштың жүктемелік диаграммалары.
- •50. Қозғалтқыштардың қызуы және суытылуы. Қозғалтқыштардың қызу бойынша жұмыс режімдері.
- •53. Қозғалтқыштардың қызуы бойынша балама момент әдісімен тексеру.
- •54. Қозғалтқыштардың қызуы бойынша балама қуат әдісімен тексеру.
- •56. Автоматтандырылған электр жетегі жолымен энергия үнемдеу.
- •57. Асинхронды электр жетегінің жұмысын кернеу реттегішінің көмегімен үнемдеуді өсіру
- •58. Асинхронды қозғалтқышы бар электр жетегінің координаттарын кернеуді өзгертіп реттеу.
- •59. «Тиристорлық кернеу реттегіш – ақ» схемасымен кернеуді реттеу.
- •63. Жылдамдықты реттеу диапазоны деген не?
- •66. Жылдамдықты реттеу қалыптылығы.
- •67. Қозғалтқыштың рұқсат етілетін жүктемесі.
- •68. Жылдамдықты реттеу үнемділігі.
- •73. Тәуелсіз қоздырылатын тұрақты ток қозғалтқышының магнит ағынын импульстік реттеу.
- •78. Активті момент деген не?
- •79. Реактивті момент деген не?
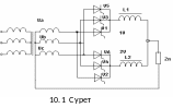
38. Асинхронды қозғалтқыштарды басқару үшін арналған жиілік түрлендіргіштері. Түзеткіші басқарылатын жиілік түрлендіргіші.
Қазіргі уақытта айнымалы токтың жиіліктік басқару машиналарын жасау үшін қозғалыс принциптерімен, сұлбалық шешімдерімен, басқару алгоритмдерімен және т.б. ажыратылатын жиілік түрлендіргіштерінің әртүрлі нұсқалары қолданылуда. Қарастырудан бұрын қолданылған белгілі кемшіліктері бар электрлік машиналық ЖТ шығарып, қазіргі замандағы статикалық түрлендіргіштерге тоқталамыз.
Шығыс кернеуінің немесе ЖТ тогының түрлену негізі бойынша тікелей жиілікті түрлендіретін (ТЖТ, немесе циклоконверторлар) және тұрақты токты түйінімен ЖТ-ға бөлуге болады. ТЖТ-нің кірісіндегі айнымалы токтың көп фазалы жүйесінің кернеу қисықтарынан қажетті жиіліктегі, амплитудағы және фазадағы айнымалы кернеудің (тоқтың) шығыс қисығы құралады. Берілген типтегі құрылғыларда желі кернеуінің түзету функциясы және оның қажетті кернеуге немесе токка түрленуі бір құрылғыда орындалады.
Бұл
энергияның бір рет түрлендірілуі және
ПӘК-ң жоғары мәні, аз көлемді және ТЖТ
салмағын қамтамасыз етеді. Олар да
түзеткіштер сияқты (бірфазалық,
көпфазалық, нөлдік, көпірлік) сол сұлбалар
арқылы орындалады. 10.1 суретте түрлендіру
принципін анықтау үшін өндірістік
жиіліктің f1
үшфазалық кернеуінің реттелетін
жиіліктің f2
бірфазалы
кернеуге түрлендірілуін іске асыратын
ТЖТ-ң қарапайым сұлбасы көрсетілген.
Түрлендіргіш қарсы-паралельді нөлдік сұлбадағы екі комплектілі реверсивті түзеткіш сұлбасы бойынша орындалған. Шығыс кернеуі T2/2 жарты периодына тең болғанда әрбір топ 1V және 2V уақытқа ашылады, оң жарты толқын 1V тобының, теріс 2V тобының жұмысында құралады. Түрлендіргіштің шығыс кернеуі иілген фазалық кернеу түрінде көрсетіледі (10.2 суретте көрсетілген).
Бұл кернеудің формасы желідегі фаза санына тәуелді, шығыс кернеуінің жиілігін 1V және 2V топтарының өткізгіштік ұзақтығын өзгерту арқылы реттеуге болады. ТЖТ кемшілігі ретінде шығыс жиілігінің диапазонының шектелген болып табылуы. Қоректендіретін желінің жиілігі 50 Гц болғанда f2 реттелудің жоғарғы шегі 25 Гц құрайды. Түрлендіргіштің қоректендіру фазасын өсіру немесе жоғарғы жиіліктегі кернеуді берумен ары қарай ж
иілікті жоғарлату вентилдердің табиғи коммутациялауының тоқтауымен байланысты болады. Сондықтан ТЖТ пайдалану аймағы реттелетін электр жетекте баяу жүрістегі редукторсыз электр жетектермен және ротор тізбегі (екі қореткендірудегі машиналар) бойынша басқару сұлбаларымен шектелген.
39. Асинхронды қозғалтқыштарды басқару үшін арналған жиілік түрлендіргіштері. Ендік – импульсті модуляциялық жиілік түрлендіргіші.
Тұрақты ток түйінді ЖТ-ті, басқаратын түзеткішті түрлендіргіштер және кернеудің немесе токтың (АИ ЖТ 10.3 суретті қара) автономды инверторларымен
және басқарылмайтын түзеткішті ЖТ және кең-импульсті модуляциялы түзетілген кернеу (КИМ ЖТ 10.4 суретті қара) деп бөлуге болады.
ЖТ-ш АИ-ды және ЖТ-ш ШИМ-ді түрлендіргіштердің күштік бөлігін сұлбалық шешуде тұрақты түрде пайдаланылады – бұлар негізінен классикалық үш фазалы көпірлік сұлбалар. Қоректеніру желінің тогының және түзетілген кернеуінің жоғарғы горманикасын азайту үшін көп фазалы түзету сұлбасын пайдаланылады.
