- •1. Разработка аппаратуры синхронной цифровой иерархии
- •1.2 Основные особенности трассы волс
- •2. Расчёт необходимого числа каналов и выбор системы передачи
- •2.2 Расчёт длины участка регенерации
- •3. Современные методы проектирования и строительства волоконно-оптических линий связи
- •3.1 Трассировка волоконно-оптической линий связи
Введение
Современные первичные сети должны обеспечивать передачу и переключение потоков информации, ввод и выделение этих потоков в произвольных пунктах, глубокий контроль качества и тарификацию в соответствии с действительным временем пользования связью и её качеством. Перечисленные выше требования можно выполнить при синхронной системе группообразования. В 1998 году МККТТ принял технологию СЦИ, разработанную с учётом мирового опыта создания цифровых сетей. Аппаратура СЦИ является программно управляемой и интегрирует в себе средства преобразования, передачи, переключения, контроля управления.
В соответствии с этим, в настоящее время в Республике Казахстан активно ведутся работы по строительству национальной сети на основе технологии СЦИ с использованием волоконно-оптических кабелей. Оптическое волокно в настоящее время считается самой совершенной средой передачи информации, оптический световод позволяет передавать большие потоки информации на значительные расстояния.
Тема дипломной работы актуальна, так как сегодня волоконная оптика находит применение практически во всех задачах, связанных с передачей информации. Если на уровне настольного ПК волоконно-оптический интерфейс только начинает единоборство с проводным, то при построении магистральных сетей давно стало фактом безусловное господство оптического волокна. Коммерческие аспекты оптического волокна также говорят в его пользу - волокно изготавливается из кварца, то есть на основе песка, запасы которого очень велики.
Целью данной курсовой работы является проектирование линии связи на основе волоконно-оптических кабелей. В связи с чем особое внимание уделено строительству волоконно-оптической линии связи.
1. Разработка аппаратуры синхронной цифровой иерархии
.1 Обзор волоконно-оптических систем
При разработке аппаратуры СЦИ была предусмотрена обязательная совместимость не только скоростей, но также стыков, что отсутствует в аппаратуре плезеохронной цифровой иерархии. Для этого все разработчики аппаратуры СЦИ руководствуются соответствующими рекомендациями ITU-T, в частности для СЦИ такими рекомендациями являются G.957 и G.691, которые регламентируют оптические и электрические интерфейсы систем СЦИ всех уровней. В частности, к стандартным оптическим интерфейсам, определённым рекомендациями G.95, относятся следующие параметры: длина волны оптического излучения, диапазон длин волн, ширина спектральной линии излучения, уровень оптической мощности на передаче, уровень чувствительности приёмного устройства при заданном коэффициенте ошибки для данной скорости передачи. Выбор значений этих параметров определяется скоростью передачи информации и максимальной длинной линии. Аппаратура СЦИ всех уровней иерархии предназначена для работы на оптическое волокно, параметры которого также регламентированы рекомендациями G.652, G.653, G.655.
В тех случаях, когда расстояние между пунктами, которые необходимо соединить при помощи ВОЛС с аппаратурой СЦИ, превышает ту длину, которая позволяет перекрыть энергетический потенциал системы, либо на передающей стороне, либо на обоих концах линии применяется соответственно оптический усилитель мощности на передаче и на приёме. Выбор этих вариантов регламентируется рекомендацией G.691.
Структурно аппаратура СЦИ состоит из следующих блоков:
оборудование внешнего доступа;
синхронный линейный регенератор;
синхронные разветвительные мультиплексоры;
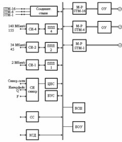
Таким образом, системы СЦИ любого производителя строятся по обобщённой схеме, представленной на рисунке-1.
Кроме упомянутых выше основных узлов и блоков в состав аппаратуры СЦИ входят:
система контроля и управления;
блоки аварийной и предварительной сигнализации;
блоки питания и защиты от перегрузок и внешних воздействий, в том числе электромагнитных полей.
Система контроля и управления представляет собой совокупность датчиков различных параметров и цепей, соединяющих точки контроля и управления с персональным компьютером. На дисплее компьютера отображаются значения всех необходимых параметров, как оптических, так и электрических. Эта система позволяет осуществлять диагностирование состояния всего участка сети связи, в котором задействована данная аппаратура СЦИ. Предусмотрена также возможность управления и конфигурирования участков сети.
В случаях повреждения сети, например обрыва оптического кабеля, в аппаратуре СЦИ всех уровней для предоставления возможности проведения восстановительных работ и обеспечения безопасности персонала предусмотрено устройство автоматического отключения лазера. Это устройство периодически включает лазер со следующим временным интервалом: 70..90 секунд лазер выключен, от 1 до 5с - включён. При восстановлении линии система автоматически восстанавливает свои функции.
Рисунок 1 Общая структурная схема системы ВОСП с СЦИ.
М-Р - мультиплексор;
ОУ - оптический усилитель;
СИ - соединительный интерфейс;
ППП - порт первичных потоков;
ЦБС - центральный блок синхронизации;
БУС - блок управления и связи;
СС - служебная связь;
КПД - канал передачи данных;
БОУ - блок обработки указателей;
Основным Функциональным модулем сетей СЦИ является мультиплексор. Термин Мультиплексор используется как собственно для мультиплексоров, служащих для сборки (мультиплексирования) высокоскоростного потока из низкоскоростных, так и для разборки (демультиплексирования) высокоскоростного потока с целью выделения низкоскоростных потоков Мультиплексоры СЦИ в отличие от обычных мультиплексоров, используемых, например, в сетях ПЦИ, выполняют как функции собственно мультиплексора, так и функции устройств терминального доступа, позволяя подключить низкоскоростные каналы ПЦИ непосредственно к своим входным портам. Они являются более универсальными и гибкими устройствами, кроме задачи мультиплексирования выполняют ещё и задачи коммутации, концентрации и регенерации. Это оказывается возможным в силу модульной конструкции СЦИ мультиплексоров - SMUX, при которой выполняемые функции определяются лишь возможностями системы управления и составом модулей, включённых в спецификацию мультиплексора. Принято, однако, выделять два основных типа мультиплексора: терминальный мультиплексор и мультиплексор ввода - вывода.
Терминальный мультиплексор (ТМ) является мультиплексором и оконечным устройством СЦИ сети с каналами доступа, соответствующими трибами ПЦИ и СЦИ. ТМ может или вводить каналы, то есть коммутировать их со входа трибного интерфейса на линейный вход, или выводить каналы, то есть коммутировать их с линейного входа на выход трибного интерфейса.
Как правило, эта коммутация ограничена трибами 1,5 и 2Мбит/с. для мультиплексора максимального на данный момент действующего уровня СЦИ (STM-64), имеющего скорость выходного потока 10 Гбит/с, максимально полный набор каналов доступа может включать ПЦИ трибы 1,5, 2, 6, 34, 45, 140 Мбит/с, и СЦИ трибы 155, 622 и 2500 Мбит/с соответствующие STM - 1, 4, 16.
Другой важной особенностью мультиплексора является наличие двух оптических линейных выходов (каналов приёма/передачи), называемых агрегатными выходами и используемых для создания режима стопроцентного резервирования, или защиты по схеме 1+1 с целью повышения надёжности.
Мультиплексор ввода/вывода (ADM) иметь на входе тот же набор трибов, что и терминальный мультиплексор. Он позволяет вводить и выводить соответствующие им каналы. Дополнительно к возможностям коммутации, обеспечиваемым ТМ, ADM позволяет осуществлять сквозную коммутацию выходных потоков в обоих направлениях, а также осуществлять замыкание канала приёма на канал передачи на обоих сторонах в случае выхода из строя одного из направлений. Наконец он позволяет (в случае аварийного выхода из строя мультиплексора) пропускать основной оптический поток мимо него в обходном режиме. Всё это даёт возможность использования ADM в топологиях типа кольцо.
Таблица 1 Основные параметры оптических интерфейсов
Наименование показателя |
Данные для планирования |
|||||
Длина волны в световоде, нм Скорость передачи, Кбит/с |
|
1530..1560 2488320 |
||||
Сторона передачи Тип лазера Ширина спектра,нм Подавление боковой моды,дБ Уровень передачи, дБм (S в соответ. с ITU-TG.957) |
DFB 0,6 30 -1...2 |
DFB 0,6 30 2,5…5 |
DFB со встроенным внешним модулятором вместе с: |
|||
|
|
|
Станд бустер 0,1 30 11...13 |
Высоко-мощ. Бустер 0,1 30 13…16 |
Станд. Бустер 0,1 30 10…13 |
Высоко-мощ. бустер 0,1 30 13…16 |
Сторона приёма Диод приёма Уровень приёма при BER10-10 ,дБм (R в соответ. с ITU-TG.957) |
APD Станд -28..-6 |
APD Вы-соко- чувствит. -30..-9 |
APD Стандарт. -28...-6 |
APD Стандарт. Вместе с оптическим усилителем -40...-15 |
||
Секция регенератора Одномодовый световод Допусимая дисперсия, пс/км Потери из-за дисперсии, дБ Допуст. Затухание секции, дБ |
1800 2 8…26 |
2400 2 14...31 |
4500 2 19...36 |
4500 2 22...39 |
4500 2 28...48 |
4500 2 31…51 |
