- •Содержание
- •3 Организация труда и отдыха локомотивных бригад
- •4 Передовые технологии организации труда
- •5 Качественные показатели использования локомотивов
- •8 Сбор информации по технологической части выпускной квалификационной работы
- •10 Сбор информации по экономической части выпускной квалификационной работы
- •11 Изучение требований по охране труда в соответствии с темой выпускной квалификационной работы
- •12 Изучение требований по технике безопасности в соответствии с темой выпускной квалификационной работы
Содержание
1 План тяговой территории с расположением зданий и
сооружений локомотивного депо. . . . . . . . . . . . . . . . . . . . . . . . . . . . . . . . . . . . . . . . . .2
2 Структура управления локомотивного депо. . . . . . . . . . . . . . . . . . . . . . . . . 3
3 Организация труда и отдыха локомотивных бригад. . . . . . . . . . . . . . . . . . 5
4 Передовые технологии организации труда. . . . . . . . . . . . . . . . . . . . . . . . . . 7
5 Качественные показатели использования локомотивов. . . . . . . . . . . . . . .11
6 Количественные показатели использования локомотивов. . . . . . . . . . . .13
7 Способы и методы модернизации существующих узлов
и систем управления локомотивов . . . . . . . . . . . . . . . . . . . . . . . . . . . . . . . . . . . . . . .14
8 Сбор информации по технологической части выпускной
квалификационной работы. . . . . . . . . . . . . . . . . . . . . . . . . . . . . . . . . . . . . . . . . . . . . .16
9 Сбор информации по расчётной части выпускной
квалификационной работы. . . . . . . . . . . . . . . . . . . . . . . . . . . . . . . . . . . . . . . . . . . . . .20
10 Сбор информации по экономической части выпускной
квалификационной работы. . . . . . . . . . . . . . . . . . . . . . . . . . . . . . . . . . . .. . . . . . . . . .22
11 Изучение требований по охране труда в соответствии
с темой выпускной квалификационной работы. . . . . . . . . . . . . . . . . . . . . . . . . . . .27
12 Изучение требований по технике безопасности в соответствии
с темой выпускной квалификационной работы. . . . . . . . . . . . . . . . . . . . . . . . . . . .30
1 ПЛАН ТЯГОВОЙ ТЕРРИТОРИИ С РАСПОЛОЖЕНИЕМ ЗДАНИЙ И СООРУЖЕНИЙ МОТОР-ВАГОННОГО ДЕПО
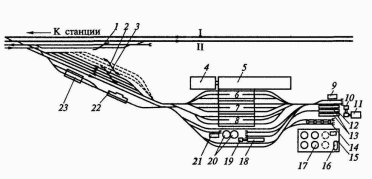
На рисунке ниже изображена схема тяговой территории локомотивного депо с описанием расположений зданий.
Рисунок 1 — План территории депо
На территории локомотивного депо производится обслуживание локомотивов , а также предоставляются места для ночного отдыха локомотивных бригад. На территории депо осуществляется круглосуточный контроль несанкционированного проникновения посторонних лиц и подозрительных предметов.
2 СТРУКТУРА УПРАВЛЕНИЯ МОТОР-ВАГОННОГО ДЕПО
Общее руководство работой депо возложено на начальника депо, у которого в подчинении три заместителя:
- главный инженер депо;
- заместитель по эксплуатации;
- заместитель по кадрам и социальным вопросам.
Главный инженер выполняет работу по определению перспектив развития предприятия и реализации комплексных программ по всем направлениям совершенствования, реконструкции и технического перевооружения действующего производства. Также в его функции входит обеспечение постоянного повышения уровня технической подготовки производства, его эффективности и сокращение материальных, финансовых и трудовых затрат, качества работ, надежность и долговечность в соответствии с государственными стандартами, техническими условиями, рациональное использование производственных фондов и всех видов ресурсов. Главный инженер должен осуществлять руководство за разработкой перспективных планов развития предприятия, реконструкции и модернизации производства, мероприятий по предотвращению вредного воздействия производства на окружающую среду, созданию наиболее благоприятных и безопасных условий труда и повышению культуры производства, бережному использованию природных ресурсов. Он организует работу по проектированию и внедрению в производство средств комплексной механизации и автоматизации технологических процессов, осуществляет контроль за соблюдением проектной, конструкторской и технологической дисциплины, правил и норм по охране труда, технике безопасности, производственной санитарии и пожарной безопасности. Работа заместителей по эксплуатации заключается в обеспечении исправного состояния локомотивов, грузоподъемных кранов на железнодорожном ходу, другого оборудования мотор-вагонного депо и устойчивой работы локомотивного парка в эксплуатации. Также они занимаются содержанием в работе заданного количества локомотивов в соответствии с объемом работы и выполнением установленных норм простоя локомотивов на техническом обслуживании, экипировке и ремонте.
В функции заместителя начальника депо по эксплуатации (ТЧЗЭ) входит:
- обеспечение перевозок квалифицированными локомотивными бригадами;
- обеспечение безопасности движения железнодорожного транспорта и недопущение возникновения аварийных ситуаций, снижение последствий возможных аварий.
Также ТЧЗЭ должен контролировать содержание в технически исправном состоянии закрепленного оборудования, локомотивов и грузоподъемных кранов на железнодорожном ходу. ТЧЗЭ выполняет работы по экипировке локомотивов, грузоподъемных кранов на железнодорожном ходу в соответствии с действующими нормативами, обеспечивает выполнение Правил технической эксплуатации железных дорог и выполнение мероприятий по предупреждению аварий, крушений и случаев брака в работе.
Заместитель начальника депо по кадрам и социальным вопросам занимается укреплением государственной и трудовой дисциплины и повышением квалификации и подготовки кадров. Также в его обязанности входит развитие подсобно-вспомогательной деятельности, повышающей рентабельность работы и способствующей улучшению социального положения работников депо.
