- •1 Судно: т/х «Wilson Trent» судовладелец « Wilson Ship Management as», Берген, Норвегия.
- •2 Основные характеристики судна
- •3 Район плавания и рейсы:
- •4 Время прохождения практики с 04.12.2012 по 24.03.2013
- •Инструкция по подготовке гд к работе
- •6 Описать обязанности по общесудовой тревоге. Вычертить и дать описание со спецификацией пожарных систем: водяной пенотушения, объемного тушения.
- •7 Описать меры по предупреждению загрязнения моря мусором. Вычертить схему фекальной системы судна, откачка фекальных вод в море или на сборщик в порту. Станция биологической очистки.
- •8 Вычертить схему сепаратора льяльных вод, откачка в море и в порту, описать возможные варианты.
- •9 Описать действия экипажа в случае аварийного разлива топлива, свои обязанности как вахтенного механика.
- •10 Описать правила приема и сдачи вахты. Вычертить схему расположения механизмов мко по платформам со спецификацией .
- •11 Вычертить схему рулевого устройства со спецификацией, элементы и их назначение
- •12 Вычертите схему и описание спасательных устройств на судне, требования Российского морского Регистра судоходства.
- •13 Вычертить схемы балластной и осушительной систем со спецификациями, дать технические характеристики механизмов систем.
- •14 Вычертите схему топливной системы, расположение топливных танков и цистерн на судне, описать приемку топлива на судне, его хранение и учет.
- •15 Вычертить схему циркуляционной масляной системы со спецификацией. Описать назначение , элементы, фильтры грубой тонкой очистки.
- •17 Описать подготовку к пуску, пуск и остановку дизельгенератора обслуживание и наблюдение за работой.
- •18 Описать действия вахтенной службы при обесточивании судна и аварийных ситуациях:
- •19 Дать описание ведения машинного журнала и журнала нефтяных операций
- •20 Вычертить схему сжатого воздуха со спецификацией, дать чертеж главного пускового клапана, описать принцип действия.
- •21 Описать работу и дать эскиз со спецификацией газотурбокомпрессора, промывку газовой и воздушной частей гтк.
- •22 Описать пуск, обслуживание и остановку рефустановки, заполнение хладагентом, отсутствие утечек, замену фильтра-осушителя.
- •23 Описать пуск, работу, остановку в ручном и автоматическом режиме, чистку сепаратора топлива и масла.
- •24 Описать регулировку тнвд, эскиз форсунки гд, опрессовку форсунок и подготовку форсунок в запас.
- •25 Описать последовательность моточистки гд, смену втулок, поршней, крышек цилиндров.
- •26 Дать схему со спецификацией и ее описание автоматизации систем подготовки топлива и масла.
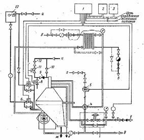
23 Описать пуск, работу, остановку в ручном и автоматическом режиме, чистку сепаратора топлива и масла.
На судне установлены три сепаратора (два топливных и один масленый) фирмы Альфа – Лаваль серии МАРХ – 27- 64
Перед пуском сепаратора необходимо провести его наружный осмотр, убедится в отсутствии посторонних предметов, а так же проверить следующее:
- хорошо ли зажата крышка сепаратора прижимными болтами и закреплен ли прижимной диск;
- подготовлена ли система подвода и отвода масла (топлива); опушен ли тормоз; наличие масла в корпусе червячной передачи, уровень масла должен быть выше средней черты смотрового стекла; наличие воды в напорном водяном баке; полностью ли открыт расходомер; подведена ли греющая среда (пар или электропитание) к подогревателю масла топлива;
- положение крана управления, он должен находится в позиции 2 (выключено), барабан открыт;
- убедится в правильности выбора и установки регулировочной шайбы согласно диаграмме и инструкции по ее подбору;
- закрыт ли секущий клапан сепарируемой жидкости.
Пуск сепаратора осуществляется включением электродвигателя. При этом необходимо иметь в виду, что в период разгона сепаратора муфта сцепления нагревается в следствии проскальзывания ее колодок, но после завершения разгона, когда число оборотов горизонтального вала и электродвигателя сравниваются, муфта охлаждается. При достижении полных оборотов барабана (через 6 - 8 мин после запуска) поставить кран управления в позицию 3, и когда появиться вода из вестовой трубки (барабан закрыт), поставить кран в позицию 4 (работа). В процессе пурификации для создания гидравлического затвора подводят воду, подогретую до температуры сепарируемого продукта, и прекращают подачу воды когда она начинает вытекать через смотровое окошко отсепарированной воды. Если же вода вытекает через смотровое стекло отвода масла (топлива), то это означает, что регулировочная шайба имеет малый диаметр или вода подается под излишне большим давлением. Необходимо медленно открывать клапан подачи масла (топлива) на сепаратор, т к при быстром открытии может произойти вытеснение воды гидравлического затвора и масло (топливо) поступит в патрубок отсепарированной воды. Это явление характерно, когда сепарируемое топливо имеет большой удельный вес. Напротив при настройке сепаратора на процесс кларификации заполнение барабана маслом (топливом) следует производить быстро. Поставить стрелку расходомера, спец. ключом на нужный расход, затем отрегулировать топливным краном давление на манометре 0,1 Мпа. При появлении брызг масла (топлива) на стекле смотрового окошка свидетельствует, что барабан закупорен шламом. Необходимо срочно остановить сепаратор и произвести чистку тарелок барабана.
В процессе работы сепаратора необходимо обращать внимание на следующее:
- возможное попадание топлива (масла) в патрубок отсепарированной воды, из за неправильного выбора регулировочной шайбы (большой диаметр отверстия) или нарушение режима сепарирования (температура, давление);
- температурный режим поступающего масла (топлива), необходимо поддерживать заданную температуру;
- состояние механизма сепаратора, отсутствие вибрации и посторонних шумов, протечек в разъемах, фланцах, повышение температур деталей.
Для выполнения самоочистки барабана сепаратора в процессе работы необходимо выполнить следующие операции:
- закрыть кран подачи топлива (масла) на сепаратор и открыть байпасный кран для перепуска топлива (масла) после подогревателя на всасывание насоса.
- повернуть управляющий кран в позицию 1 (разгрузка) и держать его пока не откроется барабан и шлам будет выброшен с характерным звуком.
- поставить управляющий кран в позицию 2 (выключено) и оставить его в этом положении на 5 – 6 сек ( происходит подготовка к закрытию барабана).
- повернуть управляющий кран в позицию 3 и держать его до тех пор, пока вода не начнет вытекать из вестовой трубки, что означает ( барабан закрыт )
- поставить кран в позицию 4 (работа) для продолжения процесса сепарирования.
Для остановки сепаратора необходимо:
- закрыть кран подачи топлива на сепаратор и открыть байпасный кран.
- закрыть кран на трубопроводе всасывания топливного насоса.
- повернуть управляющий кран в позицию 1 для разгрузки барабана.
- поставить управляющий кран в позицию 2 и оставить его в этом положении.
- выключить электродвигатель и включить тормоз.
Автоматический пуск, работа и остановка сепаратора
После пуска сепаратора и достижения барабаном рабочей частоты вращения открывается соленоидный клапан 7 и вода из бачка 13 поступает в сепаратор для закрытия барабана. Этот клапан остается в открытом положении 5 -7 с. В это же время открывается клапан 6 и в сепаратор дополнительно поступает вода, поддерживающая барабан в закрытом состоянии во время работы. После закрытия барабана через соленоидный клапан 11 подается вода, создающая гидравлический затвор. Соленоидный клапан 8 предотвращает утечки воды в барабан в случае неплотного прилегания клапана 11 к своему гнезду. Клапан 8 открыт, когда закрыт клапан 11, и на оборот. Клапан 11 остается открытым для создания гидравлического затвора в барабане в течение 15 – 17с. Он так же может использоваться для подачи промывочной жидкости.
Система автоматического управления сепаратором фирмы «Лаваль»
Как только гидравлический затвор создан, клапан 11 закрывается, соленоидный клапан 5 открывается и воздух начинает поступать на топливный клапан 4 (исполнительный механизм), который срабатывает, открывая подачу топлива на сепаратор. Начинается сепарация топлива, в процессе которого программное устройство обеспечивает периодическую разгрузку барабана сепаратора от шлама. При этом операции выполняются в следующей последовательности: прекращается подача топлива на сепаратор (закрывается соленоидный клапан 5, а следовательно и пневматический клапан 4 на топливной магистрали); при этом топливо начнет циркулировать через насос, подогреватель, минуя сепаратор; осуществляется промывка барабана, вытеснение топлива в приемную магистраль чистого топлива с помощью клапанов 11 (открывается) и 8 (закрывается); прекращается подача дополнительно вводимой воды для поддержания барабана в закрытом состоянии, т е закрывается клапан 6; клапаном 7 осуществляется открытие барабана и его разгрузка от шлама. Операции после разгрузки барабана происходят в такой же последовательности, как и при пуске сепаратора: закрытие барабана путем кратковременной подачи воды через клапан 7, подача дополнительного количества воды – открытие клапана 6 для поддержания барабана в закрытом состоянии при работе сепаратора, переключение клапанов 11 и 8 на создание гидравлического затвора в барабане, включение подачи топлива на сепаратор (открытие клапанов 8 и 7). Остановка сепаратора осуществляется программным устройством в таком же порядке, ка при его разгрузке: прекращается подача топлива (клапаны 5 и 4), подается вода на промывку барабана (клапаны 11 и 8), прекращается подача дополнительного количества воды (клапан 6), осуществляется открытие барабана и его разгрузка от шлама с помощью клапана 7. С помощью специальных кнопок расположенных на программном устройстве можно задать программу вывода сепаратора в эксплуатационный режим и закрыть барабан, создать гидравлический затвор и подать топливо в сепаратор для очистки. Так же с панели на программном устройстве можно задать программу остановки сепаратора с последовательными операциями по прекращению подачи топлива или масла, по промывке барабана и его разгрузке.
Чистка сепаратора (т е чистка барабана сепаратора, комплекта тарелок и крышки барабана) производится после каждой продолжительной работы или раз в неделю. Подготовка к разборке: останавливаем сепаратор, перекрываем подачу топлива (масла) в сепаратор, перекрываем подачу воды, перекрываем подачу пара. Разборка сепаратора: отдаем верхнюю рукоятку, снимаем трубки подвода воды для гидравлического затвора, снимаем трубки подвода очищаемого топлива (масла), снимаем трубки отвода очищаемого топлива (масла), снимаем входной клапан и входной патрубок очищаемой жидкости, отдаем откидные крепежные болты и поднимаем верхнюю крышку сепаратора, далее отдаем малую гайку, снимаем регулировочную шайбу, отдаем большую гайку барабана, достаем крышку барабана, достаем верхнюю защитную тарелку, достаем пакет рабочих тарелок с тарелкодержателем, отдаем колпачковую гайку и достаем подвижное дно барабана. Далее производится чистка крышки барабана, верхней защитной тарелки, пакета рабочих тарелок и тарелкодержателя, подвижного дна и корпуса барабана. Перед сборкой проверяются все резиновые уплотнения. Сборка производится в обратном порядке. В корпус барабана устанавливается подвижное дно, затем устанавливается пакет тарелок с тарелкодержателем, устанавливаем верхнюю защитную тарелку, крышку барабана зажимаем большой гайкой, устанавливаем регулировочную шайбу и зажимаем малую гайку, опускаем верхнюю крышку сепаратора и зажимаем ее откидными болтами, устанавливаем входной патрубок очищаемой жидкости и входной клапан, устанавливаем все снятые трубопроводы и зажимаем верхнюю рукоятку. После сборки сепаратор пускается и вводится в работу.
