- •1 Часть. Экипаж тепловозов.
- •1Тема. Развитие тепловозной тяги.
- •2Тема. Смазочные материалы
- •3Тема. Главная рама, кузов и кабина машиниста.
- •4Тема. Тележки тепловозов м62 и тэм2.
- •5Тема. Тележка тепловоза 2тэ116.
- •6 Тема. Тележка тэп70 и чмэ3.
- •7Тема. Колесные пары
- •8Тема. Виды и сроки освидетельствования колесных пар, и их клеймение.
- •9Тема. Неисправности колесных пар.
- •10Тема. Буксы тэм 2 и м62.
- •11Тема. Буксы 2тэ116 и тэп70.
- •12Тема. Буксы вагонов неисправности букс.
- •13Тема. Подвеска тэд. Опорно-осевое подвешивание тяговых электродвигателей.
- •14Тема. Опорно-рамное подвешивание тяговых электродвигателей.
- •15Тема. Рессорное подвешивание тэм2 и 2м62,чмэ3.
- •16Тема. Рессорное подвешивание тепловозов
- •17Тема. Песочная система тепловозаТэп70.
- •18Тема. Автосцепное и ударно-тяговые устройства
- •19Тема. Поглощающие аппараты.
- •20Тема. Проверка действия автосцепки.
- •21Тема. Противопожарная установка и сигнализация.
- •22 Тема. Промежуточный контроль знаний по разделу «Экипаж»
- •2 Часть. Дизель.
- •23 Тема. Принцип действия и классификация двс.
- •24 Тема. Технические данные тепловозных дизелей.
- •25 Тема. Рабочий цикл, индикаторные диаграммы.
- •26 Тема. Круговые диаграммы фаз газораспределения.
- •27 Тема. Сварные и фундаментные литые рамы дизелей.
- •28 Тема. Блок цилиндров и втулки дизеля пд1м
- •29 Тема. Блок цилиндров дизеля k6s310dr.
- •30 Тема. Блок цилиндров и втулки дизеля 14д40
- •31 Тема. Блок цилиндров и втулки дизеля д49
- •32 Тема. Коленчатые валы дизелей пд1м и k6s310dr.
- •33 Тема. Коленчатый вал и дизеля 14д40.
- •34 Тема. Коленчатый вал и коренные подшипники д49
- •35 Тема. Дизель-генераторные муфты и валоповоротный
- •36 Тема. Крутильные колебания коленчатого вала.
- •37 Тема. Антивибраторы и демпферы дизелей.
- •38 Тема. Поршни и поршневые кольца дизелей пд1м и k6s310dr
- •39 Тема. Поршни и поршневые кольца дизеля 14д40.
- •40 Тема. Поршни и поршневые кольца дизеля д49.
- •41 Тема. Шатуны и шатунные подшипники дизелей пд1м и k6s310dr.
- •42 Тема. Шатуны и их подшипники дизелей14д40 и д49.
- •43 Тема. Крышки цилиндров дизелей пд1м.
- •44 Тема. Крышки цилиндров дизелей k6s310dr.
- •45 Тема. Крышки цилиндров дизеля 14д40.
- •46 Тема. Крышки цилиндров дизелей д49.
- •47 Тема. Механизм газораспределения дизеля пд1м.
- •48 Тема. Механизм газораспределения дизеля k6s310dr.
- •49 Тема. Механизм газораспределения дизеля 14д40.
- •50 Тема. Механизм газораспределения дизеля д49.
- •51 Тема. Привод вспомогательных механизмов дизеля пд1м и k6s310dr.
- •52 Тема. Привод вспомогательных механизмов 14д40.
- •53 Тема. Привод вспомогательных механизмов д49.
- •54 Тема. Выхлопная система дизеля.
- •55 Тема. Топливная система тепловоза тэм2, чмэ3.
- •56 Тема. Топливная система (низкого давления)м62.
- •57 Тема. Топливная система тепловоза 2тэ116, тэп70.
- •58 Тема. Топливоподкачивающие насосы.
- •59 Тема. Тнвд дизеля пд1м и чмэ3.
- •60 Тема. Топливный насос высокого давления дизеля 14д40. Тнвд устройство и смазка.
- •61 Тема. Топливная форсунка дизелей пд1м, 14д40, k6s310dr.
- •62 Тема. Топливный насос тнвд дизеля д49.
- •63 Тема. Форсунка дизеля д49.
- •64 Тема. Дизельное топливо.
- •65 Тема. Регулятор частоты вращения коленчатого
- •66 Тема. Механизм остановки дизеля пд1м. Предельный выключатель.
- •67 Тема. Орчо дизеля 14д40.
- •68 Тема. Режимы работы орчо дизеля 14д40.
- •69 Тема. Механизм управления рейками тнвд дизеля 14д40. Предельный выключатель. Ускоритель пуска.
- •70 Тема. Орчо дизеля k6s310dr
- •71 Тема. Орчо дизеля д49 типа 4-7рс.
- •72 Тема. Электронный регулятор дизеля.
- •73 Тема. Предельный выключатель и механизм
- •74 Тема. Наддув дизелей. Турбокомпрессоры дизелей пд1м, k6s310dr.
- •75 Тема. Турбокомпрессоры дизелей 14д40.
- •76 Тема. Воздуходувка дизеля 14д40. Воздухоочистители.
- •77 Тема. Турбокомпрессор, система вентиляции, управляемая заслонка дизеля типа д49.
- •78 Тема. Масляная система дизеля пд1м.
- •79 Тема. Масляная система м62.
- •80 Тема. Масляная система тепловоза 2тэ116.
- •81 Тема. Масляная система тепловоза чмэ3.
- •82 Тема. Масляная система дизеля тепловоза тэп70.
- •83 Тема. Система охлаждения на тепловозе тэм-2.
- •84 Тема. Система охлаждения на тепловозах чмэ3.
- •85 Тема. Водяная система м62.
- •86 Тема. Система охлаждения на тепловозах 2тэ116.
- •87 Тема. Система охлаждения на тепловозах тэп70.
- •88 Тема. Требования к воде, применяемой для охлаждения системы
- •89 Тема. Промежуточный контроль знаний по разделу «Дизель».
- •3 Часть. Вспомогательное оборудование.
- •90 Тема. Шахты холодильника тепловозов м62, 2тэ116, тэп70.
- •91 Тема. Редуктор вентилятора и фрикционная муфта тепловоза тэм2.
- •92 Тема. Передний и задний редукторы тепловоза м62.
- •93 Тема. Гидропривод главного вентилятора м62.
- •94 Тема. Привод тормозного компрессора 2тэ116.
- •95 Тема. Гидростатический привод вентиляторов шахты холодильника тэп70.
- •96 Тема. Система технического обслуживания и ремонта тепловозов. Продолжительность простоя тепловоза при осмотре и ремонте.
- •97 Тема. Промежуточный контроль знаний по разделу «Вспомогательное оборудование тепловоза.
- •Список литературы.
- •Оглавление
Открытое акционерное общество «Российские железные дороги»
филиал «Октябрьская железная дорога»
Учебно-производственный центр № 3 - образовательное подразделение
Октябрьской железной дороги - филиала открытого акционерного общества «Российские железные дороги»
ТЕПЛОВОЗЫ
конспект
Механическое оборудование
ТЭМ2 М62
2ТЭ116 ТЭП70 ЧМЭ3
Санкт – Петербург
2013г.
1 Часть. Экипаж тепловозов.
1Тема. Развитие тепловозной тяги.
Серии и перспективы развития.
Работа над созданием дизельных локомотивов началась еще в конце прошлого века такими видными русскими учеными, как: В. И. Гриневецкий, Я. М. Гаккель, Ю. В. Ломоносов, А. Н. Шелест, К. А. Шишкин и др., однако до 1917г. были разработаны только проекты тепловозов и дизелей для них. В 1912г. была издана брошюра профессора Высшего технического училища (МВТУ) Гриневецкого В. И., в которой доказывалась бесспорная целесообразность применения наряду с паровозами тепловозной тяги на железных дорогах России.
Первым мощным магистральным тепловозом во всем мире был локомотив системы Гаккеля Я. М. Щэл-1 (736 кВт), построенный ленинградскими заводами в 1924г. Имел экипаж тележечного типа, электрическую передачу, опорно-осевую подвеску электродвигателей, замкнутую систему холодильника. В 1925г. начались опытные поездки второго тепловоза с электрической передачей, построенного в Германии по проекту, разработанному советскими инженерами под руководством Ю. В. Ломоносова.
Постройка тепловозов в СССР была организована на Коломенском заводе, электрическое оборудование поставляли Московский завод «Динамо» и Харьковский электромеханический завод. С 1930 по 1937г. Харьковский завод строил также дизели для этих тепловозов и все механическое оборудование.
В 1960г. Коломенский завод начал строить пассажирские тепловозы ТЭП60 с оригинальной, хорошо себя зарекомендовавшей, экипажной частью. В конце 1960г. Харьковский завод им. Малышева прекратил строить тепловозы. Основным заводом по постройке тепловозов стал Луганский, дизели которому поставляли Харьковский и Коломенский заводы. Брянский завод специализировался на маневровых тепловозах ТЭМ1 и ТЭМ2, а Людиновский завод начал выпускать маневровые тепловозы ТГМЗ с гидравлической передачей, а также тепловозы для узкой колеи ТГ16. Позднее он приступил к выпуску тепловозов ТЭМ7. С 1972г. Луганским заводом стали выпускаться тепловозы 2ТЭ116 с четырехтактными дизелями типов Д49, с передачей переменно-постоянного тока и бесчелюстными тележками. В 1973г. Коломенский тепловозостроительный завод построил пассажирский тепловоз ТЭП70 с дизелем Д49.
Учитывая достаточную устойчивость экипажной части тепловозов 2ТЭ116, завод приступил в 1975г. к серийному выпуску тепловозов 2ТЭ10В с бесчелюстными тележками взамен тепловозов 2ТЭ10Л. Позднее на базе тепловоза 2ТЭ10В были построены тепловозы 2ТЭ10М и ЗТЭ10М с некоторыми изменениями в электрической схеме и схеме автоматики.
За 60 лет в нашей стране было спроектировано и построено более 65 серий тепловозов. Тепловозы, построенные на заводах СССР, работают на железных дорогах многих социалистических, а также развивающихся стран. Ученые, конструкторы, инженеры продолжают работать над созданием более мощных магистральных и маневровых тепловозов, которые имели бы повышенную экономичность и эксплуатационную надежность.
Основные сведения об устройстве и работе тепловозов
Тепловозом называется локомотив, у которого в качестве первичной энергетической установки применен двигатель внутреннего сгорания — дизель. В отличие от электровоза тепловоз — автономный локомотив, так как энергия для приведения колес в движение вырабатывается непосредственно на локомотиве. У электровоза она поступает от контактной сети.
Чтобы дизель мог нормально работать, на тепловозе предусмотрены обслуживающие его системы: топливная, воздухоснабжения, водяная и масляная.
Топливная система имеет бак, трубопроводы с фильтрами грубой и тонкой очистки, топливоподкачивающий насос, насосы высокого давления и топливовпрыскивающие форсунки.
Система воздухоснабжения состоит из воздухозаборных фильтров, охладителей воздуха, газотурбинных или механических нагнетателей, обеспечивающих подачу очищенного воздуха под повышенным давлением в воздушные коллекторы и далее в цилиндры дизеля.
Водяная система служит для охлаждения стенок цилиндров, нагреваемых теплом, выделяющимся при сгорании топлива. Чтобы успешно отводить тепло от стенок цилиндров дизеля, на тепловозе предусмотрено охлаждающее устройство. Водяные полости между цилиндрами и рубашками соединены трубопроводами с трубчатыми радиаторами. Для обеспечения циркуляции воды в системе установлены водяные насосы. Проходящая по трубкам радиаторов вода охлаждается воздухом, подаваемым через секции радиаторов специальными вентиляторами.
Масляная система служит для смазывания трущихся деталей дизеля. Так как масло одновременно охлаждает такие узлы, как поршни, работающие при высоких температурах, то его необходимо охлаждать. Для этого в масляной системе предусмотрены насосы, обеспечивающие циркуляцию масла между дизелем и холодильным устройством. В качестве охлаждающего устройства используются либо масловоздушные радиаторы, либо водомасляные теплообменники. В систему включены также маслопрокачивающие насосы, фильтры грубой и тонкой очистки масла.
Для получения сжатого воздуха, необходимого для питания тормозной системы, а также для электропневматической системы управления механизмами и аппаратами, на тепловозе установлен компрессор. Привод компрессора и других вспомогательных машин осуществляется от вала дизеля через раздаточный редуктор. На некоторых тепловозах для привода компрессора (и других машин) используют электродвигатели.
На тепловозе имеется аккумуляторная батарея, запас электрической энергии, которой используется для пуска дизеля (раскрутки коленчатого вала), а также для питания цепей управления и освещения тепловоза. При работающем дизеле эти функции (кроме пуска) выполняет вспомогательный электрический генератор. Он также служит для заряда аккумуляторной батареи.
Работу дизеля на нулевой позиции называют - режимом холостого хода, на промежуточных позициях называют - частичными режимами, на последней позиции называют - номинальным режимом.
При работе на определенной позиции мощность дизеля остается постоянной, практически постоянным остается и вращающий момент на коленчатом валу.
Максимальное значение силы тяги ограничивается силой сцепления колесных пар с рельсами, а максимальное значение скорости — условиями безопасности. Таким образом, в условиях, когда дизель имеет постоянную частоту вращения и неизменяющийся вращающий момент, а колесные пары частоту вращения от нуля до определенного максимального значения, от передачи требуется непрерывное плавное изменение передаточного отношения, и это изменение должно совершаться автоматически в соответствии с требуемой силой тяги тепловоза (рис. 1).
Рис. 1. Тяговые характеристики тепловоза:
1 - 1-й позиции контроллера; 2 - промежуточной; 3 - последней позиции (внешняя характеристика)
На тепловозах применяются только два типа передач — гидромеханическая и электрическая. Механическая передача на тепловозах распространения не получила из-за невозможности создать многоступенчатую коробку передач небольших размеров для тепловоза большой мощности. Она применяется только на мотовозах и автодрезинах.
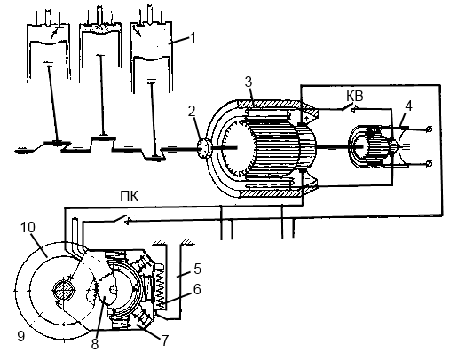
Электрическая передача получила наибольшее распространение. Состоит из тягового генератора с возбудителем, тяговых электродвигателей и зубчатых редукторов (рис. 2). Вал генератора подсоединен к коленчатому валу дизеля. В нем механическая энергия дизеля преобразуется в электрическую. Тяговые электродвигатели размещены в тележках непосредственно возле колесных пар. Подведенный по кабелям электрический ток от генератора вращает валы электродвигателей — электрическая энергия превращается снова в механическую. Валы двигателей и оси колесных пар связаны между собой зубчатыми передачами. Вращающий момент от двигателей передается колесным парам. Размещенная в раме кузова автосцепка передает тяговое усилие на состав.
Основной закон локомотивной тяги гласит: сила тяги не должна превышать силу сцепления колес с рельсами. Регулирование тягового момента (силы тяги) осуществляется электрическими машинами.
Рис. 2. Схема передачи мощности от дизеля колесным парам при электрической передаче:
1 - дизель; 2 - соединительная муфта; 3 - тяговый электрический генератор; 4 - возбудитель генератора; 5 - рама тележки; б - пружинная подвеска двигателя на раме тележки; 7 - тяговый электродвигатель; 8 - шестерня; 9 - зубчатое колесо; 10 - колесная пара; КВ - контактор возбуждения; ПК - поездной контактор тепловоза.
Классификация и обозначение серий тепловозов
Тепловозы классифицируются: по роду службы (грузовые, пассажирские, маневровые и маневрово-вывозные, а также промышленного транспорта); по числу секций (односекционные, двухсекционные, трехсекционные, четырехсекционные); по типу передачи (с электрической постоянного или переменно-постоянного тока и гидромеханической); по типу экипажной части (тележечные и с жесткой рамой); по ширине колеи (нормальной или широкой 1520мм и узкой от 600 до 1100мм); по числу осей (восьмиосные, шестиосные, четырехосные, трехосные, двухосные).
Тип экипажа тепловоза определяет его осевая характеристика, отражающая число, расположение и назначение осей (колесных пар). Для тепловозов тележечного типа осевая характеристика представляет собой сочетание цифр, число которых указывает на число тележек в экипаже, а каждая цифра — число осей (колесных пар) в тележке.
В осевых характеристиках (рис. 3) индексы «0» указывают на обмоторенные оси, знаки «—» и «+» показывают, что в первом случае тележки не спарены (несочленены) между собой, а во втором — сочленены, числа 2 и 1 в осевой характеристике тепловоза Ээл указывают на наличие у него двух бегунковых осей и одной поддерживающей.
Для локомотивов, работающих на отечественных, а также зарубежных железных дорогах, установлены определенные габаритные ограничения, определяемые габаритами «Т» и «1Т» Наиболее распространенный габарит «1Т» имеет наибольшую предельную ширину 3400мм и высоту 5300мм.
Рис. 3. Схемы экипажей тепловозов и их обозначение
Серии тепловозов, т. е. группы тепловозов, построенных по одним и тем же проектам, принято обозначать сочетанием заглавных букв и цифр. Как правило, обозначение серии начинается с буквы Т (тепловоз). Вторая буква указывает на тип передачи (Э — электрическая, Г — гидравлическая). Третья буква обычно говорит о назначении тепловоза (П — пассажирский, М—маневровый). Цифры указывают номер серии тепловоза. По ним можно определить также и завод-изготовитель. Например, номера серий от 1 до 49 отведены магистральным Тепловозам, спроектированным Харьковским заводом транспортного Машино-строения им. Малышева, номера от 50 до 99 присваиваются тепловозам ПО «Коломенский завод», а номера свыше 100 — тепловозам ПО «Лугансктепловоз». Цифра перед буквенным обозначением указывает на число секций многосекционного тепловоза. Буква после номера серии указывает либо на модернизированный вариант (ЗТЭ10М), либо на завод-изготовитель, если первоначальный вариант тепловоза был изготовлен другим заводом (2ТЭ10Л, 2ТЭ10В Луганск, Ворошиловград).
Структура единой системы цифрового обозначения, состоящего из семи знаков, позволяет по первому знаку определить вид подвижного состава (пассажирский вагон — 0, тяговый и специальный подвижной состав—1, грузовой вагон — 2—9). Семизначная часть нового номера кодирует основные эксплуатационно-технические признаки подвижного состава, род его службы, серию и т. д. При этом для многосекционных локомотивов учитывается возможность их переформирования в эксплуатации и поэтому предусматривается цифровое обозначение каждой секции отдельно.
Второй знак кодируемого обозначения показывает тип подвижного состава: 0 — паровозы, 1 — электровозы односекционные, 2 — электровозы многосекционные, 3, 4 — электропоезда и электросекции, 5 — тепловозы односекционные, 6 — тепловозы многосекционные, 7 — дизель-поезда и автомотрисы, 8 — мотовозы, 9 — путевые машины.
Третий знак характеризует подвижной состав: роду службы (пассажирская, грузовая, маневровая, специальная); типу тяговой передачи (электрическая, гидравлическая); роду тока (постоянный, переменный, двойного питания). Так, тепловозы односекционные пассажирские имеют знак —0, грузовые — 1, маневровые с электрической передачей с 2 по 6, маневровые с гидравлической передачей — с 7 по 9, также и многосекционные пассажирские тепловозы имеют знак — 0, а грузовые с 1 по 9.
Четвертый знак отдельно или в ряде случаев (при значительном числе объектов) в сочетании с третьим обозначает серию.
Пятый, шестой и седьмой знаки информации не содержат и служат для образования номера тяговой единицы. Восьмой знак (контрольный) используется для проверки правильности считывания и занесения в документы номера подвижного состава
У тех серий локомотивов, число которых превышает тысячу единиц, для образования номера используют четвертый знак. При этом к числу, обозначающему серию локомотива, прибавляют число тысяч порядкового номера. Например тепловоз ТЭЗ № 791 будет иметь обозначение 1610791, а № 4791—1614791.
