Тема: Экипировка пожарного-спасателя. Механизмы и инструмент АСР.
2. Специальная защитная одежда пожарных изолирующего типа (СЗО ИТ) -одежда, предназначенная для изоляции кожных покровов человека от опасных и вредных факторов окружающей среды (пыль, газовоздушные смеси, в том числе содержащие газообразный хлор, водные растворы щелочей, кислот и т.п.), возникающих во время тушения пожаров, проведения аварийно-спасательных работ, а также вследствие неблагоприятных климатических воздействий.
К средствам СЗО ИТ относятся: комплект специальной одежды пожарных для защиты от тепловых воздействий и химически агрессивных сред (АКИ), агрессивостойкийтеплоотражательный комплект одежды (АТК) и комплект аварийной специальной защитной одежды пожарных, охраняющих АЭС и другие радиационно-опасные объекты (СЗО-1).
Специальные требования к агрессивостойкой одежде: СЗО ИТ, используемая при тушении пожаров на химически опасныхобъектах, должна обеспечивать защиту органов дыхания, глаз, слизистыхоболочек и кожных покровов человека от попадания в организм химическиагрессивных веществ в виде газов, паров, аэрозолей и пыли.
Специальные требования для СЗО ИТ, используемой при выполнении работ, связанных с тушением пожаров и ликвидацией аварий на АЭС и других радиационно опасных объектах: СЗО ИТ, используемая при тушении пожаров на АЭС и других радиационно опасных объектах, должна обеспечивать защиту глаз, кожи, слизистой оболочки дыхательных путей и пищеварительного тракта от попадания в организм вредных веществ в виде газов, аэрозолей и пыли, а также накопления радиоактивных изотопов во внутренних органах.
3.К электрозащитным средствам, применяемым в подразделениях ГПС, относятся:
перчатки резиновые диэлектрические;
галоши (боты) резиновые диэлектрические;
коврики резиновые диэлектрические размерами не менее 50 x 50 см с рифленой поверхностью;
ножницы для резки электропроводов с изолированными ручками (требования к указанным электрозащитным средствам определены ГОСТ);
переносные заземлители из гибких медных жил произвольной длины, сечением не менее 12 мм2 для пожарных автомобилей, у которых основная система защиты - защитное заземление.
Испытания электрозащитных средств, проводятся специальными лабораториями, имеющими на это разрешение органов Госэнергонадзора. Результаты испытаний оформляются актом, который хранится в подразделении ГПС до проведения следующего испытания. На перчатках, ботах, ковриках и т.д. ставится штамп с указанием срока следующего испытания.
Сроки проведения испытаний:
перчатки резиновые диэлектрические - один раз в 6 месяцев;
галоши резиновые диэлектрические - один раз в 3 года;
боты резиновые диэлектрические - один раз в 3 года;
ножницы для резки электропроводов с изолированными ручками - один раз в год;
Отбраковка ковриков резиновых диэлектрических при внешних осмотрах не реже 1 раза в год.
Пригодность к работе защитных изолирующих средств определяется внешним осмотром и испытанием. Внешний осмотр проводится ежедневно при заступлении на боевое дежурство личным составом подразделений ГПС, за которым они закреплены.
Внешними признаками, определяющими непригодность средств электрической защиты, являются:для ножниц - повреждение изоляции на рукоятках и отсутствие упорных колец и резиновых втулок на концах рукояток;для резиновых перчаток, галош (бот), ковриков - проколы, разрывы, наличие отверстий;для переносного заземления - разрушение контактных соединений, нарушение механической прочности медных жил (обрыв более 10% медных жил).
Все средства электрической защиты, не прошедшие в установленные сроки испытания, считаются непригодными к использованию.Электрозащитные средства хранятся на пожарном автомобиле отдельно от ПТВ и шанцевого инструмента в зачехленном виде.
4.Перед заступлением на боевое дежурство пояса пожарные, а также пожарные поясные карабины (далее - карабины) подлежат тщательному осмотру.
Пояс пожарный снимается с боевого расчета при:
повреждении поясной ленты (надрыв, порез);
неисправности (поломки, погнутости) пряжки и шпилек пряжки;
нарушении целостности заклепок и отсутствии на них шайб;
порыве заклепками или блочками материала поясной ленты;
отсутствии хомутика для закладывания конца пояса;
наличии трещин и вмятин на поверхности блочков или отсутствии хотя бы одного из них;
наличии разрывов кожаной облицовки пояса.
Карабин снимается с боевого расчета, если:
имеется его деформация (затвор не открывается или не полностью закрывается);
пружина не обеспечивает закрытие замка карабина, а также имеются выступы и шероховатости (неровности) в замке затвора и в месте шарнирного крепления затвора.
Пояса пожарные, спасательные и поясные карабины пожарные испытываются на прочность один раз в год. Для испытания пояс надевается на прочную консольную или балочную конструкцию диаметром не менее 300 мм и застегивается на пряжку.
К карабину, закрепленному на полукольце пояса, подвешивается без рывков груз 350 кг на 5 мин (для поясов пожарных спасательных 350 кг/5 мин).
После снятия нагрузки на поясе не должно быть никаких разрывов и других повреждений поясной ленты, пряжек, заклепок и др. Карабин не должен иметь измененной формы и целостности материала.
Затвор карабина должен свободно открываться и плотно закрываться. Испытания поясов карабинов может производиться на стенде с помощью динамометра.
5.Ручные пожарные лестницы должны испытываться один раз в год и после каждого ремонта. Перед использованием их на соревнованиях на них представляются акты. Использовать ручные пожарные лестницы, имеющие неисправности, повреждения основных частей или не выдержавшие испытания, не разрешается. При испытании штурмовая лестница подвешивается свободно за конец крюка и каждая тетива на уровне 2 ступени снизу нагружается грузом в 80 кг (всего 160 кг) на 2 минуты. После испытания штурмовая лестница не должна иметь трещин и остаточной деформации крюка.
6.При испытании лестница-палка устанавливается на твердом грунте, прислоняется под углом 75° к горизонтали и нагружается посредине грузом 120 кг на 2 минуты. После снятия нагрузки лестница-палка не должна иметь никаких повреждений, должна легко и плотно складываться
7. При испытании выдвижная лестница устанавливается на твердом грунте, выдвигается на полную высоту и прислоняется к стене под углом 75° к горизонтали (2,8 м от стены до башмаков лестницы). В таком положении каждое колено нагружается посредине грузом в 100 кг на 2 мин. Веревка должна выдержать натяжение в 200 кг без деформации.
8.Гидравлический аварийно-спасательный инструмент- переносной инструмент с гидроприводом, применяемый для извлечения (деблокирования) пострадавших при выполнении аварийно-спасательных работ в условиях чрезвычайных ситуаций В состав ГАСИ включаются следующие образцы рабочего инструмента и оборудования: расширители (разжимы) для перемещения элементов разрушенных конструкций завалов, прокладывания в них проходов, расширения щелей в стыке между ними, удержания грузов в фиксированном положении, деформирования и стягивания металлических конструкций, пережатия труб для приостановления течи опасных веществ. В комплект ГАСИ обычно входит от двух до четырех моделей расширителей, которые отличаются по величине раздвигающего и тягового усилия и раскрытию рычагов; кусачки (челюстные резаки, ножницы), предназначенные для разрезания листового металла, перекусывания стальных прутков, труб, уголков и других профилей, а также стальных тросов и кабелей; комбинированные ножницы (разжим-кусачки, комбинированные челюстные резаки), которые сочетают в себе свойства расширителей и кусачек; гидравлические цилиндры, используемые для поднятия железобетонных плит и разрушенных элементов их конструкций, автомобилей, а также перемещения других тяжелых предметов; вспомогательные инструменты для выполнения специфических операций. Практически каждый производитель включает в комплект ГАСИ какой-либо специальный инструмент, например, отрыватель петель, педальные ножницы, устройство для пережатия петель. Кроме аварийно-спасательного инструмента в комплект ГАСИ входят гидравлические насосные станции, которые предназначены для подачи рабочей жидкости в гидравлический инструмент. Выпускаются модели с приводом от двигателя внутреннего сгорания, с электродвигателем (220/380 В) и пневмоприводом. Обязательно в комплект ГАСИ включается насос с ручным (ножным) приводом. Для подключения гидроинструмента к источнику питания (гидростанции или ручному насосу) и увеличения радиуса его действия используются несколько напорных и сливных рукавов, находящихся на одно- или двухбарабанных катушках или без них. Для расширения возможностей ГАСИ в комплект включаются наборы цепей, специальные крюки, скобы, струбцины и упоры. В некоторые комплекты ГАСИ входят пульты дистанционного управления. В спасательных формированиях МЧС России широко используются комплекты ГАСИ "Спрут", "Медведь", "Простор", "Эконт" и др.
Тема :оборудования для забора и подачи огнетушащих средств ПН и МП
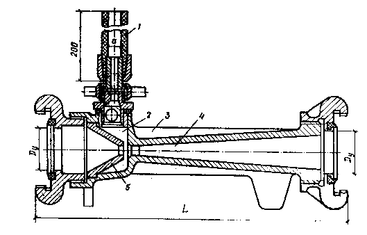
1)Гидрант пожарный — устройство для отбора воды из водопроводной сети для тушения пожара[1]. Колонка пожарная — устройство, предназначенное для открывания (закрывания) подземных гидрантов и присоединения пожарных рукавов в целях отбора воды из водопроводных сетей на пожарные нужды.
Виды:Различают подземные и наземные пожарные гидранты. Подземные размещаются в колодце, закрытом крышкой, либо устанавливаются на пожарную подставку (равно как и в колодце) и засыпаются грунтом, в случае так называемой бесколодезной установки. При бесколодезной установке гидрант засыпается не полностью, а верхняя его часть с резьбой для навинчивания пожарной колонки прячется под ковёр с лючком. Для отбора воды на подземные гидранты навинчивается пожарная колонка, имеющая 2 выходных патрубка для подсоединения рукавов. Пример наземного пожарного гидранта — гидрант-колонка, служащая для отбора воды как на хозяйственные, так и на пожарные нужды; представляет собой совмещённый вариант водоразборной колонки и наземного пожарного гидранта.
Технические характеристики:
Рабочее давление — 1,0 МПа.
Давление при испытании — 1,5 МПа.
Габаритные размеры: ширина — 300 мм; высота (без клапана) — от 500 до 3500 мм с интервалом 250 мм;
Масса: при высоте гидранта 1000 мм — не более 95 кг; изменение массы гидранта на каждые 250 мм высоты — не более 10 кг.
Стандарт: соответствует ГОСТ 8220-85.
Основные составляющие части пожарного гидранта (см рис.):
Корпус – 7;
Патрубок – 9;
Клапан – 11;
Корпус клапана – 8;
Ниппель с резьбой для навинчивания пожарной колонки – 5;
Штанга – 6;
Крышка – 4 (предназначена для закрывания ниппеля во избежание повреждений резьбы и попадания в гидрант посторонних предметов).
Принцип работы:
Во время работы крышка откидывается. Пожарную колонку навинчивают на резьбу ниппеля, чтобы прокладки были плотно прижаты. Рукоятку пожарной колонки поворачивают против часовой стрелки, что приводит к вращению штанге с муфтой - 3. Штанга в свою очередь вращает шпиндель пожарного гидранта – 1. При вращении шпиндель открывает клапан, через образовавшийся проход вода поступает в корпус пожарного гидранта и следовательно в пожарную колонку.
При завершении работ (отбора воды) гидрант пожарный закрывают в обратной последовательности.Вода, которая осталась в корпусе сливается через канал, находящийся во фланце патрубка. Сливной канал перекрывается резиновым уплотнением при открытом клапане.
Эксплуатация зимой:Существуют обязательные правила эксплуатации пожарных гидрантов. Неумелое обращение с пожарными гидрантами может привести к аварии на водопроводной сети, срыву подачи воды и несчастным случаям.
Подготовка противопожарного водоснабжения к эксплуатации в зимних условиях осуществляется:
городского водоснабжения - в период проведения осенней проверки силами мобильных бригад АВР РЭВС (отделений).
объектового водоснабжения - в период проведения осенней проверки силами водопроводных служб объектов.
Подготовка противопожарного водоснабжения к эксплуатации в зимних условиях включает в себя:
откачку воды из стояков пожарных гидрантов Московского типа и заделку сливных отверстий деревянными пробками;
при установившейся минусовой температуре наружного воздуха откачку воды из колодцев гидрантов заполненных выше уровня стояка с последующим выполнением п.1;
пожарные гидранты, подверженные затоплению грунтовыми и талыми водами, берутся на специальный учет линейными участками РЭВС и районными пожарными частями с обязательной отметкой в книге проверок противопожарного водоснабжения, последующим контролем их состояния со стороны РЭВС, откачкой воды из стояков после оттепелей (в случае необходимости) и обязательной передачей информации в районные пожарные части;
заполнение колодцев гидрантов специальным теплоизолирующим наполнителем.
2)Напорный рукав- предназначен для транспортирования огнетушащих веществ под избыточным давлением.
Докуиентация по использованию:Напорный рукав должен соответствовать ГОСТ 51049-97 «Техника пожарная. Рукава пожарные напорные. Общие технические требования. Методы испытаний» и НПБ 152-2000 «Техника пожарная. Рукава пожарные напорные. Технические требования пожарной безопасности. Методы испытаний».
3)Напорные рукава укладывают в отсеки кузова пожарного автомобиля в соответствии с инструкцией по эксплуатации автомобиля.Рукава, расположенные на катушках, закрываются специальным чехлом из плотной водонепроницаемой ткани.При прокладке рукавных линий необходимо следить, чтобы рукава не имели резких перегибов, не допускать прокладки рукавов по острым или горящим (тлеющим) предметам, поверхностям, залитым горюче-смазочными материалами или химикатами. Прокладывать рукавные линии в лестничных клетках следует между маршами, не загромождая при этомпроходы и лестницы. Прокладка рукавных линий по улице, дороге, двору, должна производиться по возможности на непроезжей части, а через железнодорожные или трамвайные пути - под рельсами между шпалами. В местах движения автотранспорта рукава должны защищаться рукавными мостиками.При прокладке рукавных линий через заборы, окна и другие препятствия, где возможны резкие перегибы рукавов, следует использовать рукавное колено
Запрещается сбрасывать на рукавные линии части разбираемых конструкций, а также сбрасывать рукава с крыш и верхних этажей зданий. Рукава должны переноситься пожарными, спускаться с высоты при помощи веревок или других приспособлений.Воизбежание разрывов рукавов от гидравлических ударов подавать воду в рукавную линию следует путем постепенного открытия клапанов напорных патрубков насоса и разветвлений. Запрещается резко повышать давление в насосе, а также резко перекрывать ствол.При возникновении течи в рукаве она должна быть немедленно устранена путем установки рукавных зажимов. В зависимости от размера дефекта рукава могут использоваться следующие рукавные зажимы:а) ленточный зажим (рис.7) для ликвидации течи из отверстий диаметром до 2 см или разрывов длиной до 3 см;б) корсетный зажим (рис. 8) для ликвидации течи из продольных разрывов длиной до 1см.В качестве зажима может быть использован также отрезок рукава того же диаметра длиной 15-20 см, который до навязки головок одевается на рукав. При появлении течи во время работы на пожаре, давление в рукаве сбрасывается, и отрезок (зажим) перемещается на место дефекта рукава.
Испытания рукавов
Различают два вида испытаний (всасывающих и напорных рукавов - контрольные и эксплуатационные. Контрольные испытания проводят при получении новых партий, эксплуатационные испытаний - после каждого использования рукавов, при их ремонте или после навязки соединительных головок, а также (1 раз в год) в процессе длительного хранения.Напорные рукава испытывают от насоса пожарного автомобиля или от другого источника подачи воды, создающих требуемый напор. При испытании рукава укладывают на горизонтальной площадке по 5...6 шт в одну линию или наматывают на барабан специальной конструкции. Диаметр барабана должен быть не менее 2 м. Льняные рукава перед испытанием замачивают (медлен заполняют водой и выдерживают под давлением 0,2...0,4 МПа (2...4 кгс/см2) в течение 5 мин.После мочки приступают к гидравлическому испытанию. Перед началом испытания на конце рукавной линии устанавливают заглушку с краном (или ручной перекрывной ствол, разветвление и т.п.) для выпуска воздуха при заполнении линии водой. После удаления воздуха и заполнения рукавов водой постепенно в течение 2 мин, поднимают давление до предельно допустимого (в соответствии с инструкцией эксплуатации рукавов) и выдерживают рукава в течение 2 мин.
Затем давление снижают до нуля снова постепенно поднимают его, и выдерживают рукав под испытательным давлением в течение мин. Рабочее и испытательное давлений для напорных рукавов различных групп прочное установлено инструкцией. Рукава, подвергшиеся гидравлическому испытанию, не должны пропуска воду в местах навязки соединительных головок, иметь разрывы ткани чехла или свищи.
После окончания испытаний результаты записывают в паспорт и составляют ведомость, которую представляют в управление или отдел пожарной охраны. Рукава, которые не выдержали испытательных давлений, ремонтируют и снова испытывают. Если рукава не выдержали повторного испытания, передают для учебных целей или на хозяйственные нужды. При непригодности рукавов к дальнейшей эксплуатации их бракуют и списывают, о чем составляют акт, который подписывает комиссия.
Всасывающие рукава, предназначенные для работы насоса от открытого водоема, испытывают только на разрежение. Напорно-всасывающие рукава подвергают гидравлическим испытание давлением и разрежением. Испытывают рукава от насоса пожарного автомобиля или на специальном стенде. Разрежение в рукаве должно быть не менее 73,15 кПа (550 мм рт. ст.). При этом падение разрежения не должно превышать 13,3 кПа (100 мм рт. ст.) в течение 3 мин.До начала проведения испытаний насос проверяют на герметичность. Если во всасывающих рукавах не создается разрежение, то для обнаружения свищей и проколов их подвергают гидравлическим испытаниям давлением до 50 кПа (0,5 ктс/см2).
Весьма важным является определение возможности-отслоения внутреннего резинового слоя всасывающих рукавов при создании разрежения. Для такой проверки на одном конце рукава устанавливают заглушку со смотровым стеклом, на противоположном - заглушку с электролампой дюритовым шлангом, по которому отсасывается воздух из внутренней полости рукава. Отслоение внутреннего слоя резины контролируют визуально через смотровое стекло при включенной электролампе.Испытательноедавление напорно - всасывающих рукавов должно быть в 2 раза больше возможного рабочего давления. Продолжительность испытания 10 мин.
Учет работы:
Учет наличия и состояния рукавов ведется на рукавной базе (посту) и в пожарной части. При отсутствии в гарнизоне рукавной базы - только в пожарной части.
Документами для учета наличия рукавов, их состояния и списания являются:
- паспорт рукава (приложение 2);
- ведомость состояния рукавного хозяйства (приложение 3);
- акт на-списание рукавов; ,
- суточная ведомость движения рукавов при централизованном
- контрольный лист движения рукавов обслуживании
Списание:
Списание рукавов осуществляется комиссией, назначенной приказом начальника подразделения. На списание рукавов составляется акт, который утверждается начальником территориального органа Министерства по чрезвычайным ситуациям. Списанию подлежат рукава, непригодные для эксплуатации (ремонта), забракованные в ходе гидравлических испытаний, а также получившие значительные повреждения на чрезвычайной ситуации или учениях.
121. В акте указываются наименование рукава, диаметр и номер рукава, длина, дата изготовления и дата начала эксплуатации, количество отработанных часов рукава, стоимость, причина выхода рукава из строя. Основанием для списания рукава является неудовлетворительный результат гидравлических испытаний после трехкратного ремонта (рукав после ремонта не выдержал испытаний, вновь отремонтирован и испытан, еще раз отремонтирован и испытан). Для рукавов, вышедших из строя на чрезвычайной ситуации, учениях и признанных неремонтопригодными, указывается дата ЧС, адрес и обстоятельства повреждения. К акту прилагаются паспорта на списываемые рукава.
122. Списание рукавов осуществляется при условии, что они не прошли испытание и их нельзя отремонтировать. Списанию также подлежат напорные рукава, длина которых была уменьшена до 14 м и менее.
123. Решением комиссии списанные рукава могут быть переведены в категорию "учебный" или "хозяйственный". При этом маркировка на рукаве удаляется или закрашивается, а на рукав наносится соответствующая надпись "учебный" или "хозяйственный". Данные рукава должны храниться отдельно, чтобы исключить возможность ошибочного вывоза их для использования на чрезвычайных ситуациях, учениях
124. В случаях если новые напорные рукава при постановке на вооружение не выдерживают испытаний, они бракуются. На забракованные новые напорные рукава и вышедшие из строя ранее гарантийного срока эксплуатации и хранения (указанных изготовителем в формуляре) составляется акт и направляется рекламация изготовителю.125. На забракованные новые всасывающие и напорно-всасывающие рукава и вышедшие из строя ранее 2 лет с момента их ввода в эксплуатацию в пределах гарантийного срока хранения, равного 3,5 года с момента изготовления, составляется акт и направляется рекламация изготовителю.
4)Всасывающий рукав -предназначен для забора воды из водоисточника с помощью пожарного насоса и ее транспортирования.
ВИДЫ: Напорно-всасывающий рукав предназначен для забора воды из водоисточника с помощью пожарного насоса или из системы противопожарного водоснабжения и ее транспортирования.
Всасывающие и напорно-всасывающие рукава эксплуатируются в комплекте пожарного оборудования пожарных машин.
Пожарные машины комплектуют всасывающими и напорно-всасывающими рукавами по ГОСТ 5398-76 "Рукава резиновые напорно-всасывающие с текстильным каркасом неармированные. Технические условия". Для пожаротушения применяют всасывающие и напорно-всасывающие рукава классов В и КГЦ.
Всасывающие и напорно-всасывающие рукава по ГОСТ 5398-76 поставляют без пожарных соединительных головок.
Технические характеристики всасывающих и напорно-всасывающих рукавов, оборудованных пожарными соединительными головками, представлены
Испытания проводят внормальных климатических условиях по ГОСТ15150.
5.2. Внутренний диаметррукава измеряют ступенчатым металлическим калибром (см. приложение, рис. 2). Рукав натягивают на калибрусилием от руки без упора. Диаметр считается равным максимальному размеруступени, на которую он натянут полностью.
5.3. Линейные размерырукавов измеряют рулеткой со стальной лентой по ГОСТ 7502,линейкой - по ГОСТ 427,штангенциркулем - по ГОСТ 166.
5.3.1. Для измерения длинырукава скатку раскатывают на ровной горизонтальной поверхности. Длину измеряютс погрешностью до 0,1 м.
5.3.2. Для определениятолщины внутреннего слоя покрытия от любого конца каждого из рукавов отрезаютобразец длиной 20-30 мм.
На образцах в расправленномвиде, подготовленных к испытанию, делают десять замеров на равном расстояниидруг от друга по длине окружности, между рифлениями. Затем отделяют от каркасагидроизоляционный слой и измеряют толщину стенки рукава в тех же точках.
Разница между замерамитолщины стенки рукава с гидроизоляционным слоем и без него составляет толщинувнутреннего слоя покрытия, которую определяют как среднее арифметическое из 10замеров.
Расчет средней толщиныгидроизоляционного слоя покрытия рукавов данной партии Рср производят по формуле
Рср = S Рi /n, мм,
где Pi - толщина гидроизоляционногослоя покрытия i-го образца, мм; n - количество образцов.
5.4.Испытание на герметичность под действием испытательного давления проводят на рукавах(в том числе на рукавах в сборе с соединительными головками) длиной (20 ± 1) м.Один конец рукава присоединяют к насосу, снабженному контрольным манометром (ГОСТ 2405, класс точности 1,5) со шкалой, обеспечивающей измерение давления всоответствии с п. 4 табл. 1, а другой заглушают перекрывным пожарным стволом. Рукав медленнонаполняют водой при открытом стволе до полного удаления воздуха, после чегоствол перекрывают. Давление в течение 1-2 мин поднимают до испытательного (п. 4 табл. 1) и выдерживают при этомдавлении (3,0 ± 0,1) мин. Появление воды в виде капель не допускается.
5.5. Относительное удлинениеи увеличение диаметра проверяют аналогично п. 5.4, Рукав наполняют водой дополного удаления воздуха, давление в нем поднимают до 0,1 МПа.
При этом давлении на трехконтрольных участках рукава (в начале, середине, в конце) наносят контрольныеметки исходной длины lo, равной (1000 ± 1) мм, и замеряют штангенциркулем наружный диаметр do. Давление в рукаве поднимаютдо рабочего (п. 3табл. 1)и выдерживают в течение 2-3 мин. Замеряют длину l с погрешностью не более 0,1 мм и наружный диаметр d с погрешностью не более 0,1мм на каждом контрольном участке.
За величину относительного удлиненияи увеличения диаметра принимают средние арифметические значения из замеров натрех участках рукава.
5.6. Проверку соответствиявеличины разрывного давления проводят на образцах рукава длиной (1,0 ± 0,1) м ииспытывают аналогично п. 5.4. После заполнения рукава водой давление в немповышают в течение 1-2 мин до значения, соответствующего типу рукава (п. 5 табл. 1) или доразрыва. Если при испытании конец рукава вырывает из зажима, повторныеиспытания проводят на новом образце рукава.
5.7. Для определениятемпературы хрупкости покрытия от обоих концов рукава отрезают по одномуобразцу длиной 10-15 мм каждый.
Образцы в виде колецустанавливают в приспособление (рис. 3,приложение). Температура в морозильной камере типа КХТ-0,4-004 доводится дозначения, равного заданной для рукавов данного типа (п. 6 табл. 1), послечего образцы в приспособлении помещают в камеру, где выдерживают в течение (15± 1) мин.
По истечении времениохлаждения образцов камеру открывают и не позднее 2-3 с щеки приспособления собразцами смыкают до упора. После этого образцы извлекают из приспособления иосматривают. При обнаружении трещин на линии перегиба образец считают невыдержавшим испытания.
Испытания должны выдерживатьвсе образцы.
5.8. Прочность связивнутреннего слоя с каркасом определяют на разрывной машине маятникового типа соскоростью движения нижнего зажима (200 ± 20) мм/мин. При этом усилие раздираполоски рукава, шириной 50 мм определяют по динамометру с диапазоном измерениядо 100 Н с погрешностью не более 1 Н.
От любого конца рукаваотрезают образец длиной 250 мм, из которого в направлении нитей основы вырезаютдве полоски шириной (50 ± 1) мм. Один конец полоски расслаивают на длину 40-50мм, остальная часть полоски делится на 10 равных частей отметками.
Расслоенные концы полоскизакрепляют: один в подвижном, другой в неподвижном зажимах разрывной машины.При расслоении записывают показания динамометра при прохождении соответствующихотметок. Показатель прочности связи слоев на раздир каждого образца вычисляют каксреднее арифметическое значение 20 показаний динамометра по двум полоскам,вырезанным из одного рукава.
5.9. Стойкость к абразивномуизносу (п. 10табл. 1)определяют на образцах рукавов длиной (500 ± 25) мм на испытательном стенде(рис. 4, приложение). Приэтом образец рукава устанавливают в зажимных опорах, где образец совершаетвращательное движение со скоростью 12 об/мин. Истирание производитсяшлифовальной шкуркой 14А25НМ (ГОСТ 5009) шириной 50 мм, совершающейвозвратно-поступательное движение вдоль оси рукава со скоростью 2,2 м/мин,величина хода 80 мм, усилие прижатия шкурки к образцу рукава, находящемуся подизбыточным давлением воды (0,5 ± 0,01) МПа, составляет 105 Н. Количестводвойных ходов каретки со шкуркой регистрируется счетчиком.
Стойкость рукава кабразивному износу оценивается количеством циклов до появления свища.
5.10. Стойкость рукава кконтактному прожигу определяют на образцах рукава диаметром 51 мм длиной 500мм. Образец устанавливают вертикально в зажимных опорах и заполняют водой.Давление внутри образца поднимают до 1,0 МПа и поддерживают его постоянным втечение испытания. Калильный стержень (рис. 5, приложение)нагревается электрической спиралью до температуры (450 ± 5) °С и прижимается к образцу с усилием (4,0 ±0,1) Н.
Стойкость рукава кконтактному прожигу определяют как время контакта калильного стержня с рукавом дообразования свища. Время замеряют секундомером с погрешностью не более 0,1 с.
5.11. Для определения массырукава (п. 12табл. 1) скатку рукава взвешивают на весах для статического взвешивания (ГОСТ2.3676) с ценой деления шкалы 0,1 кг и пределом взвешивания 50 кг.
5.12. Допускается применятьдругие средства измерения с погрешностью измерения не более указанной.
5.13Термическое старение образцов рукавов проводят в термостате, удовлетворяющемследующим условиям:
- обеспечивается полныйобмен воздуха не менее трех и не более десяти раз в течение часа;
- поддерживается температурав рабочем объеме 70 или 100 °С и отклонением от заданнойне более ±1 °С.
Образцы рукавов длиной 1 м помещают,подвешивая на нитях, в термостат, нагретый до необходимой температуры (табл. 2).Расстояние между образцами и стенками термостата должно быть не менее 5 мм.
Продолжительность итемпература старения, в зависимости от типа пожарного рукава, приведены в табл.2.
После термического старенияобразцы кондиционируют в течение 24 ч, а затем у них определяют прочность слоевнараздир и разрывное давление.
Результаты испытанийоформляют протоколом.
7) Рукавная база (пост)- размещается на территории пожарного депо в отдельно стоящем здании и предназначена для хранения, технического обслуживания и ремонта пожарных рукавов
Техническое обслуживание (далее - ТО) - это комплекс профилактических мероприятий, проводимых в целях поддержания рукавов в исправном состоянии.
ТО и ремонт рукавов, находящихся на вооружении пожарных частей, осуществляется на линиях обслуживания пожарных рукавов (ЛОПР) в пожарных частях или на рукавных базах, обслуживающих несколько пожарных частей.
Оборудования, необходимого для оснащения рукавных баз и постов пожарных частей:
1. Ванна для отмачивания (оттаивания) рукавов.
2. Оборудование для мойки рукавов.
3. Оборудование для испытания рукавов на герметичность при избыточном давлении и разрежении.
4. Оборудование для сушки и талькирования рукавов.
5. Оборудование для скатки и перекатки напорных рукавов.
6. Установка для оборудования рукавов пожарными соединительными головками (например, методом «навязки проволокой»).
7. Оборудование для ремонта рукавов.
8) Колонка пожарная КПА применяется на реальных пожарах, где с ее помощью можно закрыть либо открыть подземный пожарный гидрант, который находится в колодце. Рукавная линия подсоединяется непосредственно к выходным патрубкам колонки, и затем вода подается к очагу пожара. Пожарная колонка включает в себя корпус с резьбовым кольцом в нижней части, которое необходимо для навертывания на пожарный гидрант. Верхняя часть представляет собой тройник с болтовыми соединениями и запорными вентилями. Снимать колонку можно только в том случае, когда клапан гидранта полностью закрыт. Колонку пожарную купить вы можете в нашем магазине в любой день с 9 до 18 ч.
Технические характеристики:
Масса: 15 кг Рабочее давление 1,0 МПа Габаритные размеры: 1080х430х190 м
Порядок работы с пожарной колонкой:
· установить колонку на резьбовой штуцер гидранта и навернуть до упора;
· открыть клапан гидранта поворотом ключа в два приема: сначала на 1-2 оборота для наполнения корпуса колонки водой, затем, после прекращения шума поступающей в нее воды, открыть полностью клапан гидранта;
· открыть вращением маховичков вентили выходных патрубков;
· закрытие клапана гидранта производить только при закрытых вентилях выходных патрубков колонки.
Устройство: 1 - корпус нижний; 2 - корпус верхний; 3 - ключ; 4 - ригель; 5, 8 - кольцо уплотнительное; 6 - вентиль;
7 - головка ГМН-80 ТУ У 29.2.30711025-012-2001; 9 - втулка направляющая; 10 - прокладка;
11 - кольцо резьбовое
9) В итоге, что можно вынести из всего того, что было описано выше:
Насос не всасывает воду, а только создает разряжение на своём входе, уменьшая атмосферное давление во всасывающей магистрали, а вода уже выдавливается в насос атмосферным давлением. Следует знать, что чем больше плотность воды если, например, в ней большое содержание песка, тем меньше высота всасывания – это полезное примечание для прокачивающих скважину.
Что еще познавательного можно сказать:
Например, увеличив температуру жидкости до +60°С - высота всасывания уменьшается почти в два раза - это происходит из-за того, что возрастает давление насыщенных паров.
10)ВЫСОТА ВСАСЫВАНИЯ (На): Геометрическая высота, измеряемая от минимального уровня жидкости до оси насоса (см. прилагаемую схему).
ВЫСОТА НАГНЕТАНИЯ (Нi): Геометрическая высота, измеряемая от оси насоса до максимального уровня подъема (см. прилагаемую схему).
Если перекачивание осуществляется между открытыми резервуарами с одинаковым давлением (давление окружающей среды), как это обычно и случается, то значение Р1-Р2=0. Следует рассчитать отдельно манометрическую высоту всасывания, чтобы убедиться в том, что насос будет производить всасывание без затруднений.
11) Насос ПН-40УВ предназначен для подачи воды или водных растворов пенообразователя с температурой до 30 С с водородным показателем РН от 7 до 10,5 плотностью до 1100 кг*м –3 и массовой концентрацией твёрдых частиц до 0,5% при их максимальном размере 3 мм. Насос используется для установки в закрытых отсеках пожарных автомобилей, в которых во время работы обеспечивается положительная температура.
Производительность, м3/с (л/с) |
0,04 (40) |
|
|
||||||||||||||||||||||||||||||||||||
Напор, м |
100+5 |
|
|
||||||||||||||||||||||||||||||||||||
Мощность, кВт (л.с.) |
62,2 (84,9) |
|
|
||||||||||||||||||||||||||||||||||||
Наибольшая геометрическая высота всасывания, м |
--- |
|
|
||||||||||||||||||||||||||||||||||||
Время заполнения с наибольшей геометрической высоты всасывания, с |
--- |
|
|
||||||||||||||||||||||||||||||||||||
Частота вращения вала, об/мин |
2700 |
|
|
||||||||||||||||||||||||||||||||||||
Наибольшее число одновременно работающих ГПС, штук |
5 |
|
|
||||||||||||||||||||||||||||||||||||
Условный проход Ду присоединительных патрубков: |
|
|
|
||||||||||||||||||||||||||||||||||||
напорного |
70 |
|
|
||||||||||||||||||||||||||||||||||||
всасывающего |
125 |
|
|
||||||||||||||||||||||||||||||||||||
Габариты, мм |
700 х 900 х 700 |
|
|
||||||||||||||||||||||||||||||||||||
Вес, кг |
65 |
|
|
||||||||||||||||||||||||||||||||||||
12)Изготовление манжет и колец по чертежам, эскизам и техническим требованиям заказчика позволяет применять наши уплотнения во всех отраслях промышленности — пищевой промышленности (на молочных комбинатах — использование манжет из пищевой резины, для производства и ремонта гидроцилиндров) прессовом оборудовании, машиностроении и т. д. 13)Щелевые уплотнения между рабочим колесом и корпусом насоса выполнены в виде уплотнительных колец из серого чугуна. Для эффективной работы насоса важно разделение напорной и всасывающей полостей насоса. Чем больше зазоры между рабочим колесом и корпусом, тем большее количество жидкости будет циркулировать в насосе. Это приведет к уменьшению подачи воды насосом и снижению его коэффициента полезного действия, поэтому в насосе устанавливаются щелевые уплотнения с очень малыми зазорами. Так, номинальный зазор между уплотнительными кольцами корпуса и рабочего колеса насоса 0,13 мм, а допустимый - 0,8 мм. Вал насоса изготовлен из закаленной легированной стали, и установлен на двух шарикоподшипниках. Направление вращения вала по часовой стрелке, если смотреть со стороны привода насоса. Уплотнение вала насоса достигается применением трех каркасных резиновых манжет 1.1-45?65-1, расположенных в съемном стакане (см. рис. 3.17), причем две манжеты работают на давление, а одна (первая от рабочего колеса) на разряжение, т.е. манжеты располагаются таким образом, что препятствуют утечке воды из насоса и подсосу воздуха в него. С целью повышения надежности манжет на корпусе насоса установлена колпачковая масленка, с помощью которой через шланг производится
14)Рабочие характеристики
центробежных насосов получают
при постоянном числе оборотов, изменяя
производительность насоса и
соответствующий ей напор, мощность и
коэффициент полезного действия. Обычно
результаты испытания насоса изображают
на одном графике в виде трех кривых:
Совокупность этих трех экспериментальных кривых называют рабочими характеристиками насоса. Рабочие характеристики, полученные при испытании насоса, являются основными техническими документами, характеризующими энергетические свойства насоса. Они прилагаются к техническому паспорту и используются как исходный материал при подборе насосов и эксплуатационных расчетах. Из приведенной на рисунке 42 примерной характеристики (показанной
Работа насосов с непрерывно снижающейся кривой H<Q (см. участок Н'0В) протекает устойчиво во всех точках кривой. Кроме кривых H-Q; N-Q и h-Q, на графике (рис. 42) имеется также кривая Hвак -Q, показывающая допустимые значения вакуумметрической высоты всасывания насоса при подаче соответствующих расходов. Для расширения области применения центробежных насосов, которые работают с электродвигателями переменного тока, не допускающими изменения числа оборотов (асинхронные электродвигатели с короткозамкнутым ротором и синхронные), применяется обрезка рабочего колеса по наружному диаметру. При уменьшении наружного диаметра рабочего колеса не более чем на 10-15% к. п. д. насоса практически не изменяется, а подача и потребляемая мощность уменьшаются. В соответствии с этим кривая h-Q на графике сместится влево, а кривые H-Q и N-Qпонизятся и образуют целые полосы H-Q (области) возможной работы рассматриваемого насоса за счет проведения указанной операции. Насосы рекомендуется эксплуатировать только в области высоких к. п. д. Следовательно, должна использоваться не вся полоса H-Q, а только ее часть, соответствующая допустимым к. п. д. На практике допускается снижение к. п. д. на 7-10% против наивысшего значения для данного насоса. Криволинейный четырехугольник MDEF ограничивает рекомендуемую область использования данного насоса. Подобные графические характеристики приводятся в каталогах для предельной обрезки рабочих колес не более чем на 10-20% величины нормального диаметра. Дальнейшая обрезка диаметра рабочего колеса не рекомендуется, так как при этом к. п. д. насоса начинает резко снижаться. При обрезке рабочего колеса центробежного насоса подача и напор изменяются в соответствии с приведенными ниже уравнениями.
где: Q и H -
подача и напор насоса при нормальном
наружном диаметре рабочего
колесаD2;
Q1 и H1 -
подача и напор насоса при обрезанном
колесе диаметром В результате совместного решения указанных двух уравнений находим, что:
15)1. Проверка работоспособности газоструйного вакуумаппарата и герметичности вакуумной системы ПН, емкости для воды и пенообразователя. Работоспособность вакуумной системы и герметичность насоса и его коммуникаций проверяется в следующей последовательности: закрыть вое задвижки, вентили и сливной кран насоса, закрыть заглушкой всасывающий патрубок. При работающем двигателе включить вакуумную систему, не включая насоса, и довести разрежение до 0,073-0,076 МПа (550 - 570 мм. рт. ст.). При нормально работающей вакуумной системе эти показатели должны быть достигнуты за 20 секунд. Герметичность насоса считается удовлетворительной, если падение разрежения не превышает величины 0,013 МПа (100 мм рт. ст.) за 2,5 мин. При снижении этих показателей выяснить причину и устранить неисправность. Обнаружить места неплотностей можно опрессовкой насоса водой или воздухом. Опресоовка водой производится на работающем насосе созданием в нем давления 1,2-1,3 МПа при закрытых напорных задвижках. Опреосовка воздухом производится от внешнего источника воздуха созданием давления в насосе 0,2... 0,3 МПа. Во время опрессовки воздухом неработающий насос и коммуникации нужно покрыть мыльной пеной. 2. Проверка технического состояния ПН и пеносмесителя забором и подачей воды из водоема. 2.1 Проверки работы пожарного насоса
2.2 Возможные неисправности пожарного насоса ПН-40УВ
|
|
|
|
16)
17.Если насос не выдерживает испытания на вакуум ,необходимо произвести опрессовку насоса воздухом под давлением 200…300кПа или водой под давлением 1200…1300 кПа. Перед опрессовкой места соединений целесообразно смочить мыльным раствором.
18.Явления, происходящие в насосе при парообразовании в начальной стадии и вплоть до прекращения (срыва) работы, имеют общее название кавитации.
Кавитация представляет собой сложный комплекс следующих явлений:
- выделение пара и растворенных газов из жидкости в тех областях, где давление жидкости равно или меньше давления насыщенных паров ее. - местное повышение скорости движения жидкости в том месте, где возникло парообразование, и беспорядочное движение жидкости. - конденсация пузырьков пара, увлеченных потоком жидкости в область повышенного давления. Конденсация каждого из пузырьков приводит к резкому уменьшению объема и гидравлическому удару в микроскопических зонах; однако «бомбардировка» этими ударами большой площади кавитируемой поверхности приводит и к большим площадям разрушения. Многократно повторяющиеся механические воздействия при конденсации пузырьков вызывают механический процесс разрушения материала колеса, что является наиболее опасным следствием кавитации. - химическое разрушение металла в зоне кавитации кислородом воздуха, выделившегося из жидкости при прохождении ее в зонах пониженного давления. Этот процесс носит название коррозии. Коррозия, действующая одновременно с цикличными механическими воздействиями, снижает прочность металла.
Кавитация, может происходить не только в рабочем колесе, но и в направляющем аппарате или в спирали, хотя здесь она наблюдается сравнительно редко. Явления кавитации сопровождаются характерным потрескиванием в области всасывания, шумом и вибрацией насоса.
Кавитация уменьшает КПД, напор и производительность насоса. При сильном развитии кавитации центробежный консольный насос полностью прекращает работу (срывает подачу). Длительная работа насоса при наличии даже незначительных кавитационных явлений совершенно недопустима. Особенно сильно при кавитации повреждаются детали насосов, если перекачивается вода, содержит твердые включения. От действия кавитации поверхности деталей становятся шероховатыми и губчатыми, что способствует быстрому истиранию деталей содержащимися в жидкости включениями. В свою очередь твердые частицы, истирая поверхности деталей, содействуют усилению кавитации. Особенно сильно кавитационному разрушению подвержены чугун и углеродистая сталь. Наиболее устойчивы в этом отношении насосы из нержавеющей стали и бронзы.
В последнее время в насосостроении, наряду с улучшением качества материалов (использованием выококачественныx сталей), начали применять защитные покрытия деталей, наиболее подверженных действию кавитации и истиранию. Защитные покрытия могут быть следующих видов: а)наплавка поверхностей твердыми сплавами; б)металлизация поверхностей в холодном состоянии; в) местная поверхностная закалка. В некоторых установках снижение кавитации былo достигнуто впуском небольшою количества воздуха во всасывающий патрубок насоса. Это, однако, приводит к уменьшению производительности насоса и снижению вакуумметрической высоты всасывания. Для предупреждения явлений кавитации, не следует располагать насос слишком высоко над поверхностью воды в приемном резервуаре.
19.Вакуумная система центробежного пожарного насоса предназначена для предварительного заполнения водой всасывающей линии и насоса при заборе воды из открытого водоисточника (водоёма). Кроме того, с помощью вакуумной системы можно создать в корпусе центробежного пожарного насоса разряжение (вакуум) для проверки герметичности пожарного насоса.
При эксплуатации вакуумной системы в составе насосной установки наиболее характерна следующая неисправность вакуумной системы: насос не заполняется водой (или не создаётся требуемый вакуум) при включённой вакуумной системе. Данная неисправность, при исправном двигателе пожарного автомобиля, может быть вызвана следующими причинами:
1. Не полностью перекрыт заслонкой выход отработавших газов через глушитель в атмосферу. Причинами могут быть наличие нагара на заслонке и в корпусе ГВА, нарушение регулировки привода тяги его управления, износа оси заслонки.
2. Засорён диффузор или сопло вакуумного струйного насоса.
3. Имеются неплотности в соединениях вакуумного клапана и пожарного насоса, трубопровода вакуумной системы или трещин в ней.
4. Имеются деформации или трещины корпуса ГВА.
5. Имеются неплотности в выпускном тракте двигателя пожарного автомобиля (происходят, как правило, из-за прогара выпускных труб).
3. Засорение трубопровода вакуумной системы или замерзание в нём воды.
20)При проверке насоса на “сухой вакуум” необходимо закрыть все краны и задвижки на насосе, включить двигатель и создать разрежение в насосе при помощи вакуумной системы 73...36 кПа (0,73...0,76 кгс/см2). Падение разрежения в насосе должно быть не более 13 кПа (0,13 кгс/см2) за 2,5 мин. Если насос не выдерживает испытания на вакуум, необходимо произвести опрессовку насоса воздухом под давлением 200...300 кПа (2...3 кгс/см2) или водой под давлением 1200...1300 кПа (12...13 кгс/см2). Перед опрессовкой места соединений целесообразно смочить мыльным раствором. Для измерения разрежения в насосе необходимо использовать приставной вакуумметр с соединительной головкой или резьбой для установки на всасывающий патрубок насоса или вакуумметр, установленный на насосе. В этом случае на всасывающий патрубок устанавливают заглушку.
21)Установить пожарный автомобиль на водоисточник по схеме (Рис. 1, а, б, в). Включить насос и подать воду при полном открытии задвижек на насосе в соответствии с номинальными значениями частоты вращения вала насоса. Определить величину напора, создаваемого насосом, по показаниям штатных манометра и мановакуумметра. Показания приборов, переведенные в м, вод. ст., при работе от открытого водоисточника складываются. Сравнить фактическое значение напора при номинальной частоте вращения вала с нормативными значениями. Примечание: В том случае, если двигатель не обеспечивает номинальную частоту вращения вала насоса, проверку производить при максимально возможной частоте вращения.
Тех условия:Изменение напора (уменьшение) по сравнению с номинальным значением не должно превышать 15%
22)нцпк-4/100
ТЕХНИЧЕСКИЕ ХАРАКТЕРИСТИКИ
Номинальная частота вращения приводного вала, об/мин. |
2700 |
Номинальная подача насоса нормального /высокого/ давления, л/с |
40 / 4 / |
Номинальный напор насоса нормального /высокого/ давления, м, не менее |
100 / 400 / |
Потребляемая мощность в режиме нормального /высокого/ давления, л.с., не более |
82 / 75 / |
Диаметр всасывающего патрубка |
Dу 125 мм |
Количество и условный проход выходных патрубков нормального давления |
3 х Dу 70 мм |
Количество и условный проход выходных патрубков высокого давления |
1 х Dу 20 мм |
Габаритные размеры насоса (длина х ширина х высота), мм, не более |
750 х 750 х 800 |
Масса насоса в полной комплектации (сухая), кг, не более |
150 |
Назначение: Насос НЦПК-40/100-4/400-В1Т применяется для комплектации пожарных автоцистерн всех видов (легкого, среднего и тяжелого класса), пожарных автомобилей первой помощи, пожарно-спасательных автомобилей и других мобильных и стационарных установок используемых при тушении пожаров.
Устройство:Пожарный насос НЦПК-40/100- 4/400В1Т (рис.1) представляет собой агрегат, состоящий из ступени (насоса) нормального давления 14, ступени (насоса) высокого давле- ния 17 c приводным редуктором и механизмом включения, напорного коллектора нормально- го давления 3, напорного коллектора высокого давления 22, полуавтоматической вакуумной системы водозаполнения, пеносмесителя 7 и контрольно-измерительных приборов.
23)вакуумный насос АВС‑01Э предназначен для заполнения внутренней полости всасывающих рукавов и пожарного насоса водой при работе пожарной автоцистерны от открытого водоисточника (водоема).
Вакуумный насос АВС‑01Э применяется для комплектации насосных установок пожарных автоцистерн, в том числе взамен газоструйного вакуумного аппарата, с целью повышения их технических и эксплуатационных характеристик.
По своему составу и функциональным характеристикам вакуумный насос АВС-01Э является автономной вакуумной системой водозаполнения.
Комплектация:
- вакуумный агрегат (вакуумный электронасос шиберного типа);
- пульт (блок) управления;
- датчик заполнения;
- коммуникации (воздухопроводы и электрокабели) и комплект монтажных частей.
Ттх:ТЕХНИЧЕСКИЕ ХАРАКТЕРИСТИКИ
Максимальное разрежение, создаваемое вакуумным насосом, кгс/см2 |
0,85...0,9 |
Время создания разрежения 0,8 кгс/см2 в объеме насосной установки, с |
5...7 |
Время водозаполнения пожарного насоса с высоты всасывания 3,5 м, с |
10...15 |
Время водозаполнения пожарного насоса с высоты всасывания 7,5 м, с |
20...35 |
Номинальное напряжение питания, В (постоянный ток) |
12 |
Электропотребление за один рабочий запуск, А-час. |
0,2...1,2 |
Средний расход масла за один рабочий запуск, мл |
1...5 |
Габаритные размеры вакуумного агрегата (длина x ширина x высота), мм |
400 x 220 x 220 |
Габаритные размеры пульта управления для АВС-01Э (ширина x высота x глубина), мм |
140 x 150 x 75 |
Габаритные размеры пульта управления для АВС-02Э (ширина x высота x глубина), мм |
75 x 103 x 65 |
Масса изделия (общая), кг, не более |
18 |
24)Уплотнения рабочего колеса всегда делаются щелевые, т. е. без непосредственного трения между твердыми уплотняющими элементами, но сечение и конфигурация зазоров выбираются такими, чтобы свести до минимума переток из напорной полости во всасывающий патрубок, определяющий объемный к. п. д. насоса.
Уплотнение вала насоса достигается применением пластичной набивки или каркасных резиновых сальников, которые размещены в специальном уплотнительном стакане (рис. 5.12). Стакан прикреплен к корпусу насоса болтами через резиновую прокладку. Болты через специальные отверстия зафиксированы проволокой во избежание их раскручивания.
При использовании в уплотнении вала пластичной набивки ПЛ-2 существует возможность восстановления герметизации узла без его разборки и замены деталей. Это осуществляется путем прессования набивки винтом.
При использовании для уплотнения вала насоса каркасных сальников АСК-45 и их замене необходимо помнить, что из четырех сальников один (первый к рабочему колесу) работает на разрежение и три — на давление. Для распределения смазки в сальниковом стакане предусмотрено маслораспределительное кольцо, которое соединено каналами со шлангом и пресс-масленкой. Водосборное кольцо стакана соединено каналом с дренажным отверстием, обильная утечка воды из которого указывает на износ сальников.
25)Устройство:
1— соединительная головка ГМ-70 2 — колено 3 — решетка 4 — сопло 5—диффузор 6—соединительная головка ГМ-80
Назначение
Гидроэлеватор Г-600 предназначен для забора воды из открытых водоисточников, которые находятся ниже уровня насоса до 20м и удалены от пожарного автомобиля на расстояние до 100 м. Гидроэлеватор может забирать воду из водоисточников с небольшой глубиной (5-10 см). Это свойство гидроэлеваторов позволяет использовать их для откачки воды, пролитой при тушении пожара.
Устройство
Гидроэлеватор Г-600 состоит из корпуса, на котором шпильками закреплены колено и диффузор со смесительной камерой. Внутри корпуса установлена коническая насадка, через которую проходит поток рабочей жидкости, подаваемой от центробежного насоса ПА. Эжектируемая жидкость из открытого водоисточника через всасывающую сетку поступает в вакуумную камеру и далее вместе с потоком рабочей жидкости перемещается в смесительную камеру и диффузор. Для соединения гидроэлеватора пожарными рукавами предусмотрены на колене гидроэлеватора и диффузора муфтовые соединительные головки.
Техническая характеристика гидроэлеватора Г-600А
Производительность при давлении в напорной линии
перед гидроэлеватором 0,8 МПа (8 кгс/см2), л/мин, не менее ...... 600
Рабочий расход воды при давлении 0,8 МПа
(8 кгс/см2), л/мин ................................................................................550
Рабочее давление, МПа (кгс/см2) ............................................. 0,2 - 1,2
Давление за гидроэлеватором при
производительности 600 л/мин, не менее ...................................... 0,17
Наибольшая высота подъема подсасываемой воды, м,
при рабочем давлении, МПа:
1,2 (12 кгс/см2) ..................................................................................... 19
0,2 (2 кгс/см2) ...................................................................................... 1,5
Условный проход, мм, патрубка:
входного ................................................................................................ 70
выходного ............................................................................................. 80
Габариты, мм, не более:
длина ................................................................................................... 680
ширина ................................................................................................ 290
высота ...................................................................................................160
Масса, кг, не более .............................................................................. 5,6
Струя воды от насоса подводится к колену и, выходя из сопла, создает в камере смешивания диффузора разрежение, в результате которого в камеру поступает определенное количество воды через сетку - эжектируемой расход. Подаваемая от насоса и эжектируемая вода смешивается и из гидроэлеватора поступает в цистерну. Из цистерны вода отбирается насосом. Часть ее вновь направляется в гидроэлеватор, а другая часть может быть использована для целей пожаротушения.
Периодические испытания должны проводиться не реже одного раза в год и после ремонта. На каждом гидроэлеваторе, на видном месте должна быть нанесена маркировка, содержащая следующие данные: а) инвентарный номер; б) дата проведенного испытания; в) номер пожарной части; Маркировка должна сохраняться в течение всего срока службы Г-600. Нанесение инвентарного номера на металлический корпус гидроэлеватора производится путем кернения или гравировки. Допускается нанесение даты испытания, номера пожарной части краской. Нанесение инвентарного номера на металлический корпус водосборника стирающимися, выцветающими средствами (маркер, фломастер) запрещается.
Схемы установки:При заборе воды по принципу "насос - гидроэлеватор - цистерна" емкость цистерны используют как промежуточную. Эта схема применяется при подаче на тушение одного ручного ствола с диаметром насадка 19 или 13 мм.
По команде: "Автоцистерну на водоем с помощью гидроэлеватора - ставь!" пожарный № 2 прокладывает рукавную линию диаметром 66 (77) мм от напорного патрубка насоса к водоему, переносит к водоему гидроэлеватор.
Пожарный № 4 прокладывает рукавную линию диаметром 77 мм от автомобиля к гидроэлеватору, присоединяет к гидроэлеватору рукавные соединительные головки, опускает его в водоем, обеспечивает работу гидроэлеватора.
Водитель присоединяет рукавную линию к напорному патрубку насоса, работает на насосе. Пожарный № 2 опускает конец рукавной линии, идущей от гидроэлеватора, в цистерну через люк.
В случаях, когда на тушение необходимо подать два ствола (расход до 10 л/с), а диаметр трубопровода из цистерны в насос недостаточен для поддержания уровня воды в емкости и стабильной работы насоса, необходимо всасывающий рукав от насоса опустить в емкость цистерны через люк (принцип "насос - гидроэлеватор - цистерна - насос").
По команде: "Автоцистерну на водоем с помощью гидроэлеватора и всасывающего рукава - ставь!" пожарный № 2 прокладывает рукавную линию диаметром 66 (77) мм от автомобиля к водоему, присоединяет ее к напорному патрубку насоса, переносит к водоему гидроэлеватор.
Пожарный № 3 прокладывает рукавную линию диаметром 77 мм от автомобиля к гидроэлеватору, один конец линии опускает в горловину цистерны, присоединяет к гидроэлеватору рукавные соединительные головки, опускает его в водоем, обеспечивает работу гидроэлеватора.
Пожарный № 4 и водитель снимают с автоцистерны всасывающий рукав (рукава), один его конец присоединяют к всасывающему патрубку насоса, другой опускают в горловину цистерны, водитель работает на насосе.
Работа с гидроэлеватором по принципу "насос - гидроэлеватор - насос". По команде: "Автоцистерну на водоем с помощью гидроэлеватора и водосборника - ставь!" пожарный № 3 прокладывает рукавную линию диаметром 66 (77) мм от напорного патрубка насоса к водоему, переносит к водоему гидроэлеватор.
Пожарный № 4 прокладывает рукавную линию диаметром 77 мм от автомобиля к гидроэлеватору, присоединяет к гидроэлеватору рукавные соединительные головки, опускает его в водоем, обеспечивает работу гидроэлеватора.
Водитель присоединяет рукавную линию к напорному патрубку насоса, снимает заглушку с всасывающего патрубка, навинчивает рукавный водосборник, присоединяет к нему рукавную линию от гидроэлеватора, работает на насосе.
При подаче воды на тушение пожара в количестве 10...20 л/с забор воды осуществляется с помощью двух гидроэлеваторов (личный состав привлекается с другой АЦ или АНР). При этом пожарный № 1 прокладывает рукавную линию от всасывающего патрубка насоса к первому гидроэлеватору, переносит и устанавливает гидроэлеватор. Пожарный № 2 прокладывает рукавную линию от всасывающего патрубка насоса ко второму гидроэлеватору, переносит и устанавливает гидроэлеватор.
Пожарные № 3, 4 прокладывают рукавную линию от напорного патрубка насоса до разветвления.
Пожарный № 3 переносит и устанавливает разветвление, прокладывает рукавную линию от разветвления к первому гидроэлеватору, соединяет линию с разветвлением и гидроэлеватором, опускает гидроэлеватор в водоисточник, работает на разветвлении. Пожарный № 4 прокладывает линию от разветвления до второго гидроэлеватора, соединяет ее с разветвлением и гидроэлеватором, опускает гидроэлеватор в водоисточник, работает на гидроэлеваторах.
Водитель присоединяет рукавную линию от разветвления к напорному патрубку насоса, навинчивает на всасывающий патрубок насоса водосборник, присоединяет к нему рукавные линии от гидроэлеваторов, работает на насосе.
26. Работа узлов башни гидромеханизмов обеспечивается гидросистемой, которая состоит из насоса-гидромотора, бака, фильтра, кранов управления, цилиндров, гидромоторов, предохранительного клапана, боевого коллектора, датчика газа, ручного насоса, кранов переключения, крана разгрузки, обратных клапанов и маслопроводов. Рабочее давление в гидросистеме 10 МПа. Применяемая гидравлическая жидкость летом — масло МГ. Зимой и в северных районах заменителем служит масло веретенное АУ.
Для подачи рабочей жидкости к агрегатам служит силовая группа. Жидкость засасывается из бака по трубопроводу насосом-гидромотором аксиально-поршневого типа. Бак гидросистемы автолестницы предназначен для компенсации потерь и для охлаждения рабочей жидкости, ее отстоя, выпуска паров и воздуха из гидросистемы (вместимость бака 90 л). Насос-гидромотор приводится в действие через раздаточную коробку от коробки отбора мощности. Коробка отбора мощности применяется стандартная;
27. технические характеристики насоса пожарного НШН-600:
Производительность насоса пожарного НШН-600 об/мин л.мин не меннее - 600
Наибольшая геометрическая высота всасывания насоса пожарного НШН-600 м - 6,5
Внутрений диаметр всасывающего патрубка насоса пожарного НШН-600 мм - 74
Внутрений диаметр напорного патрубка мм - 62
Рабочее давление насоса пожарного МПа - 0,45
Масса насоса пожарного НШН-600 кг - 30
Габаритные размеры насоса пожарного мм - 350×310×240
28.Пожарные стволы ручные воздушно-пенные СВПЭ - это вид пожарного оборудования. Пожарный ствол ручной воздушно-пенный СВПЭ представляет собой корпус: один конец корпуса имеет цапковую соединительную головку, которая соединяет ствол к пожарному напорному рукаву, а другой конец корпуса трубу, которая присоединяется на винтах. Так же в корпусе ствола СВПЭ имеется отверстие с ввернутым ниппелем, на который навязывается пожарный всасывающий рукав с внутренним диаметром 16 мм и длиной 1,5 м, рукав служит для подсасывания пенообразователя, который в корпусе ствола смешивается с водой. При рабочем давлении воды 0,6 Мпа создается разрежение в камере корпуса ствола СВПЭ не менее 600 мм рт.ст.
Пожарный ствол ручной воздушно-пенный СВПЭ это водоструйный эжекторный аппарат, в котором рабочей жидкостью служат вода или водный раствор пенообразователя, а подсасываемой - воздух. Пожарные стволы ручные воздушно-пенные СВПЭ производятся из алюминиевого сплава и поставляются в сборном виде.
Пожарные стволы ручные воздушно-пенные СВПЭ изготавливаются трех видов:
пожарный ствол ручной воздушно-пенный СВПЭ-2
пожарный ствол ручной воздушно-пенный СВПЭ-4
пожарный ствол ручной воздушно-пенный СВПЭ-8
Пожарные стволы ручные воздушно-пенные СВПЭ предназначены для получения из водяного раствора пенообразователя воздушно-механической пены низкой кратности и направления ее на очаг пожара. Под кратностью пены понимается отношение объёма пены, полученной на выходе из ствола, к объёму исходного раствора. Испытания на прочность материала и герметичность соединения пожарных стволов СВПЭ проводятся при гидравлическим давлением 0,9 Мпа в течении 1 мин. Пожарный ствол СВПЭ применяется в райнах с умеренным, холодным и тропическим климатом.
Пожарный ствол воздушно-пенный распылитель СВПР – это вид пожарного оборудования. Пожарный ствол воздушно-пенный распылитель СВПР представляет собой корпус, один конец корпуса имеет насадку с резьбой, предназначенную для навертывания соединительной пожарной муфтовой головки, которая соединяет ствол кпожарному напорному рукаву, а другой конец корпуса сопло и насадку из двух камер с сетками. Пожарный ствол воздушно-пенный распылитель СВПР – это водоструйный эжекторный аппарат, в котором рабочей жидкостью служат вода или водный раствор пенообразователя, а подсасываемой - воздух. Пожарный ствол СВПР поставляются в сборном виде.
Пожарный ствол воздушно-пенный распылитель СВПР предназначен для формирования и подачи раздроблённой струи воды в виде хлопьев воздушо-механической пены для тушения пожара. Пожарный ствол воздушно-пенныйраспылитель СВПР применяется при тушении пожаров твёрдых и жидких горючих материалов, охлаждения при пожаре незащищённых металлических конструкций и для создания водяных защитных экранов от огня. Пожарный ствол СВПР применяется в райнах с умеренным, холодным и тропическим климатом.
29.Пожарный ручной ствол-автомат РСКУ-50А-АП комбинированный универсальный (с изменяемой геометрией струи) с ручным и автоматическим регулированием расхода, с условным проходом 50. Ручной ствол редназначен для формирования и направления сплошной или распыленных (с изменяемым углом распыливания) струй воды и воздушно-механической пены низкой кратности.
Ручной ствол применяется для тушения пожаров, охлаждения строительных и технологических конструкций, осаждения облаков ядовитых или радиоактивных газов, паров и пылей.
Ствол изготовлен из алюминиевых сплавов и нержавеющей стали.
Пожарный ручной ствол-автомат РСКУ-50А-АП комбинированный универсальный (с изменяемой геометрией струи) с ручным и автоматическим регулированием расхода, с условным проходом 50. Ручной ствол предназначен для формирования и направления сплошной или распыленных (с изменяемым углом распыливания) струй воды и воздушно-механической пены низкой кратности. Ручной ствол применяется для тушения пожаров, охлаждения строительных и технологических конструкций, осаждения облаков ядовитых или радиоактивных газов, паров и пылей. Ствол изготовлен из алюминиевых сплавов и нержавеющей сУсловный проход 50мм
Рабочее давление 0,4 - 0,6 МПa
Расход струи 2-8 л/с
Дальность струй, не менее 18-30м
Эффективная дальность распыленной струи (с углом факела 40°) не менее 12м
Диапазон угла факела распыленной струи 0-120°
Угол факела защитной завесы 120°
Диаметр факела защитной завесы 6м
Дальность пенной струи, не менее 25м
Кратность пены, не менее 9м
Габариты, не более 290*100*250 мм
Масса, не более 2.5кг
30.Пожарный лафетный ствол с ручным управлением ЛС-С-20
Предназначен для формирования сплошной струи воды или струи воздушно-механической пены низкой кратности и подачи струи в зону горения.
Ствол является надежным стационарным, ремонтируемым, многократного действия изделием, монтируемым в соответствии с проектом защищаемого объекта.
Используется материал — нержавеющая сталь, что обеспечивает стойкость к агрессивным средам. Лафетные стволы могут поставляться с экраном, обеспечивающим защиту от теплового излучения.
Технические характеристики ЛС-С-20
Рабочее давление 0,8 МПа
Расход воды, не менее 20 л/с
Расход водного раствора пенообразователя, не менее 20 л/с
Дальность струи (по крайним каплям): водяной сплошной (не менее) 60 м пенной (не менее) 40 м
Кратность пены на выходе из ствола До 10
Перемещение ствола в горизонтальной плоскости, не менее 360о
Перемещение ствола в вертикальной плоскости: вверх (не менее) 85 вниз (не менее) 45
Радиус вращения ствола с насадком в развернутом положении: с водяным (не более) 927 мм с пеногенератором (не более) 975 мм
Масса, не более 50
Ствол может эксплуатироваться как внутри помещений, так и на открытом воздухе при температуре от - 400С до +400С.
Работоспособность лафетного ствола сохраняется до - 600С.
Ствол в нижней части имеет стойку, которая служит для присоединения его к магистральному трубопроводу с помощью фланцевого соединения ДУ 65 или к отводу от него с условным проходом ДУ 65 и рабочим давлением до 1,0 МПа, обеспечивает расход 20 л/с, либо 40 л/с (в зависимости от насадка).
Дальность водяной струи 60 м при давлении 8 атм и расходе 20 л/с.
Ствол имеет два поворотных узла, обеспечивающих перемещение водяной или пенной струи в двух взаимно-перпендикулярных плоскостях. Перемещение производится вручную с помощью рычага-рукоятки. В отличие от аналогичных по назначению стволов, использующих узлы поворота на основе насыпных подшипников с беговой дорожкой, в данной конструкции поворотные узлы выполнены на шариковых радиальных подшипниках, которые обеспечивают плавность и легкость поворота, а также надежность конструкции в период срока эксплуатации. Это исключает неконтролируемое «сбегание» шариков (что приводит к «закусыванию» или заклиниванию узла поворота).
31. Стволы лафетные комбинированные (водопенные) предназначены для формирования сплошной или сплошной и распыленной с изменяемым углом факела струй воды, а также струй воздушно-механической пены низкой кратности. Лафетные стволы подразделяются на стационарные, монтируемые на пожарном автомобиле; возимые, монтируемые на прицепе и переносные.
Переносные лафетные стволы входят в комплект пожарных автоцистерн и насосно-рукавных автомобилей. Переносной лафетный ствол ПЛС-П20 (рис.3.22) состоит из корпуса 1, напорных патрубков 3, приемного корпуса 4, фиксирующего устройства 5, рукоятки управления 6. В приемном корпусе имеется обратный шарнирный клапан, который позволяет присоединять и заменять рукавные линии к напорному патрубку без прекращения работы ствола. Внутри корпуса 1 трубы ствола установлен четырехлопастной успокоитель. Для подачи воздушно-механической пены водяной насадок на корпусе трубы заменяют на воздушно-пенный 2. Основные технические характеристики лафетного ствола ПЛС-П20 представлены в табл.3.9.
Таблица 3.9
Показатели |
Размерность |
Диаметр насадка, мм |
||
22 |
28 |
32 |
||
Рабочее давление Расход воды Расход пены Длина струи
|
МПа л/с м3/мин
м м
|
6,0 19 -
61 - |
6,0 23 12
67 32 |
6,0 30 -
68 - |
32. Для получения из водного раствора пенообразователя воздушно-механической пены средней кратности и подачи ее в очаг пожара используются генераторы пены средней кратности.
В зависимости от производительности по пене выпускаются следующие типоразмеры генераторов: ГПС-200; ГПС-600; ГПС-2000. Их технические характеристики представлены в табл.3.11.
Таблица 3.11
Показатель |
Размерность |
Генератор пены средней кратности |
||
ГПС-200 |
ГПС-600 |
ГПС-2000 |
||
Производительность по пене |
л/с |
200 |
600 |
2000 |
Кратность пены |
|
80 … 100 |
||
Давление перед распылителем |
МПа |
0,4 … 0,6 |
||
Расход 4-6% раствора пенообразователя |
л/с |
1,6…2,0 |
5,0…6,0 |
16,0…20,0 |
Дальность подачи пены |
м |
6 |
10 |
12 |
Соединительная головка |
|
ГМ-5 |
ГМ-70 |
ГМ-80 |
Генераторы пены ГПС-200 и ГПС-600 по конструкции идентичны и отличаются только геометрическими размерами распылителя и корпуса. Генератор представляет собой водоструйный эжекторный аппарат переносного типа и состоит из следующих основных частей (рис.3.26): корпуса генератора 1 с направляющим устройством, пакета сеток 2, распылителя центробежного 3, насадка 4 и коллектора 5. К коллектору генератора при помощи трех стоек крепится корпус распылителя, в котором вмонтирован распылитель 3 и муфтовая головка ГМ-70. Пакет сеток 2 представляет собой кольцо, обтянутое по торцевым плоскостям металлической сеткой с размером ячейки 0,8 мм. Распылитель вихревого типа 3 имеет шесть окон, расположенных по углом 120 , что вызывает закручивание потока рабочей жидкости и обеспечивает получение на выходе распыленной струи. Насадок 4 предназначен для формирования пенного потока после пакета сеток в компактную струю и увеличения дальности полета пены. Воздушно-механическая пена получается в результате смешения в генераторе в определенной пропорции трех компонентов: воды, пенообразователя и воздуха. Поток раствора пенообразователя под давлением подается в распылитель. За счет эжекции при входе распыленной струи в коллектор происходит подсос воздуха и перемешивание его с раствором. Смесь капель пенообразующего раствора и воздуха попадает на пакет сеток. На сетках деформированные капли образуют систему растянутых пленок, которые, замыкаясь в ограниченных объемах, составляют сначала элементарную (отдельные пузырьки), а затем массовую пену. Энергией вновь поступающих капель и воздуха масса пены выталкивается из пеногенератора.
В качестве пенных пожарных стволов комбинированного типа (рис.3.27) рассмотрим установки комбинированного тушения пожаров (УКТП) «Пурга», которые могут быть ручного, стационарного и мобильного исполнения. Они предназначены для получения воздушно-механической пены низкой и средней кратности. Технические характеристики УКТП различного исполнения представлены в табл.3.12.
Показатель |
Размерность |
Установка комбинированного тушения пожара (УКТП) типа |
||||||
Пурга 5 |
Пурга 7 |
Пурга 10 |
Пурга 10.20.30 |
Пурга 20.60.80 |
Пурга 30.60.90 |
Пурга 200-240 |
||
Производительность по раствору пенообразователя |
л/с |
5…6 |
7 |
10 |
30 |
80 |
90 |
200…240 |
Производительность по пене средней кратности |
л/с |
350 |
490 |
700 |
1200 |
2400 |
2700 |
6000 |
Дальность подачи струи пены средней кратности |
м |
20 |
25…30 |
30 |
45…50 |
70 |
85 |
90…100 |
Рабочее давление перед стволом |
МПа |
0,8 |
0,8 |
0,8 |
0,8 |
0,8 |
0,9…1,2 |
1,0…1,4 |
Кратность пены |
|
70 |
70 |
60…70 |
30…40 |
30 |
30 |
30 |
Расход пенообразователя |
л/с |
0,36 |
0,4 |
0,8 |
1,8 |
4,8 |
5,0 |
12,0 |
33. Пенные вставки предназначены для введения пенообразователя в поток воды из цистерны пожарного автомобиля пенного пожаротушения. Дозирующие вставки устанавливают чаще всего в напорных рукавных линиях в тех случаях, когда необходимо обеспечить большие расходы пенообразующего раствора, например для питания пеноподъемников с 2 - 3 пеногенераторами ГПС-600 или одного ГПС-2000.
Рис. 2. Дозирующая вставка
1 - манометр,
2 – корпус,
3 – соединит.головки,
4 - приемный патрубок,
5 – дозирующая шайба
Дозирующая вставка (рис. 2) состоит из цилиндрического корпуса 2 с соединительными головками 3 для пожарных рукавов, по которым поступает вода. Пенообразователь во вставку поступает от насоса пожарного автомобиля пенного тушения по пожарному рукаву через дозирующую шайбу 5, расположенную в приемном патрубке 4. Площадь отверстия дозирующей шайбы определяют по формуле:
При подаче пенообразователя в дозирующую вставку насос, подающий пенообразователь, должен создавать напор от 2 до 30 м (в зависимости от числа подключенных пеногенераторов) и всегда должен быть выше напора в рукавной линии.
Дозирующие вставки можно устанавливать и на всасывающей линии. В этом случае они должны быть оборудованы соответствующими присоединительными головками.
В настоящее время промышленность выпускает переносные пеносмесители ПС-1, ПС-2, аналогичных по конструкции и различающихся только размерами и технической характеристикой.
Рис. 1. Пеносмеситель
1 – всасывающий шланг,
2 – рабочая камера,
3 – корпус,
4 – диффузор,
5 - сопло
Пеносмеситель (рис. 1) состоит из корпуса 3, в котором расположено сопло 5, направленное через рабочую камеру 2 на входное отверстие диффузора 4. Струя воды, проходя через сопло в диффузор, создает в рабочей камере 2 разрежение. Под действием разрежения во всасывающий шланг 1 из емкости (бочки, бака, цистерны) пенообразователь поступает в рабочую камеру, где и смешивается с водой, образуя пенообразующий раствор.
Испытания пеносмесителя на прочность материала и герметичность соединений производят гидравлическим давлением 1,5 МПа (15 кгс/см2), при этом просачивание воды в течение 1 минуты не допускается.
Дозировку пеносмесителя проверяют водой при напоре перед пеносмесителем 0,7 МПа (7 кгс/см2) и подпоре 0,45 МПа (4,5 кгс/см2). Подсасывание воды определяют по мерной емкости. Оно должно быть в пределах, указанных в таблице, при этом полученный расходподсасываемой воды умножают на 0,86 - коэффициент разности вязкости воды и пенообразователя ПО-1 (при использовании пенообразователей иных типов коэффициент может быть другим, что требуется определить расчетом).
Для нормальной работы емкость с пенообразователей должна быть на уровне смесителя или несколько выше (но не превышать высоты 2 м).
ПОКАЗАТЕЛИ |
ПЕНОСМЕСИТЕЛИ |
||
ПС - 1 |
ПС - 2 |
||
Давление перед пеносмесителем, МПа |
0,7…1,0 |
||
Давление за пеносмесителем, МПа |
0,45…0,70 (не менее) |
||
Расход раствора пенообразователя, л/с |
5,0…6,0 |
10,0…12,0 |
|
Количество подсасываемого пенообразователя при напоре перед смесителем 0,8 МПа, л/с |
0,26
|
0,52
|
|
Дозировка пенообразователя ПО-1, % |
4…6 (нерегулируемая) |
||
Условный проход всасывающего рукава, мм |
16 |
25 |
|
Условный проход соединительных головок, мм |
70 |
80 |
|
Диапазон рабочих температур, ° С |
-40…+45 |
||
Масса, кг |
исполнение 1 |
3,6 (не более) |
5,0 (не более) |
исполнение 2 |
9,0 (не более) |
10,0 (не более) |
|
Длина, мм |
исполнение 1 |
395 (не более) |
480 (не более) |
исполнение 2 |
355 (не более) |
440 (не более) |
|
Срок службы, лет |
8 (не менее) |
||
34.Пеносмесители предназначены для получения водного раствора пенообразователя, применяемого для образования пены в генераторах пены средней кратности. Пеносмесители являются струйными насосами
На пожарных насосах устанавливают пеносмесители ПС-5. Дозатор ПС-5 имеет 5 радиальных отверстий диаметрами 7,4; 11; 14,1;18,2; 27,1 мм, рассчитанных на дозировку пенообразователя при работе соответственно 1, 2, 3, 4, 5 генераторов ГПС-600 или стволов СВП.
Пеносмесительсостоитиз: корпуса 3, в котором расположено сопло 5, направленное через рабочую камеру 2 на входное отверстие диффузора 4. Струя воды, проходя через сопло в диффузор, создает в рабочей камере 2 разрежение. Под действием разрежения во всасывающий шланг 1 из емкости (бочки, бака, цистерны) пенообразователь поступает в рабочую камеру, где и смешивается с водой, образуя пенообразующий раствор
.
Рисунок
1.Пеносмеситель:
1
– всасывающий шланг, 2 – рабочая камера,3
– корпус, 4 – диффузор, 5 - сопло
Неисправности
1. Пеносмеситель не подает пенообразователь - 1)засорен трубопровод из бака к пеносмесителю. 2)Засорены отверстия дозатора. - 1.Разобрать, прочистить трубопровод. 2.Разобрать дозатор, прочистить его отверстия.
2. Уровень дозирования пенообразователя ниже нормы. - Засорение магистрали пенообразователя, в частности, проточной полости отсекающего клапана. - Разобрать и прочистить все элементы магистрали пенообразователя.
3. Не поворачивается рукоятка дозатора - Появление на поверхностях трения кристаллических отложений и продуктов коррозии в результате плохой промывки. - Разобрать дозатор, очистить сопрягаемые поверхности от налета.
Тема Основные пожарные автомобили
Классификация ПА согласно типажу .
Основные пожарные автомобили |
Специальные пожарные автомобили |
Вспомогательные пожарные автомобили |
|
общего применения |
целевого применения |
||
АЦ — автоцистерны; АНР — насосно-рукавный; АПП — первой помощи; АВД — с насосом высокого давления |
АА — аэродромные; АП — порошкового тушения; АПТ — пенного тушения; АКТ — комбинированного тушения; АГТ — газового тушения; ПНС — насосная станция; АГВТ — газоводяного тушения |
АЛ — автолестницы; АПК- автоподъемники коленчатые; АР — рукавные; ДУ — дымоудаления; ГДЗС — газодымозащитной службы; АСА – автомобили аварийно-спасательные; АШ — штабные |
Бензовозы; Авторемонтные мастерские; Автобусы; Грузовые автомобили; Легковые автомобили |
Маркировка основных ПА.
Цветографические схемы пожарных автомобилей предусматривают окраску корпуса в красный цвет. Для опознавательных знаков и контрастирующих элементов установлен белый цвет. Ходовая часть машин окрашивается в чёрный цвет. На определенных местах указывается краткое обозначение типа пожарного автомобиля (АЦ, ПНС и др.), название города, номер пожарной части и характеристики пожарного автомобиля в зависимости от его назначения. Надписи на поверхностях, окрашенных в основной цвет, должны выполняться контрастирующим цветом, а на поверхностях, окрашенных в контрастирующий цвет, — основным цветом. Не допускается нанесение на наружные поверхности ПА надписей, рисунков и эмблем рекламного содержания. Колена пожарных автолестниц, авто- и пеноподъемников окрашиваются в белый или серебряный цвет, а выступающие и перемещающиеся части этих транспортных средств, представляющие опасность для обслуживающего персонала, должны быть окрашены чередующимися полосами красного и белого цвета
Ширина декоративных полос, нанесенных на боковые поверхности грузовых автомобилей и автобусов, должна быть от 150 до 230 мм.
Ширина каждой из двух параллельных декоративных полос, нанесенных на переднюю и заднюю части транспортного средства симметрично относительно его продольной оси, должна быть от 120 до 180 мм с расстоянием между полосами (90 +- 5) мм
Высота букв номера ПЧ – 200мм, высота букв города и обозначения автомобиля- 60 мм.
Для нанесения декоративных полос используют самоклеящиеся пленки, в том числе со световозвращающим покрытием, а также лакокрасочные материалы.
Схемы компановки ПА.
Назначение дополнительной трпнсмиссии.
Трансмиссией называется совокупность кинематически связанных между собой механизмов и агрегатов, предназначенных для передачи мощности (крутящего момента) от двигателя к потребителям (к ведущим колесам, специальным агрегатам и т. п.). Трансмиссия позволяет изменять передаваемый крутящий момент, а также частоту и направление вращения валов.
Для привода пожарного насоса наибольшее распространение имеет дополнительная механическая трансмиссия, которая состоит из коробки отбора мощности (КОМ), карданных валов, промежуточных опор и системы управления трансмиссией.
Рис.4 Схема компоновки дополнительных трансмиссий:
а, б — вариант I; в — вариант II; г — вариант III:
1 — двигатель; 2 — сцепление; 3 — коробка отбора мощности; 4 — карданный вал;
5 — опоры; 6 — пожарный насос; 7 — коробка передач; 8 — раздаточная коробка
Вариант - 1(рис 4б) на пожарных автомобилях АЦ-40(131)-153, АЦ-40 (375)-Ц1, АЦ-40 (375)-Ц1А, АЦ-40 (133Г)-181 и АНР-40 (131)-27А. Отличительной особен-ностью такой схемы яв¬ляется более укороченная длина карданной передачи, не имеющей промежуточной опоры. В обеих схемах варианта I крутящий мо¬мент от двигателя 1 пере-дается через механизм сцепления 2, ко¬робку передач 7, коробку отбора мощности 3, кардан-ную передачу 4 и вал пожарного насоса 6. Карданная передача при заднем рас¬положении на-соса имеет две промежуточные опоры 5. На всех пожарных автомобилях, выполненных на шасси ЗИЛ, устанавли¬вают КОМ-68Б, а на шасси «Урал» КОМ-Ц1А;
Вариант -11(рис.4в) осуществляют на автоцистернах АЦ-~30(53А)-106А и 106Б, монтируемых на шасси ГАЗ с колесной формулой 4 X2. Мощность от двигателя 1 к валу насоса пере¬дается через механизм сцепления 2, коробку перемены передач 7, коробку отбора мощности 3 и далее через два карданных вала 4, соединенных на вал насоса 6. Карданная передача от короб¬ки отбора мощности к валу насоса имеет промежуточную опору 5;
Вариант III представлен на( рис.4 г). Такую схему применяют, как правило, на всех пожар-ных автомобилях, монтируемых на шасси повышенной проходимости с колесной формулой 4х4 Например, на АЦ-30(6б)-146 пожарный насос 6 приводится в действие от двигателя через механизм сцепления 2, коробку передач 7, карданный вал 4, раздаточную коробку 8, коробку отбора мощ-ности 3.
АЦ 3,0 -40(4331) с дизельным двигателем
Автоцистерна пожарная АЦ 3.2- 40 ЗИЛ-4333 предназначена для тушения пожаров в населенных пунктах, на промышленных предприятиях, в сельской местности и других объектах и служит для доставки к месту пожара боевого расчета, пожарно-технического вооружения и запаса огнетушащих веществ.
Технические характеристики АЦ 3,2-40 (ЗИЛ-4331)
Базовое шасси – ЗиЛ-4331 Колесная формула – (4х2) Мощность двигателя, кВт (л.с.) – 110 (150) Максимальная скорость, км.ч – 95 Вместимость цистерны для воды, куб.м (л) – 3,2 (3200) Бак для пенообразователя, куб.м (л) (материал — нержавеющая сталь) – 0,18 (180) Тип пожарного насоса – НЦПН-40/100 с системой АВС-01Э Производительность насоса, л/с – 40 Габаритные размеры, мм – 7650х 2500х3100 Полная масса, кг – 11860 Боевой расчет (включая место водителя), чел. – 6
АЦ 3,0 -40(4333) с бензиновым двигателем
Автоцистерна пожарная АЦ-3-40(433362) модели ПМ-574 на двухосном шасси автомобиля семейства ЗИЛ-4333, оснащеннаяпожарным насосом ПН-40УА (ПН-40УВ), предназначена для:
тушения пожаров огнетушащими средствами;
доставки к месту пожара боевого расчета, пожарно-технического вооружения и запаса огнетушащего вещества;
подачи воды и воздушно-механической пены низкой и средней кратности через напорные рукава, ручные и лафетные стволыи пеногенераторы при тушении очагов пожара.
Полная масса, кг: |
9900 |
Удельная мощность: |
150 |
Вместимость цистерны для воды, л: |
3000 |
Вместимость пенобака, л: |
190 |
Колесная формула: |
4x2 |
Скорость максимальная, км/ч: |
80 |
Число мест для боевого расчета (включая водителя): |
6 |
Дополнительные системы охлаждения и подогрева ПА
Двигатель, работая на насос в летнее время в стационарном режиме, может перегреваться. Поэтому в систему охлаждении вводят дополнительный теплообменник, сочиненный трубами с пожарным насосом.
Подогрев масла в картере двигателя и подогрев охлаждающей жидкости.
Во время установки в автомобиль к устройству подводят топливную магистраль, а само врезают в малый контур охлаждения двигателя. Также система подогрева предполагает присутствие небольшого насоса, обеспечивающего циркуляцию тосола по системе охлаждения. Работа устройства начинается тогда, когда загорается горелка. На разогрев мотора уходит примерно час. При этом блок управления может включить вентилятор печки в салоне. Так что встретит вас не только теплый двигатель, но и кабина.
Безаварийная эксплуатация жесткого карданного шарнира
Карданная передача служит для передачи крутящего момента от ведомого вала коробки передач или раздаточной коробки к ведущему валу главной передачи. Ее применение связано с тем, что изменяется взаимное положение осей валов трансмиссии, и они не лежат на одной прямой.
Посредством карданной передачи могут соединяться следующие элементы трансмиссии:
двигатель и коробка передач;
коробка передач и раздаточная коробка;
коробка передач и главная передача;
раздаточная коробка и главная передача;
дифференциал и ведущие колеса.
Жесткий карданный шарнир, предназначенный для компенсации неточностей монтажа, имеет существенные недостатки: шум при работе, низкую долговечность, трудоемкость изготовления. По указанным причинам на автомобилях применяются крайне редко.
Применяют вильчатые жесткие карданные шарниры с неравными угловыми скоростями, они на игольчатых подшипниках и асинхронные. В приводе на управляемых передних ведущих колесах используют шарниры с равными угловыми скоростями – синхронные. В них передача вращения от ведущей вилки на ведомую осуществляется через шарики, перекатывающиеся по круговым вилочным желобам. Для центрирования вилок имеется центральный шарик.
АНР 40-800(4331)
Базовое шасси
ЗИЛ-4331
Колесная формула
(4x2)
Мощность двигателя, кВт (л.с.)
110 (150)
Максимальная скорость, км.ч
80
Боевой расчет (вкл. место водителя)
6 чел.
Цистерна для пенообразователя, куб.м (л)
1,0(1000)
Тип пожарного насоса
НПЦ-40/100
Производительность насоса, л/с
40
Габаритные размеры, мм
Длина
7000
Ширина
2500
Высота
3200
Полная масса, кг
8560
АПП 0,3-4/400 (2703)
Технические характеристики Пожарный автомобиль первой помощи АПП-0,3-2,0 Емкость цистерны для воды, л 300 Количество мест для боевого расчета, чел 3 Масса полная, кг 3500 Мощность двигателя шасси, кВт 66 Базовое шасси ГАЗ-33021, карб., 4х2 Мах. скорость, км/ч 100 Количество/мощность прожекторов, шт/кВт 1/1,5 Высота подъема мачты с прожектором, м 5 Мощность переносного генератора, кВт 6 Мотопомпа переносная высоконапорная МПВ-2/400-60 Производительность насоса, л/с 2 Напор, м 400 Длина шланга, м 60 Габаритные размеры, мм 5400/ 2000/ 2600
ПАНКР-4/1,2-130 (Урал -6370)

Рис.
42. Рабочая характеристика центробежного
насоса.
(4
- 1)
(4
- 2)