Вопрос №1
Необходимость введения передачи как промежуточного звена между двигателем и исполнительным органом, предназначенным для совершения требуемой от машины работы, связана с решением следующих задач:
– изменение частоты вращения;
– изменение вращающего момента;
– преобразование одного вида движения в другой (вращательного в поступательное, вращательного в качательное, поступательного во вращательное);
– согласование валов в пространстве;
– большинство двигателей устойчиво работает в узком диапазоне изменения вращающего момента и угловой скорости; при выходе за пределы данного диапазона двигатель останавливается, например, автомобильный двигатель;
– в некоторых случаях регулирование двигателя возможно, но нежелательно по экономическим причинам, поскольку двигатели имеют низкий КПД за пределами нормального режима работы;
– масса и стоимость двигателей при одинаковой мощности снижаются с увеличением частоты вращения.
Кроме механических передач существуют электрические, гидравлические и пневматические передачи. Наибольшее распространение получили механические передачи, которые применяются как самостоятельно, так и в сочетании с другими видами передач.
Вопрос №2
|
Зубчатой передачей называется механизм, служащий для передачи вращательного движения с одного вала на другой и изменения частоты вращения посредством зубчатых колес и реек. Зубчатое колесо, сидящее на передающем вращение валу, называется ведущим, а на получающем вращение — ведомым. Меньшее из двух колес сопряженной пары называют шестерней; большее — колесом; термин «зубчатое колесо» относится к обеим деталям передачи. Зубчатые передачи представляют собой наиболее распространенный вид передач в современном машиностроении. Они очень надежны в работе, обеспечивают постоянство передаточного числа, компактны, имеют высокий КПД, просты в эксплуатации, долговечны и могут передавать любую мощность (до 36 тыс. кВт). К недостаткам зубчатых передач следует отнести: необходимость высокой точности изготовления и монтажа, шум при работе со значительными скоростями, невозможность бесступенчатого изменения передаточного числа. В связи с разнообразием условий эксплуатации формы элементов зубчатых зацеплений и конструкции передач весьма разнообразны.
Вопрос №3 Планетарными называют
передачи, имеющие зубчатые колёса с
перемещающимися осями. Планетарную
передачу применяют как редуктор с
постоянным передаточным числом, как
коробку скоростей, передаточное число
в которой изменяется путём поочерёдного
торможения различных звеньев (водила
или одного из колёс), как дифференциальный
механизм. Их успешно применяют в
транспортном машиностроении,
станкостроении, приборостроении и
т.д. Имеется большое количество
различных типов планетарных передач,
но одноступенчатая планетарная
передача получила самое широкое
распространение. Она с успехом
применяется как для больших, так и
малых мощностей в силовых и кинематических
приводах, т.е. не имеет ограничений по
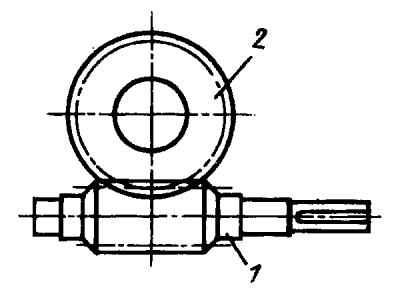
применению. КПД передачи Устройство и принцип работы Планетарная передача (рис. 1) состоит из неподвижного центрального колеса 1с наружными зубьями, сателлитов 2, неподвижного центрального колеса 3 с внутренними зубьями и водила Н, на котором укреплены оси сателлитов.
Сателлиты обкатываются по центральным колесам и вращаются вокруг своих осей, то есть совершают движение, подобное движению планет. Водило вместе с сателлитами вращается вокруг центральной оси. При неподвижном центральном колесе 3 движение может передаваться от центрального колеса 1 к водилу Н или от водила к колесу 1. В случае неподвижного водила движение может передаваться от колеса 1 к колесу 3 или от колеса 3 к колесу 1. Планетарную передачу, в которой одно из центральных колёс неподвижно, называют простейшей. В отличие от простейшей планетарную передачу, в которой все зубчатые колёса и водило подвижны (свободны), называют дифференциальной. В дифференциальной передаче одно движение можно раскладывать на два или два движения сложить в одно. Например, движение колеса 3 можно передавать одновременно колесу 1 и водилу Н или от колес 1 и 3 водилу Н. Достоинства планетарных передач 1) Большое передаточное число в одной ступени; 2) Малые габариты и масса. Это объясняется следующим: мощность передается по нескольким потокам, число которых равно числу сателлитов; 3) Повышенная нагрузочная способность, так как широко применяются зубчатые колёса с внутренним зацеплением (большой радиус кривизны); 4) Малая нагрузка на опоры, так как сателлиты расположены симметрично, и поэтому силы в передаче взаимно уравновешивают друг друга; 5) Планетарные передачи работают с меньшим шумом, что связанно с повышенной плавностью внутреннего зацепления и меньшими размерами колёс. Недостатки планетарных передач 1) Повышенные требования к точности изготовления и монтажа; 2) Резкое снижение КПД передачи с увеличением передаточного числа (увеличение количества трущихся поверхностей). Во время Второй мировой войны была разработана особая конструкция планетарной передачи, которая использовалась для привода небольших радаров.
Вопрос №4 Червячные передачи – это передачи зацеплением с непосредственным контактом витков червяка и зубьев червячного колеса (рис.1). Червяк 1 – это винт с трапецеидальной или близкой к ней по форме резьбой. Червячное колесо является косозубым зубчатым колесо с зубьями особой дуговой формы. Такая форма зубьев обеспечивает увеличение их длины и прочности зубьев на изгиб.
Червячные передачи применяют при необходимости передачи движения между перекрещивающимися (как правило взаимно перпендикулярными) валами. При вращении червяка его витки плавно входят в зацепление с зубьями колеса и приводят его во вращение. Передачи используют в станках, автомобилях, подъемно-транспортных и других машинах. |
Достоинства червячных передач
Возможность получения большого передаточного числа и в одной ступени (до 80 и более).
Компактность и сравнительно небольшая масса конструкции.
Плавность и бесшумность работы.
Возможность получения самотормозящей передачи, т.е. допускающей движение только от червяка к колесу и имеющей высокое сопротивление обратному движению. Самоторможение червячной передачи позволяет выполнить механизм без тормозного устройства, препятствующего вращению колес (например, под действием силы тяжести поднимаемого груза).
Возможность получения точных и малых перемещений (это свойство червячной передачи широко используется в приборостроении).
Недостатки червячных передач
Сравнительно низкий КПД вследствие повышенного скольжения витков червяка по зубьям колеса и значительное в связи с этим выделение теплоты в зоне зацепления.
Необходимость применения для венцов червячных колес дорогих антифрикционных материалов(чаще всего – сплавы меди).
Повышенное изнашивание и склонность к заеданию.
Необходимость регулирования зацепления (средняя плоскость венца червячного колеса должна совпадать с осью червяка).
Качество и работоспособность червячной передачи во многом зависят от формы, твердости, шероховатости и точности изготовления винтовой поверхности витка червяка.
При работе червячных передач выделяется большое количество теплоты. Потерянная мощность Р1 на трение в зацеплении и подшипниках, а также на размешивание и разбрызгивание масла переходит в теплоту, которая нагревает масло, а оно через стенки корпуса передает эту теплоту окружающей среде. Если отвод теплоты недостаточен, передача перегреется. При перегреве смазочные свойства масла резко ухудшаются (его вязкость падает) и возникает опасность заедания, что может привести к выходу передачи из строя. Поэтому червячные передачи во избежание их перегрева предпочтительно использовать в приводах периодического (а не непрерывного) действия. Тепловой расчет червячной передачи производится как проверочный после определения размеров корпуса при эскизном проектировании. Тепловой расчет червячной передачи при установившемся режиме работы производится на основе теплового баланса, т. е. равенства тепловыделения Qв и теплоотдачи Qo:
Вопрос №5
Приводная цепь — цепь, предназначенная для передачи механической энергии от ведущеговала к ведомому в цепных передачах.
Цепь состоит из соединённых шарнирами звеньев, обеспечивающих подвижность или «гибкость» цепи. Основными геометрическими характеристиками цепей являются шаг цепи t и расстояние между внутренними пластинами Bвн, основной силовой характеристикой — разрушающая нагрузка, которая определяется экспериментальным путём.
Для приводных цепей характерны (в сравнении с тяговыми цепями) малые шаги (для уменьшения динамических нагрузок) и износостойкие шарниры (для повышения долговечности).
Классификация:
Приводные цепи по конструкции бывают: роликовые и втулочные[1], а также зубчатые[2].
Роликовые цепи
Роликовая цепь типа ПР[1] состоит из звеньев двух типов: внешних и внутренних. Отдельные детали цепи: 1 — пластина внешнего звена; 2 — пластина внутреннего звена; 3 — валик; 4 — втулка; 5 — ролик. Пластины внутреннего звена 2 соединены с натягом со втулками 4 и образуют неподвижное соединение. Валик З свободно входит во втулку и образует цилиндрическое шарнирное соединение. Внешние пластины 1 спрессованы с валиками, которые на торцах развальцованы. Ролик 5 на втулке 4 может свободно вращаться при вхождении в зацепление с зубцами звёздочки.
В подвижных сопряжениях втулки с валиком и роликом имеет место трение скольжения, в сопряжении роликов с зубцами звёздочек преобладает трение качения.
Приводные роликовые цепи бывают одно- (ПР), двух- (2ПР), трёх- (3ПР) и четырёхрядными (4ПР). Нагрузочная способность многорядных цепей почти пропорциональна числу рядов. Использование многорядных цепей позволяет значительно уменьшить габаритные размеры передачи в плоскости, перпендикулярной к осям валов. Их выполняют из тех же элементов, что и однорядные, только валики имеют увеличенную длину. В связи с наличием двух типов звеньев число звеньев в цепном контуре должно быть чётным. В случае необходимости использования цепей с нечётным количеством звеньев применяют специальные переходные звенья.
Разновидностью роликовых цепей являются приводные роликовые цепи типа ПРИ (с изогнутыми пластинами и одним периодическим звеном). Такие цепи имеют однотипные звенья, благодаря чему число звеньев в контуре может быть как чётным, так и нечётным. Роликовые цепи с одним периодическим звеном имеют большую продольную податливость, и поэтому их используют при нагрузках ударного характера.

Рисунок
1.Простейшая планетарная передача