- •2. Приемка электровоза локомотивной бригадой
- •II. Управление электровозом и обслуживание его в пути следования
- •1. Пуск электровоза, остановка и обслуживание его в пути следования
- •2. Порядок проезда нейтральной вставки контактной сети
- •3. Действия локомотивной бригады при снятии напряжения в контактной сети
- •4. Действия локомотивной бригады при снижении напряжения в контактной сети
- •5. Действия локомотивной бригады при гололеде
- •6. Действия локомотивной бригады при повреждении токоприемников или контактной сети
- •7. Особенности эксплуатации электровозов с угольными вставками на полозе токоприемника
- •8. Подготовка электровозов к работе в зимних условиях
- •9. Обслуживание электровоза вл80к в зимний период
- •10. Порядок перехода локомотивной бригады при смене кабин управления
- •11. Содержание и хранение инструмента на электровозах
- •Пневматическая часть
- •Электрическая часть
- •Защитные средства на электровозе и сроки их испытания
- •III. Методы отыскания повреждений в электрических цепях электровоза
- •1. Определение неисправностей по сигнализации на пульте машиниста и срабатыванию защиты
- •Рассмотрим основные случаи нарушения нормальной работы электровоза.
- •Срабатывание брд определяют по положению якорей 21, 22.
- •2. Отыскание неисправностей прозвонкой цепи и проверкой секвенции
- •IV. Возможные неисправности в электрических и пневматических цепях электровоза вл80к их причины, признаки и способы устранения
- •1. Общие сведения
- •2. Основные изменения в электрических цепях и конструкциях электровозов
- •3. Цепи управления токоприемниками
- •Действия машиниста при к.З. В цепях от провода э15 на ведущей секции:
- •Действия машиниста при к.З. В цепях от провода э15 на ведомой секции:
- •Действия машиниста при освобождении перегона без определения места к. З. В цепях от провода э15 (для вл80к до № 352):
- •Действия машиниста при освобождении перегона без определения места к.З. В цепях провода э15 (для электровозов вл80к с № 352 (см. Рис. 6 б):
- •4. Цепи управления главных выключателей
- •Действия машиниста на электровозах вл80к с № 352 при к.З. Между проводами э13—н72 в ведущей или ведомой секции должны быть следующими:
- •5. Цепи управления тяговых двигателей, идущие от контроллера машиниста (кмэ) и цепи синхронизации экг
- •Действия машиниста при определении к.З. В создающихся цепях от провода н2 при переводе главной рукоятки контроллера из положений о в ап:
- •Действия машиниста при невозможности определить место к.З. В проводах от кмэ или в создающихся от них цепях:
- •6. Цепи зарядного агрегата (трпш), распределительного щита (рщ) и аккумуляторной батареи (аб)
- •7. Цепи управления расщепителей фаз
- •8. Цепи управления вспомогательных машин
- •9. Силовые и вспомогательные цепи
- •10. Характерные неисправности в пневматических цепях
- •Принципиально-монтажные схемы основных электрических цепей управления
- •В принципиально-монтажных схемах имеются следующие сокращения:
СОВЕТЫ
ЛОКОМОТИВНОЙ БРИГАДЕ ЭЛЕКТРОВОЗА ВЛ8ОК
I. СОДЕРЖАНИЕ И ЭКСПЛУАТАЦИЯ ЭЛЕКТРОВОЗОВ
1. Порядок приведения электровоза в рабочее состояние
Подготовка электровоза к работе заключается в проверке технического состояния оборудования и узлов электровоза, подготовке к проверке электрической схемы, проверке электрической схемы при опущенном и поднятом токоприемнике.
Проверка технического состояния оборудования и узлов. Перед проверкой технического состояния оборудования и узлов тщательно осматривают состояние механической и ходовой частей. При осмотре тормозной рычажной передачи обращают внимание на нормальное положение и износ тормозных колодок, башмаков, наличие валиков, шайб, шплинтов и гаек. При осмотре рессорной системы обращают внимание на наличие шплинтов, затяжку гаек, на состояние резиновых шайб и листовых рессор. Проверяют состояние буксовых поводков и крепление их к раме и буксе, бандажей колесных пар на отсутствие трещин, раковин и ползунов. Проверяют крепление предохранительных скоб, кронштейнов, поручней и подножек. Осматривают автосцепку и проверяют дату заправки смазкой кожухов зубчатых передач и моторно-осевых подшипников, наличие смазки в боковых опорах, шкворневом узле, в картерах компрессоров (главного и вспомогательного).
Проверяют состояние тяговых двигателей.
Производят тщательный внешний осмотр крепления всего оборудования, аппаратов, проводов, труб пневматической системы, вентилей, выпрямительных установок; проверяют состояние изоляторов на отсутствие сколов и трещин; убеждаются в отсутствии касания наконечников между собой и заземленных деталей проверяют уровень трансформаторного масла и наличие всех предохранителей на панелях аппаратов, распределительном щите, кнопочных выключателях в соответствии с принципиальной электрической схемой.
Тщательно осматривают аппараты и другое оборудование. В этом случае проверяют состояние дугогасительных камер, отсутствие касания контактов о стенки камер, целостность гибких шунтов и пружин; убеждаются, что на шинах и выводах аппаратов и радиаторах вентилей ВУ отсутствуют посторонние предметы; проверяют четкость работы аппаратов и их блокировок вручную; переводят рукоятки разобщительных кранов в необходимый режим; проверяют на соответствующих аппаратах наличие пломб; проверяют заполнение песочниц песком.
Подготовка к проверке электрической схемы. Перед проверкой электрической схемы открывают шторы высоковольтной камеры и устанавливают заземляющую штангу на ввод силового трансформатора; включают: рубильники аккумуляторных батарей на обеих секциях, рубильники трансформаторов, регулируемых подмагничиванием шунтов (ТРПШ), и рубильники цепей управления. В темное время суток включают освещение кабин, машинного помещения, высоковольтных камер и ходовых частей. Перед включением рубильников проверяют величину напряжения на аккумуляторной батарее по вольтметру, находящемуся на распределительном щитке. Если напряжение на батарее низкое, то включают (освещение помещений только на период их осмотра. Необходимо убедиться в отсутствии посторонних предметов в высоковольтной камере. После этого включают крышевые разъединители токоприемников 2 (см. рис. 18), разъединитель 6 (на электровозах ВЛ80к с № 624), включают разъединители вентилей 81—84; включают кнопки кнопочных выключателей 226, 227 (см. рис. 16); проверяют рубильники переключателей 19 и 20, которые должны находиться в нижнем положении, а рубильники переключателей 105 и 111 — в верхнем положении; проверяют положение разъединителей секции 126 (см. рис. 19), которые должны быть отключены и запломбированы и положение переключателей режимов, которые должны находиться в положении Рабочий режим электровоза; проверяют по указателям позиции на ЭКГ, что их главные валы находятся на нулевых позициях; восстанавливают выпавшие флажки на реле перегрузки РП1 — РП4, реле 88, 113 сигнальных реле PC блоков защиты выпрямительных установок.
Перед подъемом токоприемника снимают заземляющую штангу, закрывают все шторы и двери высоковольтной камеры, заблокировав их механическими блокировками, разблокировывают кнопочные выключатели пульта машиниста, включают кнопку Цепи управления.
В зависимости от наличия сжатого воздуха в пневматической системе электровоза выполняют следующее.
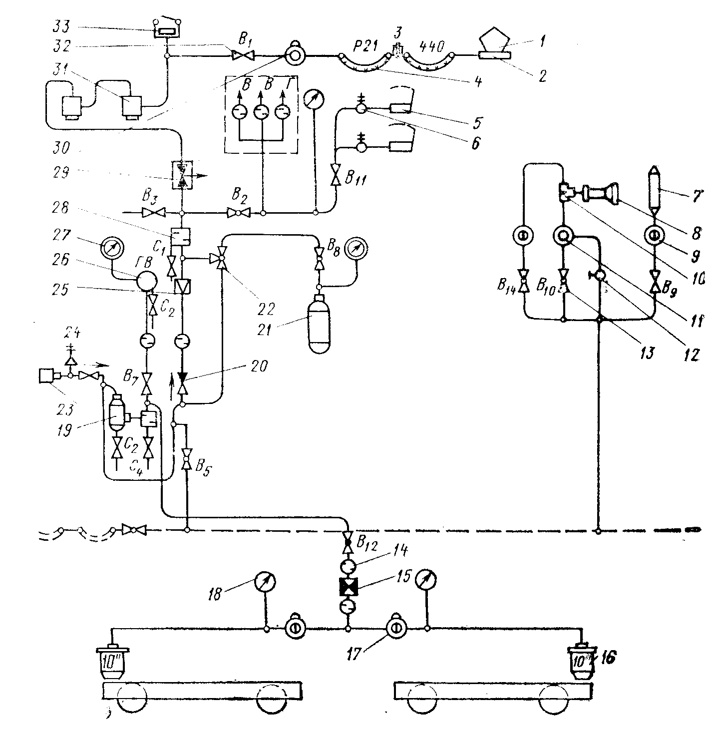
1. Если в главных резервуарах давление воздуха выше 3,5 кгс/см2, резервуаре ГВ ниже 6 кгс/см2, то доводят давление в резервуаре ГВ с помощью вспомогательного компрессора до нужной величины. Для этого, перекрыв краны В2, В5, В8 и В12 (рис. 1) и установив рукоятку трехходовых кранов в рабочее положение, включают вспомогательный компрессор. Когда давление в резервуаре ГВ достигнет 6 кгс/см2, выключают вспомогательный компрессор, открывают краны В2, В5, В8 и кран неработающего токоприемника В1. Затем поднимают токоприемник, включают расщепители фаз, основные компрессоры и откачивают воздух в главных резервуарах до 9 кгс/см2.
Рис. 1. Принципиальная пневматическая схема вспомогательных цепей:
1 — токоприемник; 2 и 4 — соединительные рукава; 3— изолятор проходной; 5 — стеклоочиститель; 6 — кран редукторный; 7 — свисток; 8 — тифон; 9, 17 и 30 — клапаны электропневматические; 10 — клапан переключательный; 11 — клапан пневматический; 12 — клапан сигнала; 13 я 32 — краны разобщительные; 14 — фильтр контакторный; 15 — регулятор давления; 16 — тормозной цилиндр; 18 и 27 — манометры; 19 и 21 — воздушные резервуары; 20 — клапан обратный; 22 — кран трехходовой; 23 — вспомогательный компрессор; 24 — клапан предохранительный; 25 — редуктор; 26 — главный выключатель; 28 — маслоотделитель; 29 — вентиль защитный; 31 — блокировка пневматическая; 33 — пневматический выключатель управления
2. Если отсутствует воздух в системе управления или давление в главных резервуарах ниже 3,5 кгс/см2, то перекрывают краны В2, В5, В8, В12 и кран неработающего токоприемника В1. Затем вспомогательным компрессором поднимают давление в резервуаре ГВ до 6 кгс/см2, а в цилиндре токоприемника — до 3,5 кгс/см2. После поднятия токоприемника, не прекращая работы вспомогательного компрессора, включают расщепители фаз и основные компрессоры. Как только в главных резервуарах давление поднимется до 4 кгс/см2, краны В2, В5, В8, В12 открывают после этого отключают вспомогательный компрессор и откачивают воздух в главных резервуарах до 9 кгс/см2.
Проверка электрических цепей при опущенном токоприемнике. Проверяют последовательность включения аппаратов секций электровоза из кабин машиниста от всех кнопочных выключателей, контроллера машиниста в следующих режимах работы: рабочий режим электровоза, отключение секции электровоза. Аварийный режим работы расщепителей фаз проверяют совместно с мастером при приемке электровоза с планового вида ремонта.
Проверяют синхронную работу групповых переключателей из каждой кабины, при ручном и автоматическом наборе и сбросе позиций; проверяют работу радиостанции и локомотивной сигнализации и сигнализации на пульте машиниста.
Осматривают оборудование, обеспечивающее безопасность обслуживания. Проверяют надежность работы механических и пневматических блокировок штор высоковольтных камер. Токоприемник может быть поднят только при отключенном положении отключателей 19, 20 в обеих секциях, включенных вентилях безопасности 104 (см рис. 6, а и б), включенных всех пневматических блокировок, закрытых шторах (высоковольтных камер обеих секций и замкнутых контактах реле давления 232. Включение отключателей 19, 20, открытие любой из штор любой секции, размыкание контакта реле давления 232 (и размыкание контакта блокировочного устройства 235) исключает подъем токоприемника. Проверяют, можно ли ключи щитков ВВК вынуть из замков только при закрытых дверях и шторах, и убеждаются, что при вынутых ключах открытие дверей и штор ВВК невозможно. Проверяют, можно ли этими ключами зашунтировать контакты реле давления 232, для чего вставляют ключи в замки блокировочного устройства 235, поворачивают их на угол 90°, ручку поворачивают в положение Реле давления зашунтировано, а также проверяют, можно ли открыть замки ящика подкузовных розеток.
Проверка электрических цепей при поднятом токоприемнике. После проведения всех перечисленных работ и устранения обнаруженных неисправностей снимают заземляющую штангу, закрывают все шторы и двери высоковольтной камеры и блокируют механическими блокировками. Разблокировав кнопочные выключатели, устанавливают съемную рукоятку блокировочного устройства 367 в рабочее положение, включают кнопки Цепь управления и Сигнализация.
При давлении воздуха в главных резервуарах выше 3,5 кгс/ом2, а в резервуаре главного выключателя не ниже 6 кгс/см2 проверку выполняют в следующем порядке.
1. Поднимают токоприемник нажатием кнопок «Пантографы» и «Пантограф задний» или «Пантограф передний». Перед подъемом токоприемника подают предупредительный сигнал. При включенной кнопке «Пантографы» включается реле 236, которое разрывает цепь отключающего электромагнита, главного выключателя на позициях ГПО—3 вала группового переключателя.
2. Включают кнопку «Включение ГВ» и «Возврат реле» (см. рис. 8, а и б). При этом включается реле 204 в обеих секциях электровоза и получают питание удерживающие катушки реле 21, 22 и главных выключателей 4 уд.
Нажатием кнопки «Включение ГВ» и «Возврат реле» включаются главные выключатели, реле 264 и дифференциальные реле 21, 22. Включение главных выключателей контролируют по потуханию красных сигнальных ламп ГВ передней и задней секций.
Кроме этого, с включением ГВ подается напряжение 380 В на трансформатор питания магнитных усилителей блоков защиты от пробоя. Включается реле РПВ. Включение дифференциальных реле 21, 22 и реле РПВ блоков защиты от пробоя контролируется по потуханию красных сигнальных ламп ВУ передней и задней секций. Наличие напряжения на силовом трансформаторе и величину напряжения в контактной сети контролируют по вольтметрам 97. По потуханию красной сигнальной лампы ЗБ убеждаются, что аккумуляторная батарея включена на подзарядку.
Нажатием кнопки «Фазорасщепители» запускают расщепители фаз. По загоранию зеленой сигнальной лампы ФР убеждаются, что запуск расщепителей фаз обеих секций закончен и разрешено включение вспомогательных машин.
После включения кнопок вспомогательных машин по потуханию красных сигнальных ламп убеждаются, что включены контакторы вентиляторов тяговых двигателей в обеих секциях (по лампе В); контакторы масляных насосов трансформаторов в обеих секциях (по лампе ТР); контакторы вентиляторов охлаждения выпрямительных установок (по лампе ОВУ).
Переводят главную и реверсивную рукоятки контроллера машиниста с нулевого в одно из рабочих положений. При этом по потуханию красных сигнальных ламп ТД убеждаются, что включились линейные контакторы 51—54. Затем проверяют работу токоприемников и главного выключателя. При проверке цепи управления вольтметры должны показывать напряжение 50±2,5В, а амперметр — величину тока заряда аккумуляторной батареи. Проверяют также прожектора, буферные и сигнальные фонари с обеих сторон электровоза, песочницы при управлении из обеих кабин, автоматический и прямодействующий тормоз в соответствии с действующей Инструкцией ЦВ-ЦТ-ЦЛ ВНИИЖТ №277.
В зимних условиях при низкой температуре воздуха для обеспечения четкой работы оборудования принимают ряд дополнительных мер.
При температуре воздуха ниже — 35°С возможно застывание масла в системе охлаждения трансформатора, поэтому начинать работу электровоза следует при замкнутой кнопке «Низкая температура масла» и выключенной кнопке «Мотор-насос трансформатора». После нагрева масла в трансформаторе от +20 до +30°C включают кнопку «Мотор-насос трансформатора» и отключают кнопку «Низкая температура масла».
Включают кнопкой «Обогрев компрессора» обогреватель его картера; если запуск мотор-компрессора все-таки затруднен, то проворачивают его вал на два-три оборота вручную.
Включают кнопкой «Обогрев кранов» на кнопочном выключателе 227 обогреватели спускных кранов продувки.
Включают кнопкой «Обогрев санузла» на кнопочном выключателе 226 второй секции обогреватель бака санузла.
Включают «Обогреватель ЭКГ» при температуре окружающего воздуха от —20 до—50°С и оставляют включенными на всевремя работы. Включение нагревателя при температуре окружающего воздуха выше —20°С недопустимо.
2. Приемка электровоза локомотивной бригадой
В обязанности локомотивной бригады входит систематический осмотр электровоза перед отправлением его с составом, на промежуточных остановках, в пути следования и особенно при приемке электровоза из депо, пункта технического осмотра и смене бригад на станционных путях без отцепки электровоза of состава.
Так как при сменном способе обслуживания локомотивов и работе их на длинных тяговых плечах время на смену бригад и приемку электровозов ограничено, то машинисты и их помощники должны рационально использовать время, для определения технического состояния электровоза и подготовки его к дальнейшей работе.
Рекомендуется следующий порядок приемки электровоза локомотивной бригадой при безусловном соблюдении положений инструкции по тормозам ЦВ-ЦТ-ЦЛ-ВНИИЖТ № 277
Приемка электровоза на станциях без отцепки от поезда. Перед приемкой электровоза машинист лично просматривает «Журнал технического состояния электровоза» (форма ТУ-152) и проверяет по нему наличие, отметки или штампа о проверке автостопа (АЛСН) и радиосвязи, времени производства последнего технического осмотра, заправки моторно-осевых подшипников, выполнения служебного ремонта сдающей локомотивной бригадой. Машинист знакомится со всеми замечаниями по работе электровоза, просматривает скоростемерную ленту прибывшего машиниста, обращает внимание на наличие юза колесных пар, работу АЛСН и эффективность действия автотормозов.
Помощник машиниста в это время проверяет исправность и дату проверки защитных средств, комплектность сигнальных принадлежностей.
При достижении давления в главных резервуарах 8—9 кгс/см2 выключают все вспомогательные машины, главный выключатель и опускают токоприемник. Убедившись в том, что токоприемник опустился, блокируют пульт управления, ставят рукоятку крана машиниста в третье положение, а рукоятку крана усл. № 254 — в шестое положение, после чего машинист и помощник выходят в машинное помещение для осмотра оборудования.
Не открывая штор и дверей высоковольтной камеры, машинист наружным осмотром через сетки ВВК проверяет положение сигнальных флажков РП1 — РП4, РЗ и реле 113, состояние блоков силовых аппаратов, силового трансформатора, аппаратов панелей № 1 — № 4. Особое внимание машинист обращает на состояние изоляторов трансформаторов, шунты контакторов, подводящих шин. Следит, чтобы не было следов подгаров и оплавлений.
Помощник машиниста в это время проверяет температуру и уровень масла в силовом трансформаторе, картерах компрессоров, состояние и дату проверки огнетушителей, концевых рукавов, наличие антиаварийной смазки, сверяет количество тормозных башмаков и инструмента с описью.
Машинист, убедившись в остановке вспомогательных машин, открывает шторы высоковольтной камеры, снимает емкостные заряды и навешивает заземляющую штангу на высоковольтный ввод трансформатора. В высоковольтной камере продувает резервуар ГВ, для чего закрывает кран В7 и открывает кран С. После этого закрывает кран С и открывает кран В7. В момент наполнения воздухом резервуара ГВ проверяет включение автомата минимального давления (АМД) главного выключателя, осматривает контакторы ЭКГ без дугогашения и проверяет состояние узлов и аппаратов, по которым имеются записи в Журнале технического состояния электровоза.
Помощник машиниста проверяет уровень смазки в картере компрессора, который должен быть не ниже контрольной риски.
При выходе из высоковольтной камеры проверяется напряжение аккумуляторной батареи, исправность работы вспомогательного компрессора путем его включения, правильность положения, рукояток кранов пневматической цепи и наличие песка в бункерах.
Закончив проверку первой секции, машинист вместе с помощником машиниста аналогичным образом, но при открытых шторах высоковольтной камеры проверяют вторую секцию.
После проверки обеих секций и устранения обнаруженных неисправностей высоковольтные камеры на обеих секциях закрываются и блокируются.
При заблокированных высоковольтных камерах проверяют работу обоих токоприемников на подъем и опускание. После включения главного выключателя проверяют работу расщепителей фаз и вспомогательных машин. После включения компрессоров обращают внимание на их производительность.
В тех случаях, когда приемка электровоза на станционных путях совмещена с экипировкой, машинист проверяет состояние крышевого оборудования, обращая особое внимание на исправность полозов токоприемников, чистоту и целостность изоляторов, отсутствие подгаров на ножах разъединителя главного выключателя, крепление шин и шунтов.
При достижении давления в главных резервуарах 9 кгс/см2 машинист ставит рукоятку крана машиниста в первое, а затем в поездное положение. Проверяет работу ЭКГ, переключение реверсоров, включение линейных контакторов и действие песочниц. Помощник машиниста в это время проверяет ток зарядки аккумуляторных батарей, продувает главные резервуары, отстойники и грязесборники.
При осмотре механической части проверяют состояние бандажей колесных пар остукиванием молотком и визуально на отсутствие ослабления, расслоения, раковин, ползунов и подрезов гребней;
1. Рессорное подвешивание, обратив внимание на наличие шплинтов, крепление стопорных планок и отсутствие сдвига листов рессор;
2. Крепление буксовых поводков к раме и буксе и отсутствие трещин в их приливах, состояние автосцепки;
3. Тормозную рычажную передачу, обратив внимание на толщину тормозных колодок, выход штоков тормозных цилиндров, наличие валиков, шайб и шплинтов;
4. Крепление предохранительных скоб и поводков, регулировочных болтов и песочных труб, отсутствие течи масла из кожухов, зубчатой передачи и моторно-осевых подшипников, уплотнение смотровых люков тяговых двигателей.
После осмотра механической части продувают тормозную магистраль, проверяют наличие пломб на ЭПК, ящике дешифратора, скоростемере, локомотивном светофоре и устройстве рукоятки бдительности. Проверяют плотность тормозной, напорной магистрали и действие радиостанции. Обнаруженные в процессе осмотра неисправности устраняют принимающая и сдающая бригады.
Приемка электровоза после технического обслуживания (ТО-2) производится так же, как и на путях станции. При этом особое внимание обращается на устранение неисправностей, записанных в «Журнале технического состояния электровоза» (ТУ-152). Например, при замене тормозной колодки проверяют постановку чеки и правильность регулировки тормозной передачи, а при заправке моторно-осевых подшипников — закрепление крышек шапок моторно-осевых подшипников.
Локомотивная бригада проверяет правильность положения всех рубильников и кранов воздухопроводов, наличие стандартных предохранителей, наличие достаточного уровня смазки t в картерах компрессоров, проверяет, полностью ли заполнены песочные буккеры, регулировку подачи песка под колесные пары и наличие пломб на форсунках песочниц. Кроме этого, машинист электровоза проверяет работу электрической схемы при опущенном и поднятом токоприемнике.
Приемка электровоза после планового ремонта (ТР) производится в таком же объеме, как и после технического обслуживания (ТО-2) с выполнением ряда дополнительных работ.
Проверяют правильное положение рубильников переключателей 19, 20, 105, 111, 126, ножей разъединителей вентилей 81— 84, а также крышевых разъединителей 2 и 6 (см. рис. 18 и 19).
Убеждаются в отсутствии посторонних предметов в высоковольтных камерах. Локомотивной бригаде запрещается выезжать из основного депо при неукомплектованности электровоза исправным инструментом и инвентарем.
Машинист электровоза обязан проверить работу компрессоров, пневматической цепи и автотормозов в соответствии с инструкцией ЦВ-ЦТ-ЦЛ ВНИИЖТ № 277, а также работу электрической цепи при опущенном и поднятом токоприемнике.
Приемка электровоза после отстоя по неравномерности движения поездов. В летний период приемка электровоза локомотивной бригадой после отстоя по неравномерности движения производится так же, как и после планового вида ремонта или осмотра.
В зимнее время года проверяют, нет ли снега или льда в тяговых двигателях и инея на коллекторах. Два тяговых двигателя обычно проверяют через верхние смотровые люки. При наличии снега или льда хотя бы в одном из тяговых двигателей проверяют состояние всех тяговых двигателей после постановки электровоза на смотровую канаву. При наличии снега, льда в тяговом двигателе или инея на коллекторе следует действовать так, как установлено техническими указаниями № 364-ЦТЭ от 1971 г.
Сдача электровоза. При смене локомотивных бригад на станционных путях сдающая бригада готовит электровоз к сдаче, а при наличии неисправностей или ненормальной работе оборудования электровоза бригада устраняет их, о чем делает запись в «Журнале технического состояния электровоза».
Сдающая бригада очищает от грязи и снега ходовые части, внутреннее оборудование электровоза и выполняет служебный ремонт согласно перечню, установленному службой локомотивного хозяйства. Если в процессе сдачи электровоза обнаруживаются какие-либо неисправности, то они должны быть устранены силами сдающей и принимающей бригад.
При постановке электровоза в депо или пункте оборота в резерв по неравномерности движения затормаживают электровоз ручным тормозом, выключают и блокируют все кнопки кнопочных выключателей в кабинах, выпускают воздух из тормозной системы, а разобщительные краны у крана машиниста перекрывают, закрывают разобщительный кран воздухораспределителя и выпускают воздух из запасного резервуара; перекрывают резервуар токоприемника, предварительно зарядив его до давления напорной магистрали; из резервуаров-сборников выпускают конденсат; выключают рубильники на распределительном щитке. При уходе с электровоза запирают входные двери, а ключи от дверей вместе с реверсивной рукояткой и ключами КУ передают дежурному по депо.
