- •Очистка газа от механических примесей
- •Осушка газа абсорбцией
- •Осушка газа адсорбцией
- •Основные свойства адсорбентов, применяемых для осушки газа
- •Очистка газа от агрессивных примесей
- •Процессы химической абсорбции
- •Отбензинивание газа
- •Среднее содержание конденсирующихся углеводородов в попутном газе (г/м3 ст.Ус.)
- •Компрессорный метод
- •Низкотемпературный метод
- •Извлечение из газа ценных компонентов
Нефтеюганский корпоративный институт
Лекция
ПОДГОТОВКА ГАЗА
Общие сведения
Все попутные газы характеризуются повышенным (по сравнению с природными) содержанием тяжелых компонентов, относительная доля которых возрастает от начальных к конечным ступеням сепарации.
Существуют следующие пути утилизации углеводородных газов:
сжигание в факелах;
Использование для целей ППД, повышения конечного коэффициента нефтеизвлечения, доразработки нефтяных месторождений;
Создание подземных газовых хранилищ;
Откачка потребителям в качестве энергоносителя или технологического сырья.
Сжиганию в факелах в основном подвергается газ на начальных этапах разработки месторождений или при отсутствии потребителей, или, наконец, при отсутствии соответствующих трубопроводов и технологических мощностей по подготовке газа к транспортированию.
Подготовка углеводородного газа сводится к следующим нескольким процессам:
Очистка газа от механических примесей;
Осушка газа;
Очистка газа от агрессивных примесей;
Отбензинивание газа;
Одоризация газа;
Извлечение из газа особо ценных компонентов.
Очистка газа от механических примесей
Под механическими примесями в газе понимают аэрозольные системы с газовой дисперсионной средой и твёрдой дисперсной фазой.
В неподвижной газовой среде аэрозольные частицы поддерживаются во взвешенном состоянии в поле гравитации благодаря их собственному тепловому движению и в следствии обмена энергией с молекулами среды.
Кроме энергии теплового движения частиц, обмена энергией между частицами и средой и энергии, поступающей извне, аэрозольные частицы могут поддерживаться во взвешенном состоянии за счёт градиентов температуры и концентрации.
При этом, принято различать 5 видов механизма осаждения взвешенных частиц:
Гравитационный: движущиеся частицы (обычно 40 – 550 мкм) выпадают из газа благодаря силе тяжести.
Инерционный: частицы при обтекании некого тела (возможно с газовым потоком) за счет инерции отклоняются от общего потока и осаждаются на фронтальной поверхности обтекаемого тела.
Зацепление: частицы (обычно 1 – 3 мкм) при перемещении вместе с газовым потоком в относительной близости от обтекаемого тела приходят в соприкосновение с ним и прилипают к нему.
Диффузионный: частицы (обычно < 0,1 мкм) в результате броуновского движения попадают на поверхность обтекаемого тела и прилипают к нему.
Центробежный: частицы выводятся из вращающегося газового потока под действием центробежных сил.
Но даже если аэрозольная система состоит из частиц способных удержаться при данных термобарических параметрах во взвешенном состоянии данная система будет саморазрушаться, т.к. частицы способны самоукрупняться. Данный процесс носит название коагуляции. Так частицы < 0,1 мкм коагулируют практически мгновенно.
Размеры частиц в аэрозольных системах образующихся в природных и попутных газах характеризуются широким разнообразием. Диапазон размеров частиц колеблется от 0.01 до 1000 мкм и более.
Подобные частицы способны в следствии эррозии и загрязнения вывести из строя не только КИП и компрессоры, но даже трубопроводы и запорную арматуру.
Различают механические и электрические методы очистки газа от механических частиц.
Механические методы в свою очередь подразделяются на способы отстоя и фильтрования. Различают отстой в сухих и мокрых условиях.
Перейдём к рассмотрению этих методов:
В
методах сухого отстоя
наибольшее распространение получили
устройства в которых осаждение частиц
происходит в следствии резкого изменения
направления или скорости газового
потока. Это прежде всего различные
газовые сепараторы и циклоны. В них
улавливаются сравнительно крупные
частицы с размерами
5 мкм. Причём, эффективность циклонов
выше и для частиц с размерами 5 мкм
степень извлечения достигает 40 – 70 %, а
для частиц 20 мкм – 97 – 99 %. При этом,
газовые сепараторы используются
преимущественно 4 видов:
а) гравитационные – они наиболее просты, но в то же время наиболее металлоёмки и габаритны.
б) инерционные – в них под действием сил инерции поток посредством металлических отбойников разделяется на очищенный газ и частицы. Они более эффективны и компактны.
в) жалюзийные – снабжены наборами профилированных пластин.
г) центробежные сепараторы.
Мокрые методы отстоя основаны на контакте газового потока с промывной жидкостью (обычно водой или маслом) в аппаратах получивших название скруббера или масляного фильтра (особо эффективен так называемый скруббер Вентури). Во всех этих аппаратах жидкость используется многократно и обеспечивает остаточное содержание механических примесей до 10 мг/ м3 газа. В нефтяной промышленности наибольшее распространение получили масляные пылеуловители (рис.1):
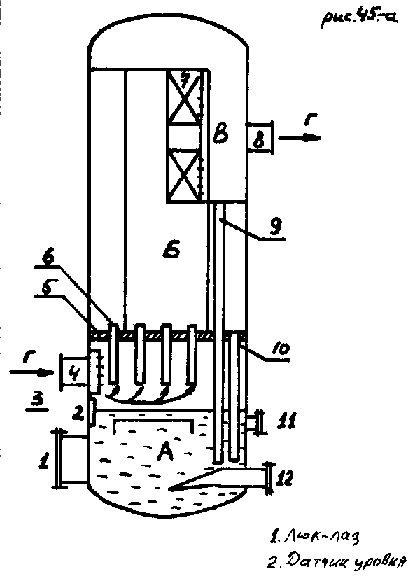
Рис.1. Схема масляного пылеуловителя
Масляный пылеуловитель состоит из 3 секций: в нижней промывочной секции А в разделительную перегородку (5) вварены контактные трубки (6), на которых в нижней части имеется ряд продольных прорезей. Газ поступает в аппарат через патрубок 4, ударяется о козырёк (3), соприкасается с маслом и захватывая его, проходит с большой скоростью в контактные трубки. В средней (осадительной) секции Б скорость газа резко понижается, при этом, крупные капли масла с механическими частицами оседают и стекают по дренажным трубкам (10) вниз. Освобождённый от крупных механических примесей газ поступает в верхнюю каплеуловительную секцию В, где мелкие частицы пыли и масла (размером менее 0,25 мм) задерживаются специальной насадкой и тоже стекают вниз по дренажу (9). Очищенный газ уходит через патрубок (8). Загрязненное масло через патрубок (12) удаляют продувкой в отстойник, а затем по трубе (11) доливают очищенное масло. Продувку проводят по мере снижения уровня масла до контрольного уровня, но не реже 1 раза в месяц. Полностью удаляют масло через люк (1) 2 – 3 раза в год. Уровень масла контролируют по шкале 2. Расход масла не более 25 г на 1000 м3 газа. Масляные пылеуловители выпускают диаметром от 400 до 2400 мм; высотой от 5100 до 8800 мм на рабочее давление от 6 до 64 атм.
Очистка газа фильтрованием основана на прохождении газа через пористые перегородки, пропускающие газ, но задерживающие механические примеси. Метод высокоэффективен, т.к. способен уловить даже весьма тонкие фракции примесей с размерами частиц менее 1 мкм.
Различают следующие виды фильтров:
а) Рукавные. Они обеспечивают остаточное содержание примесей менее 10 мг/м3 газа. Аппарат состоит из камеры и подвешенных в ней рукавов (с диаметром от 100 до 300 мм и длиной от 2 до 10 м) с заглушенным концом. Газ подаётся в рукава в которых и задерживается пыль. Пыль периодически удаляется либо обратной продувкой, либо встряхиванием. Фильтр состоит из нескольких секций, работающих попеременно. Рукава делают из тканевых и нетканных (войлок, фетр) материалов. Срок службы рукавов до 2 лет.
б) Зернистые. Различают так называемые насыпные и жесткие конструкции. Насыпные состоят из слоя песка, гальки, шлака или кокса с размерами зёрен 0,2 – 0,3 мм, толщиной слоя 0,1 – 0,15 м. Они обеспечивают остаточное содержание механических примесей в газе порядка 20 мг/м3. Регенерируют их ворошением с вибровоздействием и обратной продувкой. Жесткие представляют собой патроны из керамики или металлокерамики. Они способны обеспечить остаточное содержание механических примесей в газе менее 1 мг/м3. Регенерируются подобные конструкции обратной продувкой или с помощью промывных жидкостей.
в) Для улавливания высокодисперсных аэрозолей с суммарной концентрацией от 0,5 до 5 мг/м3 используют волокнистые фильтры с перегородками из тонких и ультратонких волокон, как правило, с диаметром волокон 1 – 2 мкм, нанесённых на марлевую подложку. И хотя подобные конструкции не подлежат регенерации, они способны обеспечить 100 % очистку газа.
г) Для высокодисперсных систем, состоящих из капель и туманов, с диаметрами частиц свыше 10 мкм, применяют сетчатые фильтры – каплеуловители с пакетами из мелкоячеистых сеток. При скорости газового потока порядка 2 м/с пакет толщиной всего 0,1 м способен обеспечить 98 % -ую степень очистки газа с гидравлическими потерями всего 0,2 кПа. Для более дисперсных систем используют перегородки из стеклянных, синтетических или металлических волокон с диаметром 100 – 200 мкм для частиц крупнее 1 мкм, и диаметром 5 – 20 мкм для улавливания субмикронных частиц. В этом случае, степень очистки газа колеблется от 85 до 100 % при гидравлическом сопротивлении перегородок от 1 до 5 кПа. Все фильтры, улавливающие капли и туманы, работают в стационарном режиме саморегуляции благодаря самопроизвольному стеканию жидкости в результате коалесценции или её испарения.
Электрическая очистка газа основана на ионизации электрическим зарядом под действием постоянного тока напряжением до 90 кВ твёрдых и жидких частиц с последующим их осаждением на электродах в сухих или мокрых фильтрах, обеспечивающих остаточное содержание механических примесей 50 и 5 мг/м3 соответ-но.
Сравнительная характеристика всех рассмотренных выше методов представлена на рис.2.
Рис.2. Сравнительная характеристика методов очистки газа от механических примесей
Осушка газа
Осушка газа производится для предотвращения образования жидкостных, ледяных и кристаллогидратных пробок в трубопроводах, улучшения условий работы компрессорного оборудования и понижения коррозионной активности газа.
Различают абсолютную и относительную влажность газа. Под абсолютной влажностью понимают массовое содержание воды в определённом объёме газа (обычно кг/1000 м3 при н.у.). Под относительной влажностью газа понимается отношение фактического содержания влаги в газе к максимально возможному при данных термодинамических условиях.
С понижением давления и повышением температуры максимальное содержание водяных паров в газе возрастает. Температура, при которой газ становится полностью насыщенным водяными парами, при данном содержании влаги в газе, называется температурой точки росы газа по воде при данном давлении. При этом, под газом, насыщенном водяными парами, понимают газ с относительной влажностью равной единице.
Известно несколько способов осушки газа:
Вымораживанием;
С помощью абсорбции;
С помощью адсорбции.
Метод осушки газа вымораживанием основан на изменении влажности газа в зависимости от его температуры. Если газ охладить, то часть влаги, находящейся в нём в паровой фазе, сконденсируется. Выпавший конденсат можно удалить. Необходимая степень осушки газа вымораживанием достигается в том случае, если газ удаётся охладить ниже минимальной температуры, наблюдаемой при его дальнейшем транспортировании, подготовке и утилизации.
Различают вымораживание с помощью естественного и искусственного холода.
Вымораживание с помощью естественного холода возможно только в зимний период, да и то, как правило, лишь в северных районах. Процесс естественного охлаждения сводится к пропусканию газа через батарею труб с необходимой поверхностью теплообмена. При движении газа по трубам он охлаждается, влага конденсируется и кристаллизуется на внутренних стенках труб.
Вымораживание с помощью искусственного холода применяется гораздо чаще и основывается на применении холодильных машин, дросселировании и использовании винтовых детандеров.
Сущность эффекта дросселирования основана на эффекте Джоуля – Томпсона, согласно которого, любое снижение давления газа на 1 атмосферу в специальном устройстве (дросселе – представляющим собой специфическую диафрагму) вызывает понижение температуры газа от 0,15 до 0.25 0С. Охладить подобным образом газ до температур, предусмотренных нормативными документами, возможно только в том случае, если он имеет высокое давление, намного превышающее давление первой ступени сепарации.
Сущность метода вымораживания с использованием детандеров сводится к расширению газа с отдачей внешней работы. В этом случае, детандер – это аппарат (чаще всего винтовой или турбинный компрессор), способный обеспечить подобное расширение. Для выполнения внешней работы вал детандера жестко связывают с любым необходимым устройством. Преимущество подобного метода охлаждения неоспоримо. Т.к. позволяет охлаждать газ на 12 – 20 0С на каждую 1 атм. сбрасываемого давления, что делает возможным обработку практически любого попутного или природного газа.
