Лекция 16
Лекция № 16 исполнительные механизмы и регулирующие органы
Совокупность исполнительного механизма и регулирующего органа называется исполнительным устройством. Исполнительный механизм преобразует выходной сигнал регулятора в перемещение регулирующего органа. От правильного выбора и расчета исполнительного устройства зависит качество работы системы регулирования.
По виду используемой энергии исполнительные механизмы делятся.
-
Исполнительный механизм
Пневматические
Гидравлические
Электрические
Мембранные
Поршневые
Сильфонные
Мембранные
Поршневые
Лопастные
С гидромуфтой
Электродвигательные
Электромагнитные
Пружинные
Беспружинные
Прямоходные
(поступательное)
Однооборотные
(угол поворота 270-300)
Многооборотные
(угол поворота > 360)
Исполнительный механизм состоит из собственно исполнительного механизма и узла кинематической передачи. Усилие выходных элементов исполнительного механизма определяется из приведенного усилия, развиваемого самим механизмом с учетом передаточного числа и коэффициента полезного действия узла кинематической передачи.
В пневматических механизмах передаточное усилие создается за счет давления сжатого воздуха (до 1МПа).
В гидравлических механизмах передаточное усилие создается за счет давления рабочей жидкости (2,5-20 МПа).
В пружинных механизмах перестановочное усилие в одном направлении создается давлением рабочей среды, а в обратном – упругим элементом (пружиной).
В безпружинных ИМ – перестановочное усилие создается перепадом давлений на рабочем органе.
Требования, предъявляемые к ИМ.
ИМ должен обеспечивать необходимую скорость регулирования.
ИМ должен иметь минимальное время трогания и минимальное время отключения.
ИМ должен быть достаточно чувствителен к командным сигналам.
ИМ должен иметь минимальный выбег выходного элемента.
ИМ должен иметь линейную ходовую характеристику, т.е. постоянство мощности во всем диапазоне изменения регулируемой величины.
ИМ должен сохранять равенство между перемещением выходного элемента и рабочим ходом штока затвора регулирующего органа.
Помимо этих преобразователей необходимо учитывать вид энергии регулятора и энергии создающей перестановочное усилие должны быть идентичны.
ИМ должен выбираться в соответствии с категоричностью помещения и иметь соответствующее исполнение. Необходимо учитывать габариты и массу ИМ.
Конструкция ИМ должна содержать дополнительные устройства:
Ручной привод.
Указатель положения выходного элемента.
Устройство подрегулирования начального и конечного положения выходного элемента.
Пневматические Исполнительные Механизмы
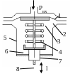
Мембранно-пружинный (МИМ)
П
редставляет
собой преобразователь давления сжатого
воздуха в пропорциональное ему перемещение
выходного штока. Величина перемещения
зависит от конструкции: l
= 6 – 100 мм.
1 – крышка корпуса;
2 – мембрана;
3 – опорный диск;
4 - пружина;
1
6 – опорная чашка;
7 –чашка;
8 – шток.
Мембрана резиново-тканевая, герметично заделанная между крышками.
В зависимости от той плоскости, в которую подается давление РВХ, ИМ может быть либо прямого, либо обратного действия. В механизме прямого действия при повышении давления в рабочей плоскости место сочленения выходного штока с регулирующем органом отделяется от места заделки мембраны.
Статическая характеристика должна быть линейной: l*c = FЭФ * Р, где l - перемещение штока; с – жесткость пружины; FЭФ – эффективная площадь (та часть площади, которая воспринимает командный сигнал).
Д
ля
уменьшения нелинейности из-за изменения
эффективной площади (мембрана
растягивается) устанавливается опорный
диск, который ограничивает перемещение
мембраны и изменяется профиль мембраны
(б):
Для варианта б: FЭФ = /12 (D2 + Dd + d2), где D – диаметр мембраны = (125 – 500)мм, d - диаметр опорного диска.
Из-за непостоянства жесткости пружины (гистерезиса пружины) и из-за наличия усилий трения в сальнике регулирующего органа возникает гистерезис.
С
огласно
паспортным данным на клапан величина
гистерезиса
на должна превышать 2 % от полного хода
штока.
Чтобы уменьшить погрешность (примерно до 1,5%) перемещения регулирующего орган используются позиционеры, при этом также увеличивается быстродействие.
Поршневой
Применяется, если требуется большой ход выходного элемента (до 500мм) и большое перестановочное усилие (до 5000 Н).
