Классификация бланков документов
ГОСТ Р 6.30-2003 "Унифицированные системы документации. Унифицированная система организационно-распорядительной документации. Требования к оформлению документов" классифицирует бланки организационно-распорядительных документов по следующим признакам:
расположению реквизитов;
по автору документа;
виду документа
В зависимости от расположения реквизитов устанавливают два варианта бланков:1
угловой;
продольный.
В зависимости от автора документа бланки документов подразделяются на:2
бланк организации;
бланк структурного подразделения;
бланк должностного лица.
В зависимости от вида документа бланки подразделяются на:3
общий бланк;
бланк письма;
бланк конкретного вида документа (кроме письма).
Рис. 1. Классификация бланков документов
Каждый бланк сочетает три признака классификации. Например, бланк письма генерального директора с угловым расположением реквизитов (рисунок 2), бланк акта (для организации в целом) с угловым расположением реквизитов (рисунок 3).
Рис. 2. Бланк письма генерального директора с угловым расположением реквизитов
Рис. 3. Бланк акта с угловым расположением реквизитов
_____ 1 ГОСТ Р 6.30-2003. Унифицированные системы документации. Унифицированная система организационно-распорядительной документации. Требования к оформлению документов. – Введ. 2003-07-01. – М.: Госстандарт России: Изд-во стандартов, 2003. – Пункт 4.4. 2 Там же. – Пункт 4.6. 3 Там же. – Пункт 4.6.
При изготовлении бланка организационно-распорядительного документа необходимо определить:
какие документы будут создаваться на этом бланке (все (кроме писем) или какой-нибудь конкретный вид документа);
кто будет является автором документа, создаваемого на этом бланке;
как будут располагаться реквизиты на бланке.
Общий бланк
Общий бланк используют для изготовления любых видов документов, кроме письма.1
Общий бланк в зависимости от учредительных документов организации включает в себя реквизиты:
01 - Государственный герб Российской Федерации (02 - герб субъекта Российской Федерации или 03 - эмблема организации или товарный знак (знак обслуживания)); 08 - наименование организации; 14 - место составления или издания документа.2
Примечание: в пункте 4.7 ГОСТа Р 6.30-2003 допущена ошибка: реквизит "Дата документа" ошибочно назван в числе реквизитов общего бланка, в то время как на бланке обозначаются лишь отметки для проставления даты. Также на общем бланке необходимо ставить ограничительные отметки для реквизита "Регистрационный номер документа".
Общий бланк организационно-распорядительного документа может изготавливаться на основе продольного или углового расположения реквизитов.3
Рис. 1. Расположение реквизитов (угловой вариант) общего бланка (размеры указаны в миллиметрах) 01 - Государственный герб Российской Федерации; 02 - герб субъекта Российской Федерации; 03 - эмблема организации или товарный знак (знак обслуживания); 08 - наименование организации; 11 - дата документа; 12 - регистрационный номер документа; 14 - место составления или издания документа
Рис. 2. Расположение реквизитов (продольный вариант) общего бланка (размеры указаны в миллиметрах) 01 - Государственный герб Российской Федерации; 02 - герб субъекта Российской Федерации; 03 - эмблема организации или товарный знак (знак обслуживания); 08 - наименование организации; 11 - дата документа; 12 - регистрационный номер документа; 14 - место составления или издания документа
Общий бланк организационно-распорядительного документа может изготавливаться для организации, структурного подразделения и должностного лица.4
Бланк письма
Бланк письма в зависимости от учредительных документов организации включает в себя реквизиты:1
01 - Государственный герб Российской Федерации (02 - герб субъекта Российской Федерации или 03 - эмблема организации или товарный знак (знак обслуживания)); 04 - код организации; 05 - основной государственный регистрационный номер (ОГРН) юридического лица; 06 - идентификационный номер налогоплательщика/код причины постановки на учет (ИНН/КПП); 08 - наименование организации"; 09 - справочные данные об организации, а также ограничительные отметки для реквизитов: 11 - дата документа; 12 - регистрационный номер документа; 13 - ссылка на регистрационный номер и дату документа. И, при необходимости, ограничительные отметки для верхних границ зон расположения реквизитов.2 15 – адресат; 18 - заголовок к тексту; 19 - отметка о контроле; 20 - текст документа.
Бланк письма может изготавливаться на основе продольного или углового расположения реквизитов.3
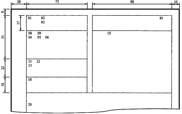
Рис. 1. Расположение реквизитов (угловой вариант) бланка письма (размеры указаны в миллиметрах) 01 - Государственный герб Российской Федерации; 02 - герб субъекта Российской Федерации; 03 - эмблема организации или товарный знак (знак обслуживания); 04 - код организации; 05 - основной государственный регистрационный номер (ОГРН) юридического лица; 06 - идентификационный номер налогоплательщика/код причины постановки на учет (ИНН/КПП); 08 - наименование организации; 09 - справочные данные об организации; 11 - дата документа; 12 - регистрационный номер документа; 13 - ссылка на регистрационный номер и дату документа; 15 - адресат; 18 - заголовок к тексту; 19 - отметка о контроле; 20 - текст документа
Рис. 2. Расположение реквизитов (продольный вариант) бланка письма (размеры указаны в миллиметрах) 01 - Государственный герб Российской Федерации; 02 - герб субъекта Российской Федерации; 03 - эмблема организации или товарный знак (знак обслуживания); 04 - код организации; 05 - основной государственный регистрационный номер (ОГРН) юридического лица; 06 - идентификационный номер налогоплательщика/код причины постановки на учет (ИНН/КПП); 08 - наименование организации; 09 - справочные данные об организации; 11 - дата документа; 12 - регистрационный номер документа; 13 - ссылка на регистрационный номер и дату документа; 15 - адресат; 18 - заголовок к тексту; 19 - отметка о контроле; 20 - текст документа
Наиболее удобным для обработки и экономичным с точки зрения использования площади листа является угловой бланк. В этом случае правая сторона верхней части листа может быть использована для размещения реквизитов "Адресат", "Резолюция".4
Использование продольного бланка письма целесообразно в случаях, когда наименование организации содержит большое количество печатных знаков, например, может быть в случае, когда реквизиты бланка даются на двух и более языках. При этом слева следует печатать реквизиты на русском языке, а справа - на национальном, на одном уровне. Если количество используемых национальных языков более одного, сверху следует указывать реквизиты на русском, а ниже - на национальном языке, продлевая строку до границы правого поля.5
Возможно создание бланка на двух языках, если организация ведет переписку с иностранными корреспондентами. В таких бланках все реквизиты письма повторяются дважды: на русском и иностранном языке, при этом не допускается искажение наименования организации, ее организационно-правовой формы, адреса и справочных данных. Например, название организации "Международная книга" в таком бланке будет выглядеть как "Mezhdunarodnaia kniga", а не "International book".6
Бланк письма может изготавливаться для организации, структурного подразделения и должностного лица.7
