- •§ 1. Задача определения весо-геометрических параметров компоновки. 3
- •Список литературы
- •Введение
- •Задача определения весо-геометрических параметров компоновки.
- •Задача определения баллистических характеристик.
- •§ 1. Задача определения весо-геометрических параметров компоновки.
- •§2. Задача определения аэродинамических характеристик ракеты.
- •§3. Задача определения баллистических характеристик
МОСКОВСКИЙ АВИАЦИОННЫЙ ИНСТИТУТ |
Курсовая работа |
Решение задачи формирования облика ракеты класса “воздух-воздух” на этапе предварительного проектирования |
|
Выполнил: Бажанов Р. Т., гр. 7В-501С |
Проверил: Правидло М. Н. |
|
МОСКВА, 2017 год |
Оглавление
МОСКОВСКИЙ АВИАЦИОННЫЙ ИНСТИТУТ 0
Решение задачи формирования облика ракеты класса “воздух-воздух” на этапе предварительного проектирования 0
Выполнил: Бажанов Р. Т., гр. 7В-501С 0
Проверил: Правидло М. Н. 0
МОСКВА, 2017 год 0
Список литературы 2
Введение 3
§ 1. Задача определения весо-геометрических параметров компоновки. 3
§2. Задача определения аэродинамических характеристик ракеты. 9
§3. Задача определения баллистических характеристик 18
Список литературы 2
Введение 3
§ 1. Задача определения весо-геометрических параметров компоновки. 3
§2. Задача определения аэродинамических характеристик ракеты. 8
1. Коэффициент подъемной силы ракеты. 10
2. Балансировка ракеты. 12
§3. Задача определения баллистических характеристик 17
Список литературы
Рейдель А.Л., Соколовский Г.А. Л етно-тактические характеристики ракет класса "воздух-воздух" и их связь с эффективностью авиационного боевого комплекса. М.: МАИ,1993.
Рейдель А.Л., Соколовский Г.А. Аэробаллистйческие характеристики управляемых ракет кдасса "воздух-воздух". М.: МАИ, 1995,
Лебедев А.А.,Чернобровхин Л.С. Динамика полета беспилотных летательных аппаратов. М.: Оборонгиз, 1962 (второе издание М.: Машиностроение, 1973).
Афонин П.Б., Голубев И.С, Колотков Н.И., Монучаров В.А., Новиков В.Н., Хмелевский Г.В., Чернобровкин Л.С, Чураков В.Н. Беспилотные летательные аппараты. М.: Машиностроение, 1967.
Введение
В настоящей курсовой работе решена задача формирования облика ракеты. Под обликом, здесь, как обычно понимается совокупность концепции, параметров и управлений (функций времени).
В процессе формирования облика ракеты фиксированной концепции проектировщик должен установить связь между в весо-геометрическими параметрами ракеты и ее аэробаллистическими характеристиками. К числу основных характеристик относятся: коэффициенты аэродинамических сил и моментов, балансировка, располагаемая перегрузка ракеты, ее энерговооруженность и баллистический коэффициент.
В настоящей курсовой работе задача формирования облика ракеты (ФОР 'а) рассматривается как задача технического премирования по заданным ТТЗ [1].
Таким образом, для решения задачи ФОР 'а требуется наличие надежных методик весо-геометрических, аэродинамических и баллистических расчетов. Используемая в настоящей курсовой работе методика аэродинамического расчета основывается на работах проф. Л.С Чернобровкина [3,4]. Вместе с тем, в пособии используется накопленный автором опыт проектирования ракет класса "воздух-воздух" различных типов, в том числе и автоматизированного [1].
Этап формирования облика ракеты является важной составной частью процесса проектирования. К числу основных задач, решаемых на этом этапе относятся:
Задача определения весо-геометрических параметров компоновки.
Задача определения основных аэродинамических характеристик ракеты.
Задача определения баллистических характеристик.
Ниже приводится методика решения указанных задач. В целях упрощения рассмотрение ограничено формированием облика ракеты типа РСД, выполненной по нормальной аэродинамической схеме, причем аэродинамические характеристики ракеты определяются в линейном приближении.
Пособие предназначено для решения задач ФОР 'а в курсовом и дипломном проектах.
§ 1. Задача определения весо-геометрических параметров компоновки.
Рассмотрим задачу определения весо-геометрических параметров компоновки, ракеты фиксированного стартового веса – Go. К числу основных геометрических параметров, определяемых на этапе формирования облика ракеты (этап ФОР 'а), относятся:
Геометрические параметры корпуса ракеты: диаметр - D, длина- L, положение центра тяжести (начальное, конечное), форма и удлинение носовой части - λ нос.
Геометрические параметры несущих (крыло) и управляющих (руль) поверхностей (размеры, положение и форма). Задача определения указанных параметров в полной постановке является многопараметрической. Однако на этапе ФОРа эта задача может быть усечена. Рассмотрим основные соображения, используемые при ее усечении.
Положение руля на корпусе ракеты. Положение руля выбирается из условия обеспечения максимально возможного плеча рулей относительно центра тяжести ракеты. Для этого руль располагается в хвостовой части ракеты таким образом, чтобы его задняя кромка совпадала с донным срезом.
Положение крыла на корпусе ракеты. Положение крыла выбирается из конструктивно-технологических соображений. Важно, чтобы крыло крепилось на одном отсеке. В качестве такого отсека обычно используется корпус двигателя.
Размах крыла. Особенность сопряжения ракеты с самолетом-носителем накладывает жесткие требования на ее поперечный габарит. Если крыло в транспортном положении не складывается, что обычно для компоновок современных ракет, то приходится ограничивать размах крыльев. Если £ и £к - соответственно полный размах и размах консолей (размах изолированного крыла, составленного из двух консолей), а величина - а - сторона описанного по крылу квадрата (см. рис.1.1,а), то имеет место соотношение
£ = £к +D =√2-а (1.1)
В современных РСД величина "а" обычно ограничивается значением (0,3 ÷ 0,35) м., что соответствует размаху крыльев £ ≈ (0,425÷0,5) м. и приводит к необходимости использования крыльев сверхмалого удлинения.
-
а)
б)
Рис. 1.1
Размах
рулей. Требование
отсутствия складывания в отношении
рулей обычно не ставится, что позволяет
использовать рули с увеличенным
размахом. Это увеличение размаха зависит
от схемы складывания. Если складываемые
части верхних и нижних рулей (см.
рис.1.1,6) складываются навстречу друг
другу и не выходят за пределы
описанного по крылу квадрата, то очевидно
т.е. размах руля по сравнению с крылом увеличивается в раза, что полезно с точки зрения увеличения удлинения руля.
Форма крыльев и рулей в плане. На рассматриваемом этапе задача подробного выбора формы оперения (сужение, стреловидность) обычно не ставится. В целях упрощения дальнейшего исследования ограничимся рассмотрением крыльев и рулей прямоугольной формы (η=1). Отметим, что в реальных конструкциях такого оперения обычно вводят небольшую стреловидность по обеим кромкам
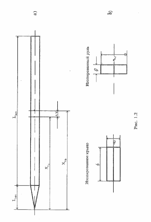
Перейдем теперь непосредственно к определению геометрии компоновки для ракеты со стартовым весом Go=170 кг (см.рис.1.2).
Диаметр (калибр) корпуса ракеты. На основе имеющегося опыта проектирования ракет рассматриваемого класса диаметр корпуса может быть определен по следующей зависимости [1]
(1.3)
где а = 0,1м, b=5,3- 10-4 м/кг. Из (1.3) получим, с учетом округления дот стандартизованных значений калибра D= 0,2 м.
Длина корпуса ракеты. Выбор калибра ракеты заданного стартового веса однозначно определяет и длину корпуса ракеты. Пусть полная длина ракеты есть
(1.4)
где Lнос - длина носовой части, Lнос - длина цилиндрической части ракеты. Величина Lнос в существенной степени зависит от типа головки самонаведения (ГСН), используемой на ракете. Так для радиолокационных головок самонаведения оптимальное значение удлинения носовой части с параболическими обводами
λ нос = Lнос / D
составляет ~ 2,5 , для тепловых головок самонаведения это значение может снижаться до 0,5 (полусфера). В дальнейшем ограничимся рассмотрением ракеты с радиолокационной ГСН и примем λнос = 2,5. Полагая далее, что вес ракеты Go равномерно распределен по цилиндрической части корпуса (носовая часть корпуса, крылья и оперение весят мало) получим
(1.5)
где: γр[кг/м3]- средняя плотность цилиндрической части ракеты [1], Sм=π D2\4- площадь миделевого сечения корпуса.
Отсюда для G0 = 170 кг; SM = 0,0314 м2; γр=1,75-103кг/м3 найдем Lцил = 3,1 м. С учетом длины носовой части Lнoc=2,5∙0,2 = 0,5м. полная длина ракеты составит 3,6 м.
Начальное положение центра тяжести ракеты Xт0 – есть расстояние от носка ракеты до ее центра тяжести в стартовом состоянии. Очевидно,
Xт0 =Lнос+Lцил /2 (1.6)
С учетом Lнос= 0,5 ; Lцил = 3,1 получим Хт0=2,05 м.
Конечное положение центра тяжести ракеты Хт1 Процесс горения стартового заряда сопровождается смещением центра тяжести вперед к носку корпуса. При полном выгорании топлива величина смещения ∆Х = Xт0 - X определяется выражением (см.рис. 1.2,а)
(1.7)
где: GT, XT3 - вес и координата центра тяжести порохового заряда, G1 = Ст0 - GT - конечный вес ракеты. На основании (1.7) при GT = 60 кг, G1 =110 кг, Xт3 = 2,4 м получим ∆Х=0,2м, ХТ1 = ХТ0- ∆Х = 1,85 м.
Геометрия оперения ракеты. Будем рассматривать компоновку ракеты с крылом сверхмалого удлинения и складываемыми рулями.
Геометрия крыла. Выше было показано, что допустимый размах крыла определяется величиной стороны описанного квадрата - а. Примем а = 0,35 м. Тогда при D =0,2 м получим величину размаха консоли крыла
Поскольку геометрические параметры консоли крыла (площадь, размах, удлинение) связаны известной зависимостью
(
1.8 )
а величина размаха консоли фиксирована £к= 0,3 м, из (1.8) получим связь между площадью консоли крыла – Sкр и удлинением консоли крыла
(1.9)
Для дальнейшего удобно оперировать относительными параметрами. Будем далее относить линейные размеры к длине корпуса L=3,6м и площади миделевого сечения Sм = 0,0314м2. Тогда из (1,9) получим
(1.10)
Зависимость Sкр(λк) приведена на рис.1.3,а. Как видим при SKp = б удлинение консоли крыла не должно превышать λк = 0,5.
Геометрия руля. По аналогии с (1.10) имеем
(1.10)
Здесь λк - удлинение консоли руля. Зависимость Sр ( λк) приведена на рис.1,3,б. Как видим, при Sv=4 допустимое удлинение консоли руля составляет λк = 3,5. Таким образом, допустимые по условиям ограничения по размаху удлинения крыла и руля имеют различные значения. В частности, удлинение консоли руля благодаря складыванию примерно в семь раз превосходит удлинение консоли крыла. Численные значения величин Sкр и Sp определяются ниже в §2 по данным расчета аэродинамических характеристик ракеты (располагаемая перегрузка ракеты и величина балансировки в контрольных режимах) из условия совпадения этих характеристик с требованиями ТТЗ.
