- •Лекция 9. Ілініс
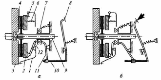
- •Сурет 6. Ваз жеңіл автомобилінің ілінісінің жетегі:
- •Сурет 10. КамАз жүк автомобилінің ілініс жетегінің бас цилиндрі:
- •Тығын; 2- серіппе; 3- тұрық; 4- манжета; 5- поршень; 6- шток; 7- жабу; а және б- қуыстар; в- тесік
- •Сурет 11. КамАз жүк автомобилінің ілініс жетегінің ауалы күшейткіші
- •Лекция 10. Берілістер қорабы
- •Сурет1. Берілістер қорабының түрлері
- •Сурет 2. Сатылы берілістер қорабының түрлері
- •Картер; 2,3,8- иіндер; 4- шток; 5- топса; 6- тартпа; 7- жабу; 9- иін шеті; 10- шарлы тірек
- •2,3,6,7,8,9,10- Шестернялар; 4- екінші білік; 5- аралық білік
- •Сурет 9. КамАз жүк автомобилінің беріліс қорабы:
- •Сурет 11. Гидротрансформатор:
- •Сурет 12. Планетарлы механизм
- •Сурет 13. Жеңіл автомобильдің гидромеханикалық беріліс қорабы:
Лекция 9. Ілініс
Ілішіс айналдыру моментін үйкеліс күшімен, динамикалық күштермен немесе электромагниттік полемен беруді жүзеге асыратын күш муфтасы. Тиісінше ондай муфталар фрикционды, гидравликалық және электромагнитті деп аталады.
Ілініс қозғалтқышты трансмиссиядан уақытша ажыратуға және олардв жайлы қосуға арналған. Қоғалтқышты трансмиссиядан уақытша ажырату берілістерді ауыстыруда, тежеуде және тоқтауда, ал жайлы қосу берілісті ауыстырғаннан кейін және көліктің орнынан қозғалғанында қажет.
Көлік қөзғалысында ілініс қосылған жағдайында қозғалтқыштан берілістер қорабына айналдыру моментін береді және трансмиссия механизмдерін пайда болған динамикалық күштеулерден сақтайды, мысалы кенеттен (апаттық) тежеуде, іліністі күрт қосқанда, қозғалтқыштың бір қалыпты жұмыс орындамағанында, иінді біліктің айналыс жиілігінің күрт өзгергенінде, доңғалақтың жолдың тегіс емес бөлігімен жүргенде және т.б.ж..
Автомобильдерде іліністің әр түрлері қолданылады (сурет 1). Цетрден тепкіш іліністерден басқалары тұрақты байланыста болады, яғни тұрақты қосылған болады; оларды жүргізуші берілісті ауыстырғанда,тежегенде және ауыстырғанда ажыратады.
Сурет 1. Ілініс түрлері
Автомобильдерде фрикциялы іліністер көп қолданыс тапты.
Бірдискілі іліністер жеңіл автомобильдерде, автобустарда, кіші және орташа жүк көтергішті автомобильдерде, ал кейбір жағдайларда үлкен жүк көтергішті автомобильдерде қолданылады. Екі дискілі іліністер үлкен жүк көтергішті және үлкен сыйымдылықты автобустарда орнатылады. Көп дискілі іліністер сирек тек ауыр жүк көтергішті автомобильдерде қолданылады.
Гидравликалық іліністер қазіргі автомобильдерде жеке механизм ретінде қолданылмайды. Бұрынырақ автомобильдер трансмиссисында фрикциялы ілініспен тізбекті қолданылды.
Электромагнитті іліністер құрылымының күрделілігіне байланысты, тек жеке автомобильдерде қолданылды.
Фрикционды іліністе айналдыру моменті құрғақ үйеліс күшімен беріледі.
Қазіргі автомобильдерде айналдыру моментін беру үшін бір жетектелуші дискісі бар бірдискілі құрғақ ілініс кеңінен тараған.
Бірдискілі іліністер жетектеуші және жетектелуші бөлшектерден, сонымен қатар іліністі қосып ажырату бөлшектерінен құралады. Жетектеуші бөлшектерге қозғалтқыш сермері 3, қаптама 1 және қысымдау дискісі 2, ал жетектелуші бөлшектерге жетектелуші диск 4, қосу бөлшектеріне серіппе 6, ажырату бөлшектеріне иіндер 12 подшипниті 7 муфта жатады (сурет 2.).
Сурет 2. Бірдискілі фрикционды ілініс
а- қосылған; б- ажыратылған; 1- қаптама; 2- қысымдау дискісі; 3- маховик; 4- жетектелуші диск; 5- пластина; 6- серіппе; 7- подшипник; 8- басқыш; 9- білік; 10- тартпа; 11- айыр; 12- иін
Қаптама 1 болттармен сермерге бекітілген. Қысымдау дискісі 2 серпімділі пластиналармен 5 қаптамамен жалғастырылған. Бұл айналдыру моментін қаптамадан қысымдау дискісіне беруді және ілініс қосылып, ажыратылғанда қысымдау дискісінің осьтік жылжуын қамтамасыздандырады. Жетектелуші диск 4 берілістер қорабының шлицалы бірінші (жетектеуші) білігінде орналастырылған.
Ілініс жетегіне басқыш 8, тартпа 10, айыр 11 және қысымдау подшипнигімен 7 муфта кіреді.
Басқыш 8 жіберілгенде, ілініс қосылған жағдайда болады, өйткені жетектелуші диск 4 сермерге 3 серіппе 6 күштерімен қысымдау дискісімен 2 қысылады. Ілініс айналдыру моментін жетектеуші бөлшектерден жетектелуші бөлшектерге жетектелуші дискінің, сермер және қысымдау дискісінің үйкеліс беті арқылы беріледі. Басқышты 8 басқанда (сурет 2,б) ілініс ажыратылады, яғни муфта қысымдау подшипнигімен 7 маховикке қарай жылжып иіндерді 12 бұрады, олар өз кезегінде қысымдау дискісін 2 жетектелуші дискіден 4 ажыратады. Бұл жағдайда іліністің жетектеуші және жетектелуші бөлшектері ажыратылып, ілініс айналдыру моментін бермейді.
Бірдискілі іліністер құрылымы бойынша қарапайым, дайындауы арзан, жұмыста сенімді, үйкелетін беттерден жылуды алып кетуді жақсы қамтамасыздандырады, таза ажыратылып жайлы қосылады, қызмет көрсету мен жөндеуде және пайдалануда ыңғайлы.
Іліністің жетектеуші және жетектелуші бөлшектерін қысу қысымдау дискісінің шетінде бірдей аралықта орналасқан бірнеше серіппелермен немесе қысымдау дискісінің центірінде орналасқан бір диафрагмалық немесе конусты серіппелермен жүзеге асыруға болады.
Фрикциялы іліністің жетегі механикалық, гидравликалық немесе электромагнитті болуы мүмкін. Автомобильдерде механикалық және гидравликалық жетек түрлерін қолданған тиімді.
Іліністің механикалық жетегі құрылымы бойынша қарапайым және жұмыста сенімді, бірақ гидравликалық жетекке қарағанда ПӘК- і кіші.
Гидравликалық жетек іліністің жайлы қосылуын қамтамысыздандырады және іліністі ажыратуға қажетті күшті азайтады, бірақ құрылымы мен қызмет көрсету күрделі, жұмыста сенімсіз, дайындауда және пайдалануда үлкен шығындарды қажет етеді.
Іліністі басқаруды жеңілдету үшін жетекте келесі күшейткіштер жиі қолданылады: сервосеріппе түріндегі механикалық, ауалы және вакуумды. Сервосеріппелер іліністі ажыратуға қажетті максималды күшті (20...40) %- ға төмендетеді.
Фрикциялы бірдискілі шетті (перифериялы) серіппелі іліністер жеңіл, жүк автомобильдерінде және автобустарда кеңінен қолданылады. ЗИЛ жүк автомобильдерінде қолданылатын іліністің құрылысын және жұмысын қарастырайық (сурет 3.).
Ілініс қозғалтқышқа бекітілген шойын картерде 7 орналасқан. Қозғалтқыштың сермеріне 1 іліністің болат штампталған қаптамасы 13 жалғастырылған. Шойын қысымдау дискісі 12 қаптамамен, одан қысымдау дискісіне айналдыру моментін беретін пластиналы төрт жұп серіппемен жалғастырылған. Қаптамамен қысымдау дискі аралығында шеңбер бойымен бір- бірінен бірдей арақашықтықта он алты цилиндрлі серіппе орнатылған, олардың әрқайсысы қысымдау дискісі мен қаптамада орындалған арнайы шығыңқы бөліктер көмегімен центрленеді. Қысымдау дискісі мен серіппе аралығында жылу изоляциялайтын шайбалар орнатылған, олар ілініс жұмысында серіппелердің қызуын төмендетеді және қызу әсерінен серіппелердің серпімділік қасиеттерінің жоғалтылуын болдырмайды.
Сурет 3. ЗИЛ жүк автомобилінің ілінісі:
а- жалпы кескіні; б-бөлшектер; в- жетек; 1- семер; 2- қысымдау дискісі; 3- жетектелуші диск; 4 және 19- біліктер; 5,18 және 21- иіндер; 6 және 12- айырлар; 7- картер; 8 және 9- подшипниктер; 10,14,17 және 28- серіппелер; 11- муфта; 13- қаптама; 15- платиналы серіппе; 16- басқыш; 20- тартпа; 22- гайка; 23 және 27 дискілер; 24- ступица; 25- пластина; 26- майқайтарғыш
Іліністі ажырататын төрт иіні 5 инелі подшипникті 8 осьтер көмегімен қысымдау дискісімен және айырлармен 6 жалғастырылған. Айырлардың қаптамадағы тірегі қызметін сфералық гайкалар атқарады, олар қысымдау дискісі жылжығанда айырлардың тербелмелі қозғалыс жасауын қамтамасыздандырады. Іліністі жинастырғанда аталған гайкалармен іліністі ажырату инінің жағдайын реттейді.
Іліністі ажырату муфтасында 11 пайдалану үрдісінде толтырылмайтын, тұрақты майлау материал қоры бар, шашылмайтын қысымдау подшипнигі болады.
Іліністің жетектелуші дискісінде серіппелі- фрикционды бұрау тербелісті сөндіргіштер орнатылған. Жұқа болат жетектелуші дискіге 3 екі жағынан да престелген металласбесті композициядан жасалған фрикциялы үстемелер бекітілген. Диск ступицамен 24 трансмиссия бөлектерінде айналыс жиілігі күрт өзгергенде пайда болатын айналмалы тербелісті сөндіргішінің сегіз серіппелер 28 көмегімен жалғастырылады. Ступица берілістер қорабының бірінші білігі 4 бойымен жылжи алады. Серіппелер 28 алдын- ала қысымдалып шеңбер бойымен дискілердің 23,27 тікбұрышты терезелерінде және жетектелуші дискінің ступицасының 24 фланецінде сәкестендіріп, орналастырылған. Бұл жетектелуші дискіге 3 ступицаға салыстырмалы екі жаққа да белгілі бұрышқа, серіппені қысып бұрылуына мүмкіншілік жасайды. Жетектелуші дискінің бұрылу бұрышы қысуда серіппенің орамдарының бір-біріне жанасуымен шектеледі.
Диск 23 ступицаға майқайтарғышпен 26 бірге бекітілген және фрикционды пластиналарға 25 қысылған, олар жетектелуші дискіге 3 тойтармаланған дискіге 27 бекітілген. Жетектелуші дискінің ступицаға салыстырмалы жылжуларында бұрау тербелістер әсерінен дискілер мен фрикционды пластиналар 25 аралығында үйкеліс күші пайда болады да, олар бұрау тебелістерін сөндіріп жылу энергиясына айналдырады. Сөндіргіштің серіппелері 28 трансмиссияның бөлшектерінің тербеліс жиілігін төмендетеді, бұрау тербелістерінің жиілігімен сәйкес келуіне жол бермейді, яғни тарнсмиссияда резонанс құбылысына жол бермейді. Сонымен қатар серіппелер автомобиль қозғалысы басталған сәтте немесе берілістерді ауыстырғанда айналдыру моментінің жайлы ауысуына жағдай жасайды, бұл өз кезегінде іліністің басқышты күрт жібергенде де жайлы қосылуын қамтамасыздандырады.Сонымен бұрау тербелістерінің сөндіргіші трансмиссия механизімдерінің ұзақмерзімді қызметін ұзартады. Іліністің жетегі механикалық. Оның құрамына басқыш 16 білігімен 19, иіндер 18 және 21, реттеу тартпасы 20, іліністі ажырату айыры 12 кіреді.
Басқышты басқанда білік 19 бұрылып иін мен тартпа арқылы айырға 12 әсер етеді, ал ол қысымдау подшипникті 9 ажырату муфтасына 11 әсер етеді. Подшипникті муфта жылжып, иіндердің 5 ішкі шеттерін қысады, олар өздерінің сытқы шеттерімен қысымдау дискісін жетектелуші дискіден ажыратады. Бұл жағдайда қысымдау серіппелері 14 қысылады: ілініс ажыратылады да, айналдыру моменті қозғалтқыштан трансмиссияға берілмейді.
Басқыш жіберілгеннен кейін подшипникті ажырату муфтасы мен басқыш тиісті серіппелермен 10 және 17 бастапқы жағдайларына келтіріледі. Бұл жағдайда қысымдау серіппелері 14 әсерінен қысымдау дискісі сермерге қысылады: ілініс қосылады да, қозғалтқыштан айналдыру моменті трансмиссияға беріледі.
Сенімді жұмыс істеуі үшін іліністе екі реттеу қарастырылған: ілініс басқышының еркін жолы және іліністі ажырату иіндерінің жағдайы.
Іліністің басқышының еркін жүріс жолы немесе қысымдау подшипнигі мен іліністі ажырату иіні арасындағы саңылауды ретеу реттеу гайкасымен 22 , яғни тартпа 20 ұзындығын өзгертумен жүзеге асырылады. Ілініс басқышының еркін жүріс жолы (35...50) мм болғанда, саңылау (1,5...3,0)мм болуы тиіс. Реттеу іліністі толық қосып, ажыратуға керек және оны пайдалану реттеуі деп атайды. Кіші саңылауда қысымдау подшипнигі тұрақты немесе кезеңді ажырату иіндерін қысымдап, іліністің тығылуын (пробуксовка) туындатып, өзінің, фрикционды үстемелердің, ажырату иіндерінің қажалуын ұлғайтады.
Ажырату иіндерінің реттеуін іліністі жинауда немесе жөндеуде тірек айырларын 6 бекітетін сфералық гайкалар көмегімен жүзеге асырады. Ол қысымдау дискісі іліністі ажыратуда қисық жылжымауы үшін қажет. Аталған болмаған жағдайда ілініс толық ажырамайды (ілініс «алып жүреді») және жылдам қажалады.
ГАЗ жеңіл автомобилінің ілінісі (сурет 4.) құрамында сермер 2, қысымдау дискісі 5, қаптама 11, бұрау тербелістерін сөндіргішті 1 жетектелуші дискі 4, қысымдау серіппелері 6, үш ажырату иіндері 10 және пайдалануда майлауды талап етпейтін, герметизацияланған қысымдау подшипникті іліністі ажырату муфтасы болады. Ілініс қозғалтқышқа бекітілген картерде 3 болады.
Жетектелуші диск 4 қозғалтқыш сермеріне 2 қысымдау дискісімен 5 шеңбер бойымен бір- бірінен бірдей арақашықтықта орналасқан, тоғыз жұп цилиндрлі серіппелермен 6 қысылады, Қосарланған цилиндрлі серіппелерді (сыртқы және ішкі) қолдану пайдалануда қысымдау күшінің қажетті шекте тұрақтылығын қамтамасыздандырады. Жетектелуші диск ступицадан 27, дискілерден 24 және 28, фрикционды үстемелерден 25 және бұрау тербелістерін сөндіргіштен 1 құралады.
Бұрау тербелістерін сөндіргіш (сурет 4,в) алты цилиндрлік серіппелерден 26, болат фрикционды шайбалардан 23, жылуизоляциялық шайбадан 22, серіппеден 21 және тіректен 20 құралады.
Сөндіргіштің серіппелері дискілердің 24, 28 және ступицаның 27 терезелеріне орналасып, олардың серпімділі байланысын қамтамасыздандырады. Фрикциялы шайба 23 ступицада қозғалыссыз орнатылып, жетектелуші дискіге жылуизоляциялайтын шайба 22 арқылы серіппемен 21 қысылған. Серіппе жетектелуші диск ступицасында бекітілген тіректе 20 орнатылған.
Автомобиль транмиссиясындағы бұрау тербелістерін сөндіру фрикциялы болат шайбамен 23 жетектелуші дискінің 24 арасында, жетектелуші диск
Сурет 4. ГАЗ жеңіл автомобилінің ілінісі:
а- жалпы кескіні; б- бас цилиндр; в- бөлшектер; 1- сөндіргіш; 2- сермер; 3-картер; 4- жетектелуші диск; 5- қысымдау дискі; 6, 21, 26- серіппелер; 7- муфта; 8- білік; 9- айыр; 10- иін; 11- қаптама; 12- шток; 13- клапан; 14,15- цилиндрлер; 16- басқыш; 17- итергіш; 18- поршень; 19- манжета; 20- тірек; 22,23- шайбалар; 24,28- дискілер; 25- фрикционды үстемелер; 27- ступица; А және Б- тесіктер
ступицасына салыстырмалы бұрылғанда пайда болатын үйкелістен жүзеге асырылады.
Ілініс қосылғанда айналдыру моменті қозғалтқыш сермерінен 2 бекіту болттары арқылы ілініс қаптамасына 11 беріледі, одан дискінің қаптамаға кіретін үш тікбұрышты құймалары арқылы қысымдау дискісіне 5 беріледі. Содан кейін айналдыру моменті берілістер қорабының бірінші (жетектеуші) білігінде 8 шлицада орнатылған жетекелуші дискіге 4 беріледі.
Іліністің гидравликалық жетегіне басқыш 16, сыйымдылықты және итергішті 17 бас цилиндр, штокты 12 жұмысшы цилиндр 14, айыр 9 және өткізгіш кіреді.
Басқыштан күш іліністі ажырату айырына іс жүзінде қысылмайтын тежеу сұйығы (онымен жетек толтырылған) арқылы беріледі. Бас цилиндрдің ішкі қуысы сыйымдылықпен өткізу Б және компенсациялық А тесіктер арқылы жалғасады. Компенсациялық тесік арқылы сұйық сыйымдылыққа өзінің цилиндрдегі көлемі өзгергенде (қызғанда, ілініс басқышын күрт жібергенде) өтеді.
Ілініс ажыратылғанда басқышқа 16 басқанда итергіш 17 бас цилиндрдің поршенін 18 жылжытады, ол компенсациялық тесікті А жапқаннан кейін сұйықты жоғарғы қысыммен май өткізгіші арқылы жұмыс цилиндріне 14 итеріп шығарады. Жұмыс цилиндрінің поршені шток 12 арқылы шарлы тіректегі айырды 9 бұрады, ол муфтаны 7 қысымдау подшипнигімен жылжытады. Қысымдау подшипнигі іліністі ажырату іиіндеріне 10 әсер етіп, оның ішкі шеттерін сермерге қарай қозғалтады. Бұл жағдайда іліністің жетектеуші және жетектелуші бөліктері ажырап іліністе ажыратылады. Басқышты жіберіп, іліністі қосқанда жетектің барлық бөлшектері қайтару серіппелерінің әсерлерінен бастапқы жағдайына қайтарылады, ал жетектегі сұйық қысымы атмосфералық қысымға дейін төмендейді.
Іліністің басқышын жайлы жібергенде жұмыс цилиндірінен шығарылған сұйық бас цилиндрге оралып, поршень босатқан көлемді толтырып үлгереді.
Ілініс басқышын күрт жібергенде егер бас цилиндрге келген сұйық цилиндрде поршень босатқан көлемді толтырып үлгермесе, онда вакуум пайда болады. Бұл жағдайда вакуум әсерінен сұйықтың бөлігі сыйымдылықтан өткізу тесігі Б арқылы поршень қуысына келеді де, оның басындағы тесік арқылы тығыздау манжеттерінінің шеттерін 19 қысымдап поршень алдындағы қуысқа келеді. Келген сұйық цилиндрді толтырып вакуумды жояды. Цилиндрге сұйықтың одан ары келу үрдісінде артық сұйық сыйымдылыққа компенсациялық тесік Б арқылы шығарылады.
Жұмыс цилиндрінде іліністің гидравликалық жетегінен ауа шығаратын арнайы клапан 13 болады.
Диафрагмалы серіппелі ілініс жеңіл автомобильдерде қолданылады. Олардың құрылысы қарапайым, мөлшерлері мен массасы кіші болады. Бұл іліністерді ажырату үшін кіші күш қажет, себебі диафрагмалы серіппенің ажыратылуында күш төмендейді; бірақ диафрагмалы серіппенің қысымдау күші шектелген.
ВАЗ жеңіл автомобилінің ілінісі (сурет 5) бірдискілі, орталық диафрагмалы серіппелі және гидравликалық жетекті болады.
Ілініс жетектеуші бөліктерден (сермерден 8, қаптамадан 16, қысымдау дискісінен 7) жетектелуші дискіден 2 және қосып, ажырату бөлшектерінен (серіппеден 1, муфтадан 12, айырдан 13, подшипниктен 14) құралады. Штампталған болат қаптама 16, шойын қысымдау дискісі 7 және қысымдау серіппе 1 ажыратылмайтын торап болып табылады және ол сермерге 8 болттармен 10 бекітіледі. Сермер мен қысымдау дискісі аралығында берілістер қорабының жетектеуш білігінің шлицасында ступицадан 5, болат кесілген дискіден 4 және фрикционды үстемелерден 3 құралған жетектелуші диск 2 орнатылған. Жетектелуші диск серіппелі фрикционды бұрау тербелісінің сөндіргішімен 6 жабдықталған. Диафрагмалы серіппе 1 серпіділі болат беттемеден штампталған, еркін жағдайында ішкі шетінен басталатын радиалды оймалы қыйылған конус түрінде болады. Радиалды оймалар лепестоктарды жасайды да, олар серпімділі қысымдау иіндер қызметін атқарады. Бұл иіндердің серпімділігі іліністің жайлы жұмыс орындауын қамтамасыздандырады. Серіппе 1 тойтармалар және екі сақиналар 19 көмегімен іліністің қаптамасына бекітілген. Бұл жағдайда оның қысымдау дискісімен жанасатын сыртқы шеті серіппеден қысымдау дискісіне күш береді. Ілініс семермен алюмини қоспасынан құйылған картерде 9 орналастырылған, ол алдыңғы жағынан штампталған қақпақпен 18 жабылады және цилиндрлер блогының артқы шетіне бекітіледі.
Іліністің гидравликалық жетегі (сурет 6) серіппелі 2 аспалы басқыштан 4, сыйымдылықты бас цилиндрден 6, жұмыс цилиндрінен 18, штуцерлі жалғастыру өткізгіштерінен 10,21 және серіппелі 16 іліністі ажырату айырынан 13 құралады. Басқыш пен бас цилиндр кузовтың адыңғы щитіне жалғастырылған ілініс және тежеу басқыштарының кронштейніне бекітілген, ал жұмыс цилиндрі ілініс картеріне орнатылған. Ілініс ажыратылғанда күш басқыштан 4 бас цилиндрдің итергіштері 5 арқылы поршеньдерге 7,8 беріледі де олар сұйықты сұйық өткізгішіне және жұмыс цилиндріне қысымдап шығарады. Жұмыс цилиндрінің поршені 19 шток 14 арқылы шарлы тіректе 12 іліністі ажырату айырын 13 бұрады, ол өз кезегінде муфтаны подшипникпен 11 жылжытады. Подшипник тірек фланецы 15 арқылы (сурет 5) серіппенің 1 ішкі шетін сермерге 8 қарай жылжытады. Серіппе қарсы жаққа қарай майысады да, оның сыртқы шеті фиксатор 20 арқылы қысымдау дискісін 7 жетектелуші дискіден ажыратады, ілініс ажыратылып трансмиссиға айналдыру моменті берілмейді. Ілініс басқышын жібергенде қысымдау дискісі серіппе 1 әсерінен жетектелуші дискіні сермерге жанастырады, ілініс қосылып, айналдыру моменті трансмиссияға беріледі. Бұл жағдайда іліністің, оның жетегінің басқа бөлшектері серіппелер 9,16,20 әсерінен бастапқы жағдайларына оралады. Ілініс басқышымен серіппе 1 іліністі ажыратқанда басқышқа түсетін күшті азайтатындай жалғастырылған. Басқыштың (20...30) мм еркін жүріс жолы және оған сәйкес іліністі ажырататын подшипниктің 11 шетімен орталық қысымдау серіппесінің тірек фланецының аралығындағы 2 мм болатын саңылауды гайкамен 17 реттеп, контрагайкамен 15 тапылжытылмайтындай бекітіледі. Басқыштың еркін жүрісі іліністі толық қосуға және іліністі ажырату подшипнигінің қажалуын, істен шығуын болдырмауға арналған. Іліністің толық қосылуы итергіш пен шектегішпен 3 анықталатын іліністің түсірілген жағдайындағы поршень аралығындағы (0,1...0,3) мм саңылауы қамтамасыздандырады.
