Проектирование ресторанов, кафе небольшой вместимости введение
Организация пространственной среды для жизнедеятельности человека предусматривает проектирование и строительство разнообразных зданий и сооружений. По типологическим признакам здания подразделяются на производственные, общественные и жилые здания.
Общественные здания относятся к сфере обслуживания. Их среда создается для проведения процесса потребления материального или духовного продукта. Они в свою очередь классифицируются на образовательные, спортивные, зрелищные, торговые, здания предприятий питания, рекреационные, лечебно-профилактические, многофункциональные и др.
Объемная структура общественного здания состоит из двух пространств: пространства потребления и пространства производства. Каждое из них включает в свой состав основное, дополнительное и вспомогательное пространства. Основное пространство это место наибольшей концентрации посетителей для потребления. Дополнительные пространства создаются для промежуточных этапов в процессе потребления (производства). К вспомогательным пространствам относятся туалеты, курительные комнаты, технические устройства.
Тема «Ресторан или кафе малой вместимости» является первым простейшим уровнем курсового проектирования общественных зданий.
Цель работы: создание здания кафе или ресторана, отвечающего природно-градостроительным, функциональным, конструктивным, экономическим и эстетическим требованиям.
Задачи:
Дальнейшее совершенствование архитектурной графики и развитие объемно-пространственного мышления;
Овладение методами компоновки различных функциональных зон при создании целостной структуры объекта с взаимосвязью объемнопланировочного решения и конструктивной системы здания.
1. Общие положения
Заданием на курсовое проектирование предлагается выполнение проекта загородного ресторана или здания кафе-магазина, предназначенного для обслуживания туристов на транзитных остановочных пунктах. Курсовой проект выполняется в четвертом семестре в течение двух месяцев: февраль, март.
Предприятие общественного питания характеризуется количеством мест в обеденных залах; магазин кулинарии - размером торговой площади зала или количеством рабочих мест.
В данном проекте, прежде всего, решаются образные задачи. Работе предшествует основательный предпроектный анализ: изучение нормативной и учебной литературы, аналогов и прототипов (функциональные схемы). По завершению предпроеткного анализа выполняется клаузура (графика - ручная подача на формате А3), которая дает первое представление о будущем проектируемом объекте.
После согласования и утверждения эскиза-идеи ведется проработка всех проекций в М 1:100, 1:200, уточняется разрез, выбирается конструктивная система. Разрабатываются варианты фасадов. Вся работа заканчивается эскизом проекта: выполнением чертежа на формате 100×100см.
2. Объемно-планировочные решения
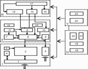
Функциональная взаимосвязь помещений предприятий общественного питания с самообслуживанием приведена на рис.1. Функциональная взаимосвязь, предприятий общественного питания обслуживаемых официантами приведена на рис.2. Все основные функциональные группы помещений в структуре предприятия (здания) должны иметь четкое зонирование и удобную функционально-технологическую взаимосвязь по средствам производственных коридоров, исключая пересечение человеко- и грузопотоков.
Рис.
1. Функциональная схема кафе с
самообслуживанием:
-
помещение для посетителей; II -
производственные; III - для приема и
хранения продуктов; IV - служебные и
бытовые; V - технические; 1 - вестибюль
с гардеробом;
-
обеденный зал с раздаточной; 3 - буфет;
4 - санузел; 5 - магазин кулинарии; 6 -
горячий цех; 7 - холодный цех; 8 - моечная
столовой посуды; 9 - доготовочный цех;
10 - цех мучных изделий; 11 - моечная
кухонной посуды и тары полуфабрикатов;
12 - помещение резки хлеба; 13 - помещение
заведующего производством; 14 - охлаждаемые
камеры с машинным отделением; 15 -
кладовая сухих продуктов; 16 - кладовая
тары и инвентаря; 17 - загрузочная; 18 -
конторские помещения; 19 - гардероб
персонала; 20 - душевые и санузлы для
персонала; 21 - бельевая; 22 - вентиляционные
камеры; 26 - электрощитовая
Рис.
2. Функциональная схема ресторанов,
обслуживаемых официантами I - помещения
для посетителей; II - производственные;
III - для приема и хранения продуктов; IV
- служебные и бытовые; V - технические;
1 - вестибюль с гардеробом, умывальнями,
туалетами; 2 - аванзал; 3 - обеденный зал;
4 - банкетный зал; 5 - бар; 6 - магазин
кулинарии; 7 - раздаточная; 8 - буфет; 9 -
горячий цех; 10 - холодный цех; 11 - моечная
столовой посуды; 12 - сервизная; 13 -
доготовочный цех с отделением обработки
зелени; 14 - цех мучных изделий; 15 - моечная
кухонной посуды; 16 - моечная тара
полуфабрикатов; 17 - помещение резки
хлеба; 18 - помещение заведующего
производством; 19 - охлаждаемые камеры
с машинным отделением; 20 - кладовая
сухих продуктов; 21 - кладовая напитков;
22 - кладовая инвентаря; 23 - кладовая и
моечная тары; 24 - загрузочная; 25 - кабинет
директора и служебно-конторские
помещения; 26 - гардеробы для персонала
и официантов; 27 - душевые и санузлы для
персонала; 28 - бельевая; 29 - вентиляционные
камеры; 30 - электрощитовая
Основную группу помещений здания ресторана, кафе-магазина составляют обеденный зал, помещения производственного (кухня) и административного назначения. В соответствии с взаимным расположением этих помещений относительно друг друга, в практике проектирования сложился ряд основных композиционно-планировочных схем: центричная, фронтальная, глубинная, угловая.
Центричная схема имеет близкую к квадрату или кругу форму плана с расположением производственных помещений в центре обеденного зала.
Фронтальная схема характеризуется размещением производственных помещений по продольной наружной стене здания параллельно помещению обеденного зала.
Глубинная схема основана на формировании производственных помещений в глубине здания.
Угловая схема предполагает расположение производственных помещений в одном из углов здания так, что своими двумя сторонами они примыкают к обеденному залу.
При выборе той или иной композиционной схемы необходимо учитывать основные планировочные требования: максимально допустимый путь посетителя от самого удаленного места не должен превышать 30 м, а для залов с самообслуживанием - 50 м.
Проходы в зале делятся на: главные, собирательные и боковые. Главный проход должен иметь ширину не менее 2 м. Собирательный проход предусматривает возможность движения во встречных направлениях, его ширина равна 1,5 м. Боковые проходы шириной 0,6 м разделяются группами столов так, чтобы один человек с подносом в руках мог пройти к свободному месту.
Входы в здание и лестницы для посетителей и персонала должны проектироваться автономными. Вход для персонала в кафе, ресторан до 100 мест допускается проектировать через приемочные помещения.
Входы в уборные для посетителей предусматриваются из вестибюля. Количество унитазов в уборных для посетителей принимается из расчета 1 унитаз на каждые 60 мест, в предприятиях менее 50 мест допускается проектировать две уборных (для мужчин и женщин). В ресторанах и кафе с обслуживанием официантами в шлюзах уборных предусматривается дополнительная площадь не менее 4 м2 для туалетной.
В предприятиях общественного питания, располагаемых в зонах массового туризма, на автотрассах и в других местах со значительным одновременным потоком посетителей, рекомендуется удваивать количество санитарных приборов, а площадь вестибюля при этом увеличивать до 30% против установленной настоящими правилами.
При проектировании общедоступных предприятий общественного питания необходимо учитывать также интересы социально незащищенных групп населения, в частности - инвалидов. В этой связи рекомендуется учитывать при проектировании следующие позиции:
при входах в здания общественного питания, вместимостью от 100 мест лестницы дублировать пандусом с шероховатой поверхностью, шириной не менее 1,2 м для доступа посетителей в инвалидных колясках, при этом ширина полотна двери должна быть не менее 0,9 м;
рекомендуется отводить до 10 мест для инвалидов на колясках, при этом выделенная зона в зале должна иметь удобный доступ к раздаточной и обеспечивать разворот коляски с диаметром окружности 1,5 м, т.е. не менее 3 м2 на одно место;
проектирование уборных для инвалидов должно учитывать следующие специфические требования: площадь кабины должна рассчитываться исходя из размера инвалидной коляски со свободным подходом с трех сторон к унитазу (для сопровождающего человека).
Состав и площади помещений ресторанов, кафе в составе курсового проекта приведены в таблице 1.Площади групп помещений ресторана и кафе на 40 посадочных мест.
Таблица 1.
Группы
помещении
Площадь,
м2
Ресторан
Кафе-магазин
Помещения
для посетителей:
Зал
с самообслуживанием, в том числе с
раздаточной
118
86
Зал
с обслуживанием официантами
96
70
Торговый
зал магазина
-
24
Вестибюль
с гардеробом
24
20
Санузлы
36
36
Производственные
помещения:
Кладовая
при магазине
-
10
Раздаточная
12
-
Горячий
цех
36
-
Холодный
цех
24
-
Доготовочная
-
24
Помещение
для резки хлеба
10
10
Моечная
кухонной посуды
6
6
Моечная
столовой посуды
4
4
Сервисная
(с обслуживанием официантами)
8
-
Складские
помещения
15
12
Кладовая
инвентаря
6
4
Приемочная
4
4
Административные
помещения:
Помещение
администрации
15
15
Помещение
персонала
12
12
Санитарный
узел с душем
8
8
Бельевая
6
6
Всего
440
351
Планировочные решения ресторанов и кафе показаны на рис. 3^6.
