- •Билет 1)
- •Билет 2)
- •Билет 3)
- •3)Электроснабжение железных дорог.
- •4)Устройства автоматики, телемеханики, связи.
- •1) Проводная:
- •3) Громкоговорящая связь;
- •6) Передача данных.
- •5)Тяговая и контактная сеть.
- •Билет 4)
- •2)Шпалы.
- •5)Система электроснабжения метрополитена.
- •Билет 5)
- •2)Рельсы и рельсовые скрепления.
- •4)Сбор и устранение поверхностных вод.
- •5)Устройство пути на участке стрелочных переводов.
- •Билет 6)
- •2)Решение задачи по устройству пешеходного перехода в теле высокой насыпи. Не нашел
- •5)Отдельные сооружения и расчетные схемы метро.
- •Билет 7)
- •1)Габариты на железных дорогах.
- •2)Бесстыковый путь.
- •3)Вагонное хозяйство.
- •4)Общие сведения о метрополитенах.
- •5)План и профиль линии метро.
- •Билет 8)
- •2)Ремонт путей и контроль за состоянием путей.
- •3)Тепловозная тяга.
- •4)Линия мелкого заложения метро.
- •5)Верхнее строение пути Метро
- •Билет 9)
- •1)Общие принципы и стадии проектирования.
- •3)Расчет крутизны уклонов продольного профиля.
- •5)Тупики для оборота поездов метро.
- •Билет 10)
- •1) Основы проектирования железных дорог (план, профиль)
- •2)Противоугоны.
- •5)Контактный рельс метро.
Билет 1)
1) Транспорт. Общие сведения.
Под словом "транспорт" понимают прежде всего процесс перемещения. Современный транспорт представляет собой единую транспортную систему, включая мощную сеть железнодорожных, морских, речных, автомобильных, воздушных, трубопроводных городских и промышленных коммуникаций. Перемещая ежегодно миллиарды тонн сырья, топлива, материалов, продукции, а также многие миллиарды пассажиров с достаточно высоким уровнем комфорта и скорости, современный транспорт обеспечивает массовое индустриальное производство. Транспорт является частью экономической деятельности, которая связана с увеличением степени удовлетворения потребностей людей при помощи изменения географического положения товаров и людей. Он может доставлять сырье к местам, где потребители могут их лучше использовать. Виды транспорта: Железнодорожный транспорт во многих промышленно развитых странах среди других видов транспорта занимает одно из ведущих мест. Это объясняется его универсальностью – возможностью обслуживать производящие отрасли хозяйства и удовлетворять потребности населения в перевозках вне зависимости от погоды: во всех климатических условиях и в любое время года. Имея современные виды локомотивов и вагонов, мощный рельсовый путь, используя современные средства автоматики, телемеханики и вычислительной техники, железнодорожный транспорт, наряду с другими отраслями промышленного производства, входит в экономический потенциал каждой страны. Автомобильный транспорт обеспечивает:1) относительно высокую скорость передвижения;2) доставку грузов в районы, где нет других видов транспорта. Он наиболее удобен, так как позволяет доставлять грузы непосредственно от отправителя к получателю без перегрузки; эффективен на внутригородских и междугородных перевозках пассажиров. Вместе с тем себестоимость грузовых и пассажирских перевозок автомобильным транспортом более высокая по сравнению с другими видами. Морской транспорт обеспечивает массовые перевозки в зарубежные страны, а также между портами внутри страны, расположенными на побережье морей. Морские перевозки наиболее эффективны на направлениях, где морские маршруты короче сухопутных, и там, где нет других видов массового транспорта. Речной транспорт осуществляет местные и дальние перевозки на маршрутах, которые совпадают с расположением судоходных рек и каналов. Он обладает высокой провозной способностью, причем особенно при использовании судов большой грузоподъемности на глубоководных реках, а также на маршрутах река-море. Себестоимость речных перевозок ниже, чем другими видами транспорта. Воздушный транспорт – самый высокоскоростной вид транспорта, посредством которого осуществляются в основном пассажирские перевозки на ближние и дальние расстояния. Удельный вес грузовых перевозок невысок. На работу воздушного транспорта очень влияют погодные условия. Стоимость воздушных перевозок значительно выше, чем на других видах транспорта. Трубопроводный транспорт Он используется для транспортировки главным образом нефти, нефтепродуктов и природного газа и почти не зависит от погодных условий, способен транспортировать жидкие и газообразные продукты на очень большие расстояния, является относительно дешевым видом транспорта.
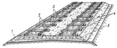
2) Назначения и основные элементы верхнего строения.
Верхняя, периодически заменяемая часть пути называется верхним строением пути. Верхнее строение пути предназначено для направления движения подвижного состава, восприятия нагрузки от колес движущихся поездов и передачи ее нижнему строению пути (земляному полотну и искусственным сооружениям), рассредоточенной на достаточно большую поверхность. Верхнее строение пути (рис. 1) представляет собой комплексную конструкцию, элементы которой в зависимости от выполняемых ими функций и необходимой несущей способности выполнены из разнородных материалов. К этим элементам верхнего строения пути относятся:
стальные высокопрочные рельсы (2) и стрелочные переводы, непосредственно воспринимающие нагрузку от колес подвижного состава и определяющие траекторию его движения;
деревянные или железобетонные поперечины – шпалы (3), а на мостах и стрелочных переводах – мостовые и переводные брусья, предназначенные для удержания рельсов на определенном расстоянии друг от друга и передачи давлений на ниже расположенную часть пути;
металлические рельсовые скрепления (4) для соединения рельсов друг с другом и прикрепления их к шпалам или брусьям;
балластный слой (5) из щебня, гравия, отходов асбестового производства или крупно- и среднезернистого песка. Под балластным слоем из щебня расположена песчаная подушка (1).
Рельсы,
соединенные со шпалами, образуют
рельсошпальную (путевую) решетку.
Рис. 1 – Элементы верхнего строения пути.
3) Путевое хозяйство.
Путевое хозяйство — одна из основных отраслей железнодорожного транспорта, в которую входят железнодорожный путь со всеми сооружениями, а также комплекс производственных подразделений и хозяйственных предприятий, предназначенных для обеспечения бесперебойной работы пути, его текущего содержания и ремонта. Основным назначением путевого хозяйства является содержание пути и путевых устройств в постоянной исправности, чтобы обеспечивать безопасное и плавное движение поездов с наибольшими скоростями, установленными для данного участка. Достигается это текущим содержанием пути, своевременным выявлением и предупреждением неисправностей пути, устранением их причин, а также усилением и ремонтом пути.
4) Тяговые расчеты. Общие сведения.
Тяговые расчеты являются составной частью науки о тяге поездов и служат для решения различного рода задач, связанных с движением поездов и возникающих при проектировании железных дорог, локомотивов, вагонов и в процессе их эксплуатации. Например, на основе данных, полученных тяговыми расчетами, составляют графики движения поездов, определяют пропускную способность железнодорожных линий, размещают раздельные пункты, тяговые подстанции, склады топлива, определяют нормы расхода электроэнергии и топлива локомотивами и решают другие практические задачи.
В тяговых расчетах используют общие законы механики, приложенные к движению поезда.
Силы, действующие на поезд. Для удобства расчетов все внешние силы. Оказывающие влияние на движение поезда, объединяют в три основные группы и обозначают: F - сила тяги, W - силы сопротивления движению. В - тормозные силы. В тяговых расчетах пользуются либо полной величиной этих сил, выраженной в кгс, либо их удельной величиной, отнесенной к единице массы состава поезда (f, w, В).
Сила тяги локомотива в зависимости от скорости определяется по тяговым характеристикам, которые строятся для новых бандажей в соответствии с характеристиками тяговых двигателей, снятыми на стенде или при эксплуатационных испытаниях. Сила тяги локомотива не может превосходить силы сцепления ведущих колёс локомотива с рельсами.
{\displaystyle
F_{K}\leq P\psi }
,
где FK — сила тяги; P — «сцепной» вес локомотива (сумма нагрузок на рельсы от всех ведущих колёс); ψ — коэффициент сцепления.
Коэффициент сцепления колеса с рельсом максимален на стоянке и убывает по мере увеличения скорости движения локомотива.
Сопротивлением движению поезда называют силу, приложенную в точках касания колёс с рельсами, на преодоление которой затрачивается такая же работа, как на преодоление всех неуправляемых сил, препятствующих движению. Удельное сопротивление — сила сопротивления каждой единицы веса поезда.
{\displaystyle w={\frac {W}{P+Q}}},
где w — удельное сопротивление; W — полное сопротивление, Н; P — вес локомотива, кН; Q — вес вагонов поезда, кН.
Тормозная сила поезда определяется как сумма произведений действительных сил нажатия тормозных колодок К на действительные коэффициенты трения колодок φK или как произведение суммы расчётных (приведённых) сил нажатия КP на расчётный коэффициент трения колодок φKP.
Расчёт веса состава. Вес состава и скорость движения поезда определяется из условия полного использования мощности локомотива и кинетической энергии поезда. Вес состава определяется исходя из условия движения по расчётному (руководящему) подъёму с равномерной скоростью и по труднейшему подъёму с неравномерной скоростью с использованием кинетической энергии поезда. Вес поезда при условии движения с равномерной скоростью на расчётном подъёме определяют из условия равенства сил тяги и сопротивления движению поезда по формуле
P — вес локомотива, кН;
w'0— основное удельное сопротивление локомотива;
w''0— основное удельное сопротивление вагонов.
Fkp — Сила тяги
5) Подвижной состав метрополитенов.
К подвижному составу относятся моторные вагоны, предназначенные для перевозки пассажиров, специальные вагоны (технического назначения) и моторно-рельсовый транспорт для перевозки хозяйственных грузов, приводимый в движение от собственного источника - двигателя внутреннего сгорания. Моторный вагон приводится в движение электродвигателями, которые получают электроэнергию через токоприемники от контактного рельса. Моторный вагон приводится в движение электродвигателями, которые получают электроэнергию через токоприемники от контактного рельса. Каждый вагон метрополитена состоит из механической и электрической части, а также пневматического оборудования. К механической части вагона относятся кузов, рамы двух тележек, колесные пары, тяговый привод, рессорное подвешивание, тормозное оборудование и сцепные устройства. Колесные пары вагона приводятся во вращение тяговыми двигателями. Валы тяговых двигателей соединены с осями колесных пар карданными муфтами и зубчатыми передачами (редукторами). На вагонах метрополитена получил применение индивидуальный тяговый привод, при котором каждая колесная пара приводится во вращение своим тяговым двигателем. Электрическая часть вагона, кроме тяговых двигателей, содержит множество различных аппаратов, предназначенных для пуска тяговых двигателей, изменения скорости и направления движения вагона, электрического торможения, защиты оборудования от перегрузок и токов короткого замыкания, а также аппараты вспомогательных цепей и цепей управления. Для увеличения полезного объема пассажирского салона и безопасности пассажиров все основное электрооборудование подвешено под кузовом вагона на его раме. Тяговыми двигателями и другими электрическими аппаратами, находящимися под напряжением контактной сети, управляют дистанционно из кабины машиниста. Система дистанционного управления применятся на всех вагонах метрополитена. В качестве источника питания системы управления используются аккумуляторные батареи, установленные на вагонах. Головные вагоны имеют кабину машиниста, в которой находятся основные аппараты управления поездом и кран машиниста. Это позволяет управлять поездом из любого вагона и поэтому на конечных станциях не требуется выполнять никаких маневров и перестановок вагонов: машинист лишь должен перейти из головного вагона в хвостовой, который при движении поезда в обратном направлении становится головным. Пневматическое оборудование вагона создает запас сжатого воздуха, с помощью которого можно выполнять служебное и экстренное пневматическое торможение поезда, автоматическую работу раздвижных дверей, электрических аппаратов, звукового сигнала, стеклоочистителей и пр.
