- •1. Система электроснабжения самолета ил-76т
- •Система электроснабжения переменным током
- •1.2 Источники в системе электроснабжения постоянным током
- •2. Система электроснабжения вертолета ми-24
- •Система электроснабжения переменного тока вертолета
- •Назначение основных агрегатов
- •Работа сэс переменного тока
- •2.2 Система электроснабжения постоянного тока вертолета
- •Работа сэс постоянного тока
- •3. Система электроснабжения самолета як-130
- •3.1 Состав системы электроснабжения самолета
- •3.2 Назначение и состав системы электроснабжения переменного тока
- •Назначение и работа привод-генератора пгл-130
- •Назначение и работа бдт16к
- •3.3 Назначение и состав сэс постоянного тока
1. Система электроснабжения самолета ил-76т
Самолет Ил-76Т оснащен следующими системами электроснабжения:
системой переменного трехфазного тока напряжением 208/115 В частотой 400 Гц;
системой переменного трехфазного тока напряжением 36 В частотой 400 Гц;
системой постоянного тока напряжением 27 В.
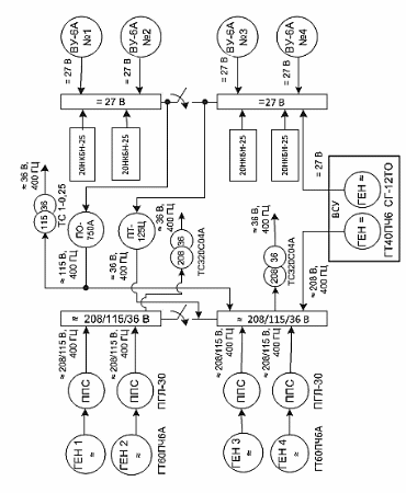
Основной и первичной является система переменного трехфазного тока с выведенной силовой нейтралью напряжением 200/115 В частотой 400 Гц. От этой системы питается большинство самолетных потребителей электроэнергии, а также все остальные системы электроснабжения, которыми оснащен самолет.
Основными источниками электроэнергии в системе являются четыре генератора ГТ60ПЧ6А (по одному на каждом двигателе). Резервным источником служит генератор вспомогательной силовой установки (ВСУ) ГТ40ПЧ6, обеспечивающий питание бортсети на земле при отсутствии аэродромного источника переменного тока и в полете при отказе четырех генераторов. На земле бортсеть может получать питание от аэродромного источника переменного тока через штепсельный разъем ШРАП- 400-ЗФ.
В трехфазных системах различают два способа соединения источников и потребителей - звездой и треугольником. На самолете Ил-76Т применено соединение звездой с выведенной силовой нейтралью. В качестве силовой нейтрали используют корпус самолета.
Однофазное напряжение 115 В используется в основном для питания радиооборудования, части приборного оборудования, части освещения и пр.
В нормальном полете при наличии питания в системе 200 В в потребители напряжения 115 В поступает ток от распределительных устройств системы 200 В. Потребители напряжения подключены одним проводом к одной из шин (фаз) системы 200 В, а вторым - к силовой нейтрали (к корпусу самолета).
Аварийным источником напряжения 115 В является преобразователь П0- 750А, который обеспечивает питанием группу наиболее важных потребителей. При включенном П0-750А от него через понижающий трансформатор ТС 1-0,25 поступает ток в группу потребителей однофазного напряжения 36 В.
Система переменного трехфазного тока напряжением 36 В используется для питания гироскопических приборов и датчиков. Эта система питается от системы 200 В через два трехфазных понижающих трансформатора ТС320С04А.
Дополнительно установлен преобразователь ПТ-125Ц, работающий в полете постоянно и предназначенный для питания только резервного авиагоризонта АГБ-ЗК командира корабля и резервного выключателя коррекции ВК-90. К распределительным устройствам переменного трехфазного тока напряжением 36 В подсоединены также и потребители переменного однофазного тока напряжением 36 В.
Система постоянного тока напряжением 27 В. Основными источниками в системе являются четыре выпрямительные установки ВУ-6А, преобразующие переменное трехфазное напряжение 200 В в постоянное 27 В. В качестве резервного источника постоянного тока используют генератор ВСУ СГ-12ТО. Генератор обеспечивает питание системы постоянного тока на земле при отсутствии аэродромного источника, а в полете - при отказе системы 200 В или при отказе всех ВУ-6А. Аварийным источником являются четыре аккумуляторные батареи 20НКБН-25-УЗ, рис.1.
Рисунок 1 ‒ Схема СЭС самолета ИЛ-76Т
