3 Пристосування фрезерні
3.1 Для заготовок типу вал
ТЕМА №15 ПРИСТОСУВАННЯ ДЛЯ БАЗУВАННЯ
ЗАГОТОВОК РЕАЛЬНИМИ ПОВЕРХНЯМИ
І ЛІНІЯМИ СИМЕТРІЇ
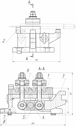
Чотиримісне пристосування використовується при фрезеруванні лисок, канавок, пазів і призначене для базування заготовки (рисунок 29) зовнішньою циліндричною поверхнею (подвійна направляюча база; опорні точки 1, 2, 3, 4) і площиною (опорна база; опорна точка 5) і для закріплення заготовки силою Р1.
Рисунок 29 – Заготовка « Вал»
У пристосуванні (рисунок 30) заготовка подвійною направляючою базою встановлюється на поверхні призми 1 (опорні точки 1,2, 3, 4), яка закріплена на корпусі 6; опорною базою притискається до поверхні торця призми 1 (опорна точка 5). Опорна прихована база (опорна точка 6 на рисунку 29) реалізується після закріплення заготовки. Зусилля затиску передається від важеля пневмокамери на затискувачі 2 і 3 за допомогою важеля 4 і коромисла 5. Встановлення пристосування на верстаті забезпечується настановними шпонками 7 і кріпильними елементами, які заходять в спеціальні пази на столі верстата.
Основні технічні вимоги до розташування настановних елементів
1 Відхилення від паралельності осі призми відносно поверхні А не більше Т1 на довжині l1 .
2 Відхилення від паралельності осі призми відносно поверхні В не більше Т2 на довжині l2 .
Рисунок 30 - Чотиримісне пристосування для фрезерування,
лисок, канавок, пазів
ТЕМА № 16 ПРИСТОСУВАННЯ ДЛЯ БАЗУВАННЯ
ЗАГОТОВОК РЕАЛЬНИМИ ПОВЕРХНЯМИ
І ВІССЮ СИМЕТРІЇ
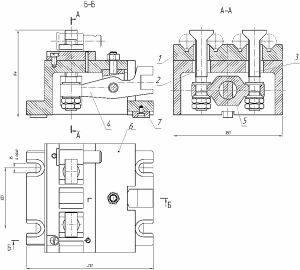
Пристосування застосовується при фрезеруванні пазів, лисок і свердленні отворів, призначено для базування заготовок (рисунок 31) зовнішньою циліндричною поверхнею (подвійна направляюча база, опорні точки 1, 2, 3, 4), площиною (опорна база, опорна точка 5) і для закріплення заготовки силами Р1 і Р2 одночасно.
Рисунок 31– Заготовка « Валик»
У пристосуванні (рисунок 32) заготовка подвійною направляючою базою встановлюється на пластину 7 та опору 8, подвійною направляючою базою між губками лещат 1 (опорні точки 1,2, 3, 4 на рисунку 31), опорною базою упирається в упор 2 (опорна точка 5 на рисунку 31). Закріплення заготовки здійснюється переміщенням губок лещат 1 до заготовки. Після закріплення заготовка фіксується опорною прихованою базою (опорна точка 6 на рисунку 31).
Після установки заготовки включають кран пневмосистеми. За допомогою рейкової зубчатої передачі 6 поступальний хід штока пневмоприводу 5 через зубчатий сектор 3 перетвориться в обертальний рух ходового гвинта 4 з правим і лівим різьбленням. При цьому відбувається одночасно переміщення губок лещат до заготовки і затиск її. Знімання заготовок відбувається в зворотній послідовності. Швидке встановлення пристосування на верстаті забезпечується настановними шпонками 9
Основні технічні вимоги до розташування настановних елементів
1 Відхилення від паралельності осей призм губок відносно поверхні А не більшеТ1 на довжині l1 .
2 Відхилення від перпендикулярності осей призм губок відносно поверхні Б (направляючої бази пристосування) не більше Т2 на довжині l2.
Рисунок 32 - Пристосування для фрезерування пазів,
лисок і свердління отворів
ТЕМА №17 ПРИСТОСУВАННЯ ДЛЯ БАЗУВАННЯ
ЗАГОТОВКИ РЕАЛЬНИМИ ПОВЕРХНЯМИ
І ЛІНІЯМИ СИМЕТРІЇ
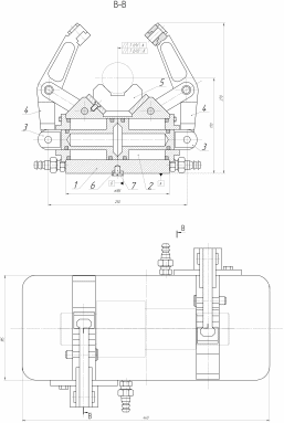
Чотиримісне пристосування застосовується при фрезеруванні канавок і призначено для базування заготовки (рисунок 33) зовнішньою циліндричною поверхнею (подвійна направляюча база; опорні точки 1,2,3,4), площиною (опорна база; опорна точка 5) і закріплення заготовок силами P1 і Р2 одночасно.
Рисунок 33 – Заготовка «Вісь»
У пристосуванні (рисунок 34) заготовка встановлюється в призму 1, реалізовуючи подвійну направляючу базу (опорні точки 1,2,3,4 на рисунку 33). Опорна база (опорна точка 5 на рисунку 33) реалізується після закріплення заготовки коротким циліндричним пальцем (опорна прихована база, опорна точка 6 на рисунку 33 ).
Важіль 2 передає зусилля від пневматичного діафрагменного приводу на коромисло 3, яке пов'язане тягами 4 і прихватами 5, здійснюючими затиск заготовок за допомогою рухомих важелів 6. Відкріплення заготовок здійснюється за допомогою пружин, встановлених на тягах. Величина ходу прихвата регулюється опорами 7.
Основні технічні вимоги до розташування настановних елементів
Відхилення від паралельності осей призм відносно поверхні Б не більше Т1 на довжині l1.
Відхилення від паралельності осей призм відносно поверхні В не більше Т2 на довжині l2.
Рисунок 34 – Пристосування чотиримісне для фрезерування
канавок, лисок
ТЕМА №18 ПРИСТОСУВАННЯ ДЛЯ БАЗУВАННЯ
ЗАГОТОВОК РЕАЛЬНИМИ ПОВЕРХНЯМИ
Чотиримісне пристосування застосовується при фрезеруванні в змінних касетах заготовок вилок (рисунок 35) і призначений для базування заготовок зовнішньою циліндричною поверхнею (подвійна направляюча база, опорні точки 1, 2, 3, 4) площиною (опорна база; опорна точка 5) і закріплення заготовок силами Р1 і Р2 одночасно.
Рисунок 35 – Заготовка «Вилка»
У пристосуванні (рисунок 36) заготовка опорною базою спирається на упор 1 (опорна точка 5 на рисунку 35), подвійною направляючою базою встановлюється в отвір типової змінної касети 7 (опорні точки 1, 2, 3, 4). Закріплення заготовок здійснюється за допомогою пневмоциліндру 9 , змонтованого на плиті 2, важеля 3 і качалки 4, який затискує змінну касету 7 зі встановленими в ній заготовками. Після закріплення заготовки фіксуються по опорній прихованій базі (опорна точка 6). Положення упору 1 по висоті може регулюватися за допомогою гвинта 5 і фіксуватися в необхідному положенні гвинтом 6.
Заготовки встановлюються в отвори касети 7. Включають кран пневмосистеми, яка подає стисле повітря у верхню порожнину пневмоциліндру 9, і відбувається затиск заготовок. Для знімання заготовок стисле повітря подається в нижню порожнину пневмоциліндру. Встановлення пристосування на верстаті забезпечується настановними направляючими шпонками 10, які заходять в спеціальні пази на столі верстата.
Основні технічні вимоги до розташування настановних елементів
1 Відхилення від перпендикулярності осей отворів змінної касети відносно поверхні Б не більше Т1 на довжині l1.
2 Відхилення від паралельності площини симетрії касети відносно поверхні В не більше Т2 на довжині l2.
Рисунок 36 - Чотиримісне пристосування для фрезерування
в змінних касетах заготівок вилок
ТЕМА №19 ПРИСТОСУВАННЯ ДЛЯ БАЗУВАННЯ
РЕАЛЬНИМИ ПОВЕРХНЯМИ
Чотиримісне пристосування застосовується для фрезерування пазів і призначене для базування заготовок (рисунок 37) зовнішньою циліндричною поверхнею (подвійна направляюча база; опорні точки 1, 2, 3, 4), площиною (опорна база; опорна точка 5) і для закріплення заготовки силами Р1 і Р2 одночасно.
Рисунок 37- Заготовка « Вал»
У пристосуванні (рисунок 38) заготовка подвійною направляючою базою спирається на змінну планку 1 (або на змінну планку і іншу заготівку) (опорні точки 1, 2, 3, 4 на рисунку 37), опорною базою - на упор 2 (опорна точка 5). Закріплення заготівок здійснюється від пневматичного діафрагменного приводу. Зусилля затиску від важеля приводу передається через важіль 3 і траверсу 4 на два затискача 5. Після закріплення заготовки фіксуються опорною прихованою базою (опорна точка 6).
Заготовки встановлюють на змінні планки 1 і доводять до контакту з упором 2, включають кран пневмосистеми 6 (умовно не показано) і виконують затиск заготовок. Поворотом крана в протилежну сторону здійснюють знімання заготовок.
Встановлення пристосування на верстаті забезпечується настановними направляючими шпонками 7, які заходять в спеціальні пази на столі верстата.
Основні технічні вимоги до розташування настановних елементів
1 Відхилення від паралельності поверхні Г відносно поверхні Б не більше Т1 на довжині l1.
2 Відхилення від перпендикулярності загальної осі призм змінних планок відносно поверхні В (направляючої бази пристосування) не більше Т2 на довжині l2.
Рисунок 38 - Чотиримісне пристосування для фрезерування пазів
ТЕМА №20 ПРИСТОСУВАННЯ ДЛЯ БАЗУВАННЯ
ЗАГОТОВОК РЕАЛЬНИМИ ПОВЕРХНЯМИ
І ЛІНІЯМИ СИМЕТРІЇ
В
осьмимісне
пристосування застосовується при
фрезеруванні
лисок і призначене для базування
заготовок
(рисунок 39) зовнішньою циліндричною
поверхнею (подвійна
направляюча база; опорні точки 1,
2, 3, 4 на
рисунку
39), площиною
(опорна база; опорна точка 5)
і закріплення
заготовки силою Р1.
Рисунок 39 – Заготовка «Валик»
У пристосуванні (рисунок 40) заготовка подвійною направляючою базою спирається на призму 1 (опорні точки 1, 2, 3, 4 на рисунку 39), опорною базою на палець 2 (опорна точка 5 на рисунку 39). Закріплення виконується за допомогою відкидного важеля 3, забезпеченого системою каналів з гідропластмасою і вісьма плунжерами 4. Важіль 3 сприймає зусилля від пневматичного або гідравлічного приводу важеля. Після закріплення заготовки фіксуються опорною прихованою базою (опорна точка 6 на рисунку 39).
Після установки заготовок і повороту в робоче положення відкидного важеля за допомогою рукоятки 5 повертають в зону дії важеля приводу поворотний важіль 6. Включають кран пневмо - або гідросистеми і здійснюють затиск заготовок. Знімання заготовок відбувається в зворотній послідовності. Встановлення пристосування на верстаті забезпечується настановними направляючими шпонками 7, які заходять в спеціальні пази на столі верстата.
Основні технічні вимоги до розташування настановних елементів
Відхилення від паралельності осей призм відносно поверхні А не більше Т1 на довжині l1 .
2 Відхилення від перпендикулярності осей призм відносно поверхні Б (пряма, яка сполучає центри штифтових отворів втулок 7 і 8) не більше Т2 на довжині l2 .
Відхилення від перпендикулярності осей отворів втулок 7 і 8 відносно поверхні А не більше Т3 на довжині l3 .
Рисунок 40 - Восьмимісне пристосування для фрезерування лисок
ТЕМА №21 ПРИСТОСУВАННЯ ДЛЯ БАЗУВАННЯ
ЗАГОТОВОК РЕАЛЬНИМИ ПОВЕРХНЯМИ
Двомісне пристосування застосовується при фрезеруванні торців і призначене для базування заготовок (рисунок 41) зовнішньою циліндричною поверхнею (подвійна направляюча база; опорні точки 1, 2, 3, 4 на рисунку 41), площиною (опорна база; опорна точка 5) і закріплення заготовки силами Р1 і Р2.
Рисунок 41 – Заготовка «Вісь»
У пристосуванні (рисунок 42) заготовка подвійною направляючою і опорною базою встановлюється на призму 1 (опорні точки 1,2, 3, 4 і 5 на рисунку 41). Закріплення заготовки виконується двома прихватами 2. Після закріплення заготівки фіксуються опорною прихованою базою (опорна точка 6 на рисунку 41).шести точок виконується
Після настанови заготовок включається кран пневмосистеми 5, яка монтується на корпусі 6. Під дією стислого повітря шток 4 переміщається вліво і передає зусилля затиску через важелі 3 на прихвати 2. При зворотному переміщенні штока відбувається розкріплення заготовок. Встановлення пристосування на верстаті забезпечується настановними направляючими шпонками 7, які заходять в спеціальні пази на столі верстата.
Основні технічні вимоги до розташування настановних елементів
Відхилення від паралельності осей призм відносно поверхні Б не більше Т1 на довжині l1 .
2 Відхилення від перпендикулярності осей призм відносно поверхні В не більше Т2 на довжині l2.
3 Відхилення від перпендикулярності осей призм відносно поверхні С не більше Т3 на довжині l3.
Рисунок 42 - Двомісне пристосування для фрезерування торців
ТЕМА №22 ПРИСТОСУВАННЯ ДЛЯ БАЗУВАННЯ
ЗАГОТОВКИ РЕАЛЬНИМИ ПОВЕРХНЯМИ
І ВІССЮ СИМЕТРІЇ
Пристосування застосовується при фрезеруванні валів і призначене для базування заготовки (рисунок 43) зовнішньою циліндровою поверхнею (подвійна направляюча база; опорні точки 1, 2, 3, 4), площиною (опорна база; опорна точка 5) і для закріплення заготовки силами Р1 і Р2 одночасно.
Рисунок 43 – Заготовка «Валик»
У пристосуванні (рисунок 44) заготовка подвійною направляючою базою встановлюється на дві призми 5 (опорні точки 1, 2, 3, 4 на рисунку 43) і упирається торцем в поверхню торця призми 5 (опорна точка 5 на рисунку 43). Опорна база (опорна точка 6 на рисунку 43) реалізується після закріплення заготівки.
Під дією тиску стислого повітря, що подається в штоковий простір циліндра 2, поршні з штоками 3 одночасно розходяться, повертаючи важелі 4 і здійснюючи затиск заготовки.
Пристосування компонується на столі верстата з двох однакових вузлів, кожний з яких складається з корпусу 1, настановних призм 5, двох пневмоциліндрів 2, вмонтованих в корпусі пристосування, двох штоків 3 і двох важелів 4, які здійснюють затиск заготовки. Встановлення пристосування на верстаті забезпечується настановними направляючими шпонками 6, які заходять в спеціальні пази на столі верстата і закріплюються кріпильними елементами 7.
Основні технічні вимоги до розташуванню настановних елементів
Відхилення від паралельності осей призм відносно поверхні А не більше Т1 на довжині l1.
Відхилення від паралельності осей призм відносно направляючої бази пристосування (поверхня Б) не більше Т2 на довжині l2 .
Рисунок 44 – Пристосування фрезерне для фрезерування валів
ТЕМА № 23 ПРИСТОСУВАННЯ ДЛЯ БАЗУВАННЯ ЗАГОТОВОК РЕАЛЬНИМИ ПОВЕРХНЯМИ
.
Чотиримісне пристосування застосовується при фрезеруванні лисок і призначене для базування заготовок (рисунок 45) площиною (установча база; опорні точки 1, 2, 3), зовнішньою циліндричною поверхнею (направляюча база; опорні точки 4, 5), площиною (опорна база; опорна точка 6) і для закріплення заготовки розподіленим навантаженням (сили Р1, Р2, ..., Рn).
Рисунок 45 – Заготовка «Вісь»
У пристосуванні (рисунок 46) заготовка настановною базою спирається на праву поверхню призми 1 (опорні точки 1, 2, 3 на рисунку 45), направляючою базою на ліву поверхню призми 1 (опорні точки 4, 5), опорною базою - на планку 2 (опорна точка 6). Закріплення заготовок здійснюється від пневматичного або гідравлічного силового приводу (умовно не показано) за допомогою важеля 3, траверси 4 і двох тяг 5, які передають зусилля прихватам 6.
Заготовки встановлюють в призми і доводять до контакту з планкою 2, включають кран пневмо - або гідросистеми, і відбувається затиск заготовок. Перемиканням крана в протилежну сторону заготовки звільняються. Встановлення пристосування на верстаті забезпечується настановними направляючими шпонками 7, які заходять в спеціальні пази на столі верстата і закріплюються кріпильними елементами 8.
Основні технічні вимоги до розташування настановних елементів
1 Відхилення від паралельності осей призм відносно поверхні А не більше Т1 на довжині l1.
2 Відхилення від перпендикулярності осей призм відносно поверхні Б (направляючої бази пристосування) не більше Т2 на довжині l2.
Рисунок 46 - Чотиримісне пристосування для фрезерування лисок
ТЕМА №24 ПРИСТОСУВАННЯ ДЛЯ БАЗУВАННЯ ЗАГОТОВКИ
ТИПУ ВАЛІВ ПО ЦЕНТРОВИМ ОТВОРАМ
Пристосування застосовується при фрезеруванні шпонкових пазів, лисок уступів в деталі типу вал (рисунок 47) і призначене для базування заготовки двома центровими отворами: ліва конічна поверхня (установча центруюча база - опорні точки 1,2,3) і права конічна поверхня (центруюча поверхня - опорні точки 4,5); площиною (опорна база, опорна точка 6), якою заготовка базується на направляючу втулку переднього центру і закріплення заготовки силою Р.
Рисунок 47– Заготовка « Вал»
У пристосуванні (рисунок 48) заготовка кладеться на призми 8 і 9, настановною базою (опорні точки 1,2,3 ) встановлюється на передній плаваючий центр 4, який закріплений на передній стійці 2, площиною (опорна база, опорна точка 6), якою заготовка базується на направляючу втулку переднього центру.
При увімкненні пневмоприводу 6, тяга 5, яка з’єднана зі штоком починає поступально рухатися і передавати рух задньому центру 7, який затискує деталь (опорні точки 4, 5). Задній центр 7 закріплений на задній стійці 3. Передня 2 і задня 3 стійки з призмами 8 і 9 закріплені на корпусі 1 пристосування. Для знімання заготовки перемикають кран, шток відходить в крайнє положення і здійснюється розтиск заготовки. Встановлення пристосування на верстаті забезпечується настановними направляючими шпонками 10, які заходять в спеціальні пази на столі верстата і закріплюються кріпильними елементами 11.
Основні технічні вимоги до розташування настановних елементів
Відхилення від співвісності центрів відносно загальної осі не більше Т на довжині l.
Рисунок 48 - Пристосування застосовується при фрезеруванні
шпонкових пазів, лисок уступів в деталі типу вал
ТЕМА № 25 ПРИСТОСУВАННЯ ДЛЯ БАЗУВАННЯ ЗАГОТОВКИ
ТИПУ ВАЛІВ ПО ЦЕНТРОВИМ ОТВОРАМ
Пристосування застосовується при фрезеруванні шпонкових пазів, лисок уступів в деталі типу вал (рисунок 49) і призначене для базування заготовки двома центровими отворами: ліва конічна поверхня (установча центруюча база - опорні точки 1,2,3) і права конічна поверхня (центруюча поверхня - опорні точки 4,5); площиною (опорна база, опорна точка 6), якою заготовка базується на направляючу втулку переднього центру і закріплення заготовки силою Р.
Рисунок 49– Заготовка « Вал»
У пристосуванні (рисунок 50) заготовку встановлюють на кронштейни 7 і 8, настановною базою (опорні точки 1,2,3 ) притискують на передній жорсткий центр 3, який закріплений на передній стійці 2, площиною (опорна база, опорна точка 6), якою заготовка базується на направляючу втулку переднього центру 3.
При увімкненні пневмоприводу 6, тяга, яка з’єднана зі штоком починає поступально рухатися і передавати рух задньому центру 5, який затискує деталь (опорні точки 4, 5). Задній центр 5 закріплений на корпусі задньої бабки 4. Передня 2 і задня стійка 4 закріплені на плиті 1 пристосування. Для знімання заготовки перемикають кран, шток відходить в крайнє положення і здійснюється розтиск заготовки. Встановлення пристосування на верстаті забезпечується настановними направляючими шпонками 9,
Основні технічні вимоги до розташування настановних елементів
Відхилення від співвісності центрів відносно загальної осі не більше Т на довжині l.
Рисунок 50 - Пристосування застосовується при фрезеруванні
шпонкових пазів, лисок, уступів в деталі типу вал
ТЕМА № 26 ПРИСТОСУВАННЯ ДЛЯ БАЗУВАННЯ
ЗАГОТОВКИ РЕАЛЬНИМИ ПОВЕРХНЯМИ
Пристосування застосовується при фрезеруванні валів і призначене для базування заготовки (рисунок 51) зовнішньою циліндровою поверхнею (подвійна направляюча база; опорні точки 1, 2, 3, 4), площиною (опорна база; опорна точка 5) і для закріплення заготовки силами Р1 і Р2 одночасно.
Рисунок 51 – Заготовка «Валик»
Пристосування (рисунок 52) складається з двох однакових затискних вузлів, які залежно від довжини встановлюваного валу можуть бути закріплені на столі фрезерного верстата на різній відстані. В корпусі 1 вузла знаходиться пневмокамера 8. Шток 2 поршня віссю 3 шарнірно сполучений з двома однаковими важелями 4, на яких за допомогою осей 5 встановлені ролики 6. До корпусу приварені дві планки 7, площини Б і В які точно оброблені і утворюють призму, симетрично розташовану щодо осі штока. У контакті з поверхнями призми знаходяться ролики 6.
Перед установкою деталі повітря подається в нижні порожнини циліндрів. При цьому поршні займають верхнє положення, а важелі розлучаються. Деталь укладається на площині А так, щоб циліндрові шийки поміщалися між роликами. При подачі повітря у верхні порожнини циліндрів важелі з роликами переміщатимуться вниз до упору роликів в поверхню деталі, після чого відбудеться її центрування і затиск. Точність центрування залежить від точності обробки поверхонь Б і В .
Пристосування дозволяє підвищити точність базування деталей і скоротити час на установку і закріплення.
Основні технічні вимоги до розташування настановних елементів
Відхилення від паралельності осей призм відносно поверхні А не більше Т1 на довжині l1.
Рисунок 52 - Пневматичне пристосування для закріплення
деталей типу «вал»
ТЕМА №27 ПРИСТОСУВАННЯ ДЛЯ БАЗУВАННЯ
ЗАГОТОВКИ РЕАЛЬНИМИ ПОВЕРХНЯМИ
Пристосування застосовується при фрезеруванні пазів лисок і призначене для базування заготовки (рисунок 53) зовнішньою циліндричною поверхнею (подвійна направляюча база; опорні точки 1, 2, 3, 4), площиною (опорна база; опорна точка 5) і для закріплення заготовки силою Р.
Рисунок 53 - Схема базування деталі
Дане пристосування (рисунок 54) працює наступним чином. Деталь встановлюють на призми 2, 3 (опорні точки 1, 2, 3, 4 на рисунку 53), які закріплені на корпусі 1 пристосування і притискують торцем валу до опори 4 (опорна точка 5). Потім вмикають пневмопривод 8, що з’єднаний з повітропроводом 9. Після увімкнення пневмоприводу 8, шток 7 розпочинає поступально рухатися вниз, і відповідно тягнучи за собою важіль 5, який притискає деталь до призм 2, 3. Важіль 5 рухомо закріплений на стійці 6. Після закріплення заготовка фіксується опорною прихованою базою (опорна точка 6 ).
Після обробки зняття деталі здійснюється в зворотній послідовності, потім встановлюється нова заготовка і цикл обробки повторюється.
Дане пристосування займає горизонтальне положення і кріпиться на столі верстата за допомогою настановних шпонок 10 та болтів 11.
Основні технічні вимоги до розташування настановних елементів
Відхилення від паралельності осей призм відносно поверхні Б не більше Т1 на довжині l1.
Відхилення від паралельності осей призм відносно поверхні В не більше Т2 на довжині l2.
Рисунок 54 - Пристосування для фрезерування шпонкових пазів,
лисок деталі типу вал
ТЕМА №28 ПРИСТОСУВАННЯ ДЛЯ БАЗУВАННЯ
ЗАГОТОВКИ РЕАЛЬНИМИ ПОВЕРХНЯМИ
Пристосування застосовується при фрезеруванні пазів, лисок, уступів у деталі типу вал і призначене для базування заготовки (рисунок 55) зовнішньою циліндричною поверхнею (подвійна направляюча база; опорні точки 1, 2, 3, 4), площиною (опорна база; опорна точка 5) і для закріплення заготовки силою Р.
Рисунок 55 - Схема базування деталі
Дане пристосування працює наступним чином.
В пристосуванні (рисунок 56) заготовка встановлюється на дві призми 4 зовнішньою циліндричною поверхнею (подвійна направляюча база; опорні точки 1, 2, 3, 4), площиною (торцем) упирається на стійку 5 (опорна база; опорна точка 5). Опорна прихована база (опорна точка 6) реалізується після закріплення заготівки. Після увімкнення пневмоприводу 2, поршень 7 рухається в своє крайнє верхнє положення, передаючи рух на задню частину важеля 3, що і забезпечує закріплення заготовки. Важіль жорстко закріплений на опорі 6. Після проведення циклу обробки, деталь знімають в зворотному порядку, важіль повертається в початкове положення за рахунок пружини 8, та поршня 7 пристосування. Встановлюється інша заготовка і цикл обробки повторюється.
Швидке встановлення пристосування на верстаті забезпечується установочними шпонками 9, які заходять в спеціальні пази на столі верстата. А закріплення пристосування на столі верстата здійснюється за допомогою спеціальних болтів 11, які заходять в канавки на столі верстата і в провушини корпусу 1 пристосування.
Основні технічні вимоги до розташуванню настановних елементів
Відхилення від паралельності осей призм відносно поверхні А не більше Т1 на довжині l1.
Відхилення від паралельності осей призм відносно направляючої бази пристосування (поверхня Б) не більше Т2 на довжині l2 .
Рисунок 56 - Пристосування застосовується при фрезеруванні
шпонкових пазів, лисок ,уступів в деталі типу вал
ТЕМА № 29 ПРИСТОСУВАННЯ ДЛЯ БАЗУВАННЯ ЗАГОТОВКИ ТИПУ ВАЛІВ ПО ЦЕНТРОВИМ
ОТВОРАМ
Дане пристосування з ділильним механізмом використовується для фрезерування поверхні квадратного хвостовика валика в деталі типу вал (рисунок 57) і призначене для базування заготовки двома центровими отворами: ліва конічна поверхня (установча центруюча база - опорні точки 1, 2, 3) і права конічна поверхня (центруюча поверхня - опорні точки 4, 5); зовнішньою циліндричною поверхнею (опорна база, опорна точка 6), і закріплення заготовки силою Р.
Рисунок 57 - Схема базування деталі
Пристосування (рисунок 58)складається із корпусу 1, на якому розміщені деталі ділильного механізму 2; стійки передньої з плаваючим центром 6; корпусу заднього з рухомим центром 9 Який зв’язаний з тягою 10 і штоком 11 пневмоприводу 12.
Оброблювана деталь встановлюється між двома центрами, один з яких -6 – плаваючий (опорні точки 1, 2, 3) , а 9 – рухомий (опорні точки 4, 5). Для запобігання обертанню навколо своєї осі заготовка зовнішньою циліндричною поверхнею (опорна точка 6) стопориться гвинтом 8 в шпинделі 7.
При увімкненні пневмоприводу 12, тяга 10, яка з’єднана зі штоком 11 пневмоприводу 12 починає поступально рухатися і передавати рух задньому центру 9, який затискує деталь. Після фрезерування одної сторони квадрата, ділильний механізм звільняється обертом рукоятки 13, при цьому фіксатор 3 відводиться від втулки 4. Послабивши гайку 5 провертається шпиндель 7 разом з заготовкою на 90.
Обертом рукоятки 13 затискується ділильний механізм. Проводиться фрезерування наступної сторони квадрата.
Для знімання заготовки перемикають кран, шток відходить в крайнє положення і здійснюється розтиск заготовки.
Дане пристосування кріпиться на столі верстата в горизонтальному положенні за допомогою настановних шпонок 14, і настановних болтів 15, що заходять в провушини корпусу 1 пристосування.
Основні технічні вимоги до розташування настановних елементів
1 Відхилення від співвісності центрів відносно загальної осі не більше Т1 на довжині l1.
2 Відхилення від паралельності і поверхні відносно поверхні А не більше Т2 на довжині l2 .
Рисунок 58 - Пристосування для фрезерування поверхні квадратного хвостовика валика в деталі типу вал
ТЕМА № 30 ПРИСТОСУВАННЯ ДЛЯ БАЗУВАННЯ ЗАГОТОВКИ ТИПУ ВАЛІВ РЕАЛЬНИМИ
ПОВЕРХНЯМИ І ВІССЮ СИМЕТРІЇ
Пристосування застосовується при фрезеруванні пазів, шпонок, лисок і призначене для базування заготовок (рисунок 59) зовнішньою циліндричною поверхнею (подвійна направляюча база; опорні точки 1, 2, 3, 4), площиною (опорна база; опорна точка 5) і закріплення заготовки силою Р.
Рисунок 59 - Схема базування деталі
В пристосуванні (рисунок 60) заготовка встановлюється на дві призми 2 зовнішньою циліндричною поверхнею (подвійна направляюча база; опорні точки 1, 2, 3, 4), площиною (торцем) упирається в упор 6 (опорна база; опорна точка 5). Опорна прихована база (опорна точка 6) реалізується після закріплення заготовки.
При подачі стисненого повітря в штокову порожнину пневмокамери 7, шток з діафрагмою 1 і тягою 3 під тиском повітря опускається вниз і за допомогою прихвату 4, який своїм торцем упирається в стійку 5, деталь притискається до призм 2. Після закінчення фрезерування пазів повітря подається в безштокову порожнину за допомогою рукоятки 8 на пневмосистемі 9, шток 1 з тягою 3 і прихватом 4 підіймається вверх і звільнює деталь.
Дане пристосування кріпиться на столі верстата в горизонтальному положенні за допомогою установочних шпонок 10, і настановних болтів 11, що заходять в провушини корпусу 12 пристосування.
Основні технічні вимоги до розташуванню настановних елементів
1 Відхилення від паралельності осей призм відносно поверхні А не більше Т1 на довжині l1.
2 Відхилення від паралельності осей призм відносно направляючої бази пристосування (поверхня Б) не більше Т2 на довжині l2 .
Рисунок 60 – Пристосування для фрезерування пазів, лисок, шпонок
ТЕМА №31 ПРИСТОСУВАННЯ ДЛЯ БАЗУВАННЯ
ЗАГОТОВОК РЕАЛЬНИМИ ПОВЕРХНЯМИ
Пристосування застосовується для фрезерування пазів і призначене для базування заготівок (рисунок 61) зовнішньою циліндричною поверхнею (подвійна направляюча база; опорні точки 1, 2, 3, 4), торцевою зовнішньою поверхнею (опорна база; опорна точка 5) і для закріплення заготівки силою Р.
Опорна база (опорна точка 6 на рисунку 61) реалізується після закріплення заготівки.
Рисунок 61 – Заготівка «Вал»
В пристосуванні (рисунок 62) заготовки встановлюються на чотири призми 5 зовнішньою циліндричною поверхнею (подвійна направляюча база; опорні точки 1,2,3,4), площиною (торцем) упирається на стійку 6 (опорна база; опорна точка 5) і опору 6. Опорна прихована база (опорна точка 6) реалізується після закріплення заготівки. Після увімкнення пневмоприводу 2, шток 3 розпочинає поступально рухатися вниз, передаючи рух на середню частину важеля 4, який притискає деталь до призм 4 і забезпечує затиск заготовок. Для того, щоб зняти деталь після закінчення обробки, стисле повітря за допомогою рукоятки на пневмосистемі 7 випускається через отвір штуцера, шток разом з важелем підіймається вверх і деталі звільняються. Встановлюється інші заготовки і цикл обробки повторюється.
Швидке встановлення пристосування на верстаті забезпечується настановними шпонками 8, які заходять в спеціальні пази на столі верстата. А закріплення пристосування на столі верстата здійснюється за допомогою спеціальних болтів 9, які заходять в канавки на столі верстата і в провушини корпусу 1 пристосування.
Рисунок 62 - Пристосування застосовується при фрезеруванні шпонкових пазів, лисок ,уступів в деталі типу вал
ТЕМА №32 ПРИСТОСУВАННЯ ДЛЯ БАЗУВАННЯ
РЕАЛЬНИМИ ПОВЕРХНЯМИ
Пристосування застосовується при фрезеруванні шпонкових пазів, лисок, уступів в деталі типу вал і призначене для базування заготівки (рисунок 63) зовнішньою циліндричною поверхнею (подвійна направляюча база; опорні точки 1, 2, 3, 4), площиною (опорна база; опорна точка 5) і для закріплення заготівки силою Р (опорна точка 6 реалізується після закріплення заготовки.
Рисунок 63 – Заготівка « Вал»
Пристосування (рисунок 64) складається із пневмоприводу 1, корпусу, 2 на якому розташовані настанови 3 та 7 зі змінними призмами, упор 4, тяга 6, яка з’єднана зі штоком пневмоприводу, важіль 7.
Принцип роботи пристосування полягає в наступному: деталь встановлюється на установи 3 та 7 до упору 4. Потім вмикають пневмопривод 1, шток, який з’єднаний з тягою 6, поступально рухається і передає переміщення важелю 5, який притискає заготовку до змінного настанова.
Після обробки зняття деталі здійснюється в зворотній послідовності, потім встановлюється нова заготовка і цикл обробки повторюється.
Встановлення пристосування на верстаті забезпечується настановними шпонками 8, а закріплення пристосування на столі верстата здійснюється за допомогою спеціальних болтів, які заходять в канавки на столі верстата і в провушини корпусу 2 пристосування.
Рисунок 64 - Пристосування застосовується при фрезеруванні шпонкових пазів, лисок ,уступів в деталі типу вал
