- •Учебно-методическое пособие Самара 2003
- •Цель работы
- •Задание
- •Технологический процесс изготовления отливки в разовых песчаных формах Теоретические основы
- •Технологические возможности способов литья
- •Нормы определения серийности производства отливок из чугуна и стали
- •Особенности формирования точности размеров, формы и расположения поверхностей отливки
- •Основные этапы проектирования технологии изготовления отливок
- •1. Анализ чертежа детали на соответствие требованиям литейной технологии
- •2. Выбор способа формовки
- •3. Разработка чертежа элеменов литейной формы
- •Нормы точности отливки и ряд припусков на механообработку
- •Определение припусков на обработку, размеров и массы отливки
- •Минимальные литейные припуски на сторону, мм
- •Высота вертикальных знаков (для всех видов форм), мм
- •Уклоны знаков моделей и стержневых ящиков
- •Зазоры между знаком формы и стержнем, мм
- •Формовочные уклоны и радиусы закруглений
- •Питатели и шлакоуловители обычно выполняют в форме трапеции, обращенной большим основанием к разъёму формы.
- •Конструкции прибылей и формулы для расчета
- •Технические требования на изготовление отливки
- •5. Определение стоимости отливок
- •Пример выполнения работы
- •Карта проектирования техпроцесса
- •Разработка чертежа элементов литейной формы
- •Определение допусков, припусков и размеров отливки
- •Р и с. 21. Чертеж элементов литейной формы
- •Суммарная площадь поперечного сечения питателей
- •Определение допусков, припусков и размеров отливки
- •Контрольные вопросы
- •Приложение 2
- •Допуски линейных размеров отливок
- •Допуски формы и расположения поверхностей отливок
- •Общие допуски элементов отливок, мм
- •Приложение 3
- •Влияние погрешностей размеров детали и отливки на выбор метода окончательной механической обработки
- •Влияние погрешностей формы и расположения поверхностей детали и отливки на выбор метода окончательной
- •Общие припуски на сторону, соответствующие виду окончательной механической обработки поверхности отливки
- •Приложение 4
- •Основные свойства литейных сплавов
- •Приложение 5
- •Приложение 6
- •В разовых песчаных формах
Нормы определения серийности производства отливок из чугуна и стали
Распределение отливок по массе, кг |
Годовой выпуск отливок одного наименования, шт. |
||||
единичное, не более |
мелкосерийное |
серийное |
крупносерийное |
массовое |
|
До 20 |
300 |
300-3000 |
3000-35000 |
35000-200000 |
>200000 |
Свыше 20 до 100 |
150 |
150-2000 |
2000-15000 |
15000-100000 |
>100000 |
>> 100 до 500 |
75 |
75-1000 |
1000-6000 |
6000-40000 |
>40000 |
>> 500 до 1000 |
50 |
50-600 |
600-3000 |
3000-20000 |
>20000 |
Особенности формирования точности размеров, формы и расположения поверхностей отливки
Причины возникновения погрешностей размеров отливок многообразны. Однако процесс их формирования является идентичным для всех способов литья, поскольку сами погрешности размеров формируются на всех этапах получения отливки: изготовление модельно-стержневой оснастки; изготовление полуформ и стержней; сборка литейных форм и стержней; взаимодействие отливки и формы с момента заливки до момента выбивки; выбивка форм; финишные операции и термообработка отливок.
При изготовлении отливки формирование погрешностей её различных поверхностей взаимосвязано, поскольку используется один инструмент - литейная форма. Однако необходимо учитывать, что различные размеры отливки имеют неодинаковую точность [4].
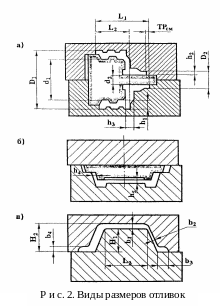
У
всех отливок, изготавливаемых различными
способами литья, имеются размеры,
пересекающие плоскость разъёма модели
и формы и выходящие на плоскость разъёма
(размеры D1,
D2,
L1,
L2,
b3,
b4
на рис.2а,б,в). Именно точность таких
размеров отражается в общей надписи на
чертежах в соответствии с ГОСТ 26645-85.
Присвоим этому виду размеров обозначение
ВР 2
(В-вид, Р - размер).
Точность размеров, образованных одной полуформой или одним стержнем (обозначение ВР1), на один-два класса точнее размеров ВР2 (на рис.2а,б размеры ВР1 – d1, d2, H1, L3).
Точность размеров, образованных тремя и более частями формы, несколькими стержнями или подвижными элементами формы, а также толщин стенок (обозначение ВР3), на один-два класса грубее размеров ВР2 (на рис.2а,б,в размеры ВР3 – h1, h2, h3, h4, h5, b1, b2).
Термины и определения допусков формы и расположения поверхностей приведены в ГОСТ 24642-81. К отклонениям формы поверхностей относят отклонения от прямолинейности, плоскостности, от заданного криволинейного профиля, от заданной криволинейной поверхности, а также отклонения от цилиндричности и круглости. К отклонениям расположения относятся отклонения параллельности, перпендикулярности, соосности, симметричности, позиционное отклонение и отклонение от пересечения осей.
О
сновной
причиной возникновения погрешностей
формы является коробление
отливок в процессе охлаждения в литейной
форме и после выбивки из-за неоднородности
температур по несимметричному сечению
или из-за разностенности, вследствие
которых в отливке возникают неоднородные
напряжения и неоднородные пластические
деформации. При этом коробление, например,
бруса постоянного сечения при заданном
распределении (разности) температур
обратно пропорционально высоте сечения
и прямо пропорционально длине сечения,
а форма сечения не влияет на искривление.
Другой причиной возникновения погрешностей формы в отливках является искривление отливок в процессе термообработки, которое происходит вследствие снятия неоднородных по сечению отливки остаточных напряжений, неоднородного протекания фазовых превращений при термообработке и пластических деформаций изгиба под действием собственной силы тяжести и силы тяжести других отливок при неправильной их укладке.
Контроль коробления производят путем измерения стрелы прогиба f по схеме, приведенной на рис. 3.
а) б)
Р и с. 3. Схемы коробления фланца (а) и цилиндра (б) отливки
Наиболее характерным отклонением расположения в отливках является смещение по плоскости разъёма. Наибольшие величины смещения наблюдаются при изготовлении песчано - глинистых форм по модельным плитам верха и низа. Допуск смещения по плоскости разъёма отливки равен разности между предельными отклонениями положений частей отливки, формируемых в разных полуформах, от номинального положения: Тсм = Dmax – Dmin (рис. 4).
Р и с. 4. Схема контроля допуска смещения
П
римером
позиционного допуска может служить
допуск расположения осей отверстий
относительно баз механической обработки,
а также позиционный допуск при обработке
внутренней поверхности (рис.5).
В первом случае позиционный допуск размеров определяется как вероятностная сумма половин допусков на расстояния L1 и L2 от баз 1 и 2 до оси обрабатываемого отверстия:
.
Во
втором случае позиционный допуск
определяется половиной допуска на
наружный диаметр отливки, т.е.
.
При обработке наружного диаметра
относительно внутренней базовой
поверхности позиционный допуск будет
равен половине допуска на внутренний
диаметр, т.е.
.
