Лабораторна робота №1
Тема роботи: Вивчення будови та принципу дії високовольтного вимикача ВКЭ-10.
Мета роботи: ознайомитися з технічними характеристиками, будовою та принципом дії високовольтного малооб’ємного оливного вимикача ВКЭ-10.
1. Теоретичні відомості
Технічні характеристики:
Назва параметру |
Значення параметру |
1.1. Номінальна напруга, кВ |
10; 11 |
1.2.Номінальна сила струму, А: для виконання У2: - при частоті 50 Гц - при частоті 60 Гц для виконання Т3: - при частоті 50 Гц - при частоті 60 Гц |
630; 1000; 1600 630; 1000; 1250
630; 1250 630; 1000 |
1.3.Номінальна сила струму вимкнення, кА: - при частоті 50 Гц - при частоті 60 Гц |
20; 31,5 16; 25 |
1.4.Нормовані параметри сили струму ввімкнення, кА: - найбільший пік - початкове діюче значення періодичної складової |
52; 80 20; 31,5 |
1.5.Нормовані параметри наскрізного струму короткого замикання: - найбільший пік (сила струму електродинамічної стійкості), кА - початкове діюче значення періодичної складової, кА - середньоквадратичне значення струму за час протікання (сила струму термічної стійкості), кА - час протікання струму (час короткого замикання), с |
52; 80 20; 31,5
20; 31,5 3 |
1.6.Нормована безструмова пауза при АПВ, с |
0,3 |
1.7.Нормований власний час вимкнення вимикача, с, не більше |
0,07 |
1.8.Нормований повний час вимкнення вимикача, с, не більше |
0,095 |
1.9.Нормований власний час ввімкнення вимикача, c, не більше |
0,3 |
1.10. Номінальна напруга постійного струму електромагнітів ввімкнення (YAC) і вимкнення (YAT), В |
110; 220 |
1.11. Сила струму споживання обмоток електромагнітів, А, не більше: вмикаючого: - при 110 В - при 220 В вимикаючого: - при 110 В - при 220 В |
200 100
5 2,5 |
1.12. Діапазон робочої напруги на затискачах електромагнітів (у відсотках від номінальної напруги) : вмикаючого: - на 20 кА - на 31,5 кА вимикаючого |
80...110 85...110 70...110 |
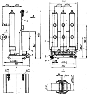
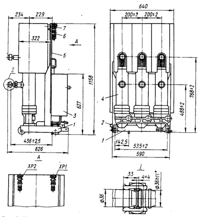
1.13. Габаритні розміри, мм: - висота - ширина - глибина |
1158 640 626 |
1.14. Маса вимикача без оливи, кг |
174...195 |
1.15. Маса оливи, кг |
12 |
Конструктивне виконання та принцип дії. Вимикачі відносяться до рідинних оливних вимикачів з малим об'ємом дугогасної рідини (трансформаторної оливи). Вони призначені для комутації високовольтних кіл трифазного змінного струму в номінальному режимі роботи установки, а також для автоматичного вимкнення цих кіл при коротких замиканнях і перевантаженнях, що виникають при аварійних режимах.
Принцип дії вимикачів заснований на гасінні електричної дуги, що виникає при розмиканні контактів потоком газооливної суміші, яка утворюється в результаті інтенсивного розкладання трансформаторної оливи під дією високої температури дуги. Цей потік отримує певний напрям в спеціальному дугогасному пристрої, розміщеному в зоні горіння дуги.
Керування вимикачем здійснюється електромагнітним приводом постійного струму. При цьому оперативне вимкнення здійснюється вмикаючимелектромагнітом, вимкнення — вимикаючою пружиною самого вимикача.
Конструктивне виконання вимикача. Вимикач складається з таких основних частин (рис. 1, 2): основи 1; трьох полюсів 4; електромагнітного приводу 3 (габаритні, монтажні і приєднувальні розміри приводу наведені на рис. 3); фасадної перегородки 5; штепсельних роз'ємів 6; ізоляційного кожуха 7 (рис. 2) для вимикачів на номінальну силу струму 630, 1000 А, а також на 1250, 1600 А; пластини 2 (рис. 1 і 2) для підйому шторковогомеханізму в КРП.
Рис. 1 – Габаритні, монтажні та приєднувальні розміри вимикачів ВКЭ-10 на номінальну силу струму 630, 1000 А
(Івимк.ном=.20 кА)
Рис. 2 – Габаритні, монтажні і приєднувальні розміри
