- •Контрольное тестовое задание Вариант 1
- •5. Характер изменения параметров тнвд при неизменном положении рейки и уменьшении частоты вращения кулачкового вала:
- •Контрольное тестовое задание Вариант 2
- •1. Соответствие:
- •Масса снаряженного транспортного средства с грузом и пассажирами, установленная предприятием-изготовителем в качестве максимально допустимой
- •2. Причины закоксовывания поршневых колец:
- •3 . Свеча, которая более других подвержена...
- •4. Причины вытекания масла из коробки передач:
- •5. Характер изменения параметров тнвд при неизменной частоте вращения кулачкового вала и увеличении хода рейки:
- •Контрольное тестовое задание Вариант 4
- •Контрольное тестовое задание Вариант 5
- •1. Целью крэш-тестов является оценка:
- •2. Последовательность протекания событий при пуске холодного двигателя: _____, _____, _____, _____.
- •3. Регулятор напряжения неисправен, если:
- •4. Неисправности гидросистемы из-за которых навесная машина или орудие не поднимается:
- •5. Контрольный параметр форсунки, оцениваемый по подтеканию топлива через сопла её распылителя за заданный промежуток времени:
- •Контрольное тестовое задание Вариант 6
- •1. Соответствие:
- •3. Признаки, по которым можно обнаружить небольшую утечку газа в системе питания двс:
- •5. Угол между осью профиля кулачка и осью плунжера в момент начала подъема иглы распылителя – это угол:
- •Контрольное тестовое задание Вариант 8
- •1 . Позиция рисунка, которой обозначены …
- •3. Проверка работоспособности аккумуляторной батареи под нагрузкой проводится с использованием:
- •4. Для расширения диапазона передаточных чисел и увеличения числа ступеней трансмиссии используют:
- •5. Характеристика двигателя постоянной мощности достигается:
- •Контрольное тестовое задание Вариант 9
- •2. _________________ Системы охлаждения некоторых моделей двигателей приводится в действие электромагнитной муфтой.
- •3. Положение шестерен раздаточной коробки:
- •4. Функциональное назначение системы обеспечения курсовой устойчивости автомобиля:
- •5. Аналитическое выражение скоростной характеристики двигателя внутреннего сгорания имеет вид:
- •Контрольное тестовое задание Вариант 10
- •Контрольное тестовое задание Вариант 11
- •Контрольное тестовое задание Вариант 12
- •Контрольное тестовое задание Вариант 13
- •5. Характеристика дизельного двигателя изменилась по причине (исходная – тонкие линии):
- •Контрольное тестовое задание Вариант 14
- •1. Установка поршней некоторых двигателей на середину цилиндров перед монтажом головки блока выполняется с целью:
- •Контрольное тестовое задание Вариант 15
- •1. Особенности конструкции грм, соответствующие системе dohc:
- •Контрольное тестовое задание Вариант 16
- •Контрольное тестовое задание вариант 17
- •Характеристика тнвд
- •Условия получения
- •Контрольное тестовое задание Вариант 18
- •Контрольное тестовое задание Вариант 19
- •Контрольное тестовое задание Вариант 20
- •5. Параметры топлива, соответствующие стандартным условиям испытания двигателей:
- •Контрольное тестовое задание Вариант 21
- •Контрольное тестовое задание вариант 22
- •Контрольное тестовое задание
- •Контрольное тестовое задание Вариант 24
- •Тип характеристики двигателя
- •Определение
МИНИСТЕРСТВО СЕЛЬСКОГО ХОЗЯЙСТВА РОССИЙСКОЙ ФЕДЕРАЦИИ
Департамент научно-технологической политики и образования
Федеральное государственное образовательное учреждение высшего профессионального образования
«КРАСНОЯРСКИЙ ГОСУДАРСТВЕННЫЙ АГРАРНЫЙ УНИВЕРСИТЕТ»
Утверждаю ______________Предс. аттестац. комиссии Для бакалавров направления: 110.300.62
Дисциплина: «Тракторы и автомобили»
Контрольное тестовое задание Вариант 1
1. Последовательность расположения позиций в структуре условного обозначения автомобиля:
_____, _____, _____, _____, _____, _____
6
2
10
4
5
КамАЗ
Рис. 1. Структура условного обозначения автомобиля
сокращённое название завода изготовителя
модификация
вид эксплуатационного назначения
знак экспортного варианта
класс автомобиля
регистрационный номер модели
2. Если в третьем цилиндре четырехцилиндрового рядного двигателя происходит такт впуск, то в это же время в четвертом цилиндре - такт ________________.
3. Частота вращения независимого вала отбора мощности определяется:
скоростным режимом двигателя
скоростным режимом машинно-тракторного агрегата
положением муфты сцепления
положением механизма навески трактора
4. Очерёдность действий водителя автомобиля при начале движения:
_____, _____, _____, _____, _____, _____, _____.
отпустить рычаг стояночного тормоза
оценить показания контрольно-измерительных приборов
включить подрулевым переключателем световой указатель поворота
выключить муфту сцепления
застегнуть ремень безопасности
включить в коробке передач первую передачу
плавно отпустить педаль привода муфты сцепления, одновременно нажимая на акселератор
5. Характер изменения параметров тнвд при неизменном положении рейки и уменьшении частоты вращения кулачкового вала:
цикловая подача повышается, степень неравномерности подачи снижается
цикловая подача снижается, степень неравномерности подачи повышается
цикловая подача повышается, степень неравномерности подачи повышаются
цикловая подача снижаются, степень неравномерности подачи снижается
Составитель: доцент каф. «Тракторы и автомобили» К.В. Филимонов |
Согласовано: заведующий каф. «Тракторы и автомобили» Н.И. Селиванов |
МИНИСТЕРСТВО СЕЛЬСКОГО ХОЗЯЙСТВА РОССИЙСКОЙ ФЕДЕРАЦИИ
Департамент научно-технологической политики и образования
Федеральное государственное образовательное учреждение высшего профессионального образования
«КРАСНОЯРСКИЙ ГОСУДАРСТВЕННЫЙ АГРАРНЫЙ УНИВЕРСИТЕТ»
Утверждаю ______________Предс. аттестац. комиссии Для бакалавров направления: 110.300.62
Дисциплина: «Тракторы и автомобили»
Контрольное тестовое задание Вариант 2
1. Основным классификационным признаком грузовых автомобилей является:
грузоподъёмность
рабочий объём двигателя
полная масса
снаряженная масса
2. Если давление в конце такта сжатия в цилиндре, заполненном 20…30 см3 моторного масла, не увеличится, то наиболее вероятными причинами низкой компрессии являются:
неплотное прилегание клапанов к сёдлам
повреждение прокладки между головкой и блоком
износ поршневых колец и гильз
снижение степени сжатия
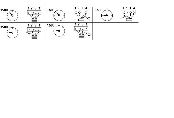
3. Неисправна свеча или провод высокого напряжения цилиндра № ____.
Рис. 1. Проверка исправности элементов системы зажигания
4. С увеличением передаточного числа трансмиссии:
ведущий момент повышается, скорость автомобиля снижается
ведущий момент снижается, скорость автомобиля повышается
ведущий момент повышается, скорость автомобиля повышаются
ведущий момент снижается, скорость автомобиля снижаются
5. Контрольный параметр форсунки, оцениваемый продолжительностью снижения давления в замкнутой системе форсунка-прибор КИ-3333:
герметичность запирающих конусов
гидравлическая плотность
пропускная способность
неравномерность подачи топлива
Составитель: доцент каф. «Тракторы и автомобили» К.В. Филимонов |
Согласовано: заведующий каф. «Тракторы и автомобили» Н.И. Селиванов |
МИНИСТЕРСТВО СЕЛЬСКОГО ХОЗЯЙСТВА РОССИЙСКОЙ ФЕДЕРАЦИИ
Департамент научно-технологической политики и образования
Федеральное государственное образовательное учреждение высшего профессионального образования
«КРАСНОЯРСКИЙ ГОСУДАРСТВЕННЫЙ АГРАРНЫЙ УНИВЕРСИТЕТ»
Утверждаю ______________Предс. аттестац. комиссии Для бакалавров направления: 110.300.62
Дисциплина: «Тракторы и автомобили»
Контрольное тестовое задание
Вариант 3
