- •1. Технічне завдання
- •2. Вибір схеми перетворювача
- •3. Проектування автономного інвертора напруги
- •4. Вибір схеми та розрахунок параметрів випрямляча
- •4.1. Вибір схеми випрямляча
- •4.2. Вибір та розрахунок параметрів силового трансформатора.
- •4.3.Визначення параметрів тиристорів
- •4.4 Розрахунок параметрів силового контуру керованого випрямляча
- •5. Розрахунок параметрiв фiльтра
- •6.Вибір елементів захисту перетворювача частоти.
- •6.1. Вибір атоматичного вимикача.
- •6.2. Вибір плавких запобіжників.
- •6.3. Захист від перенапруг.
- •7. Аналіз роботи автономного інвертора напруги та розрахунок графіків миттєвих значень струму в установленому режимі для заданої частоти.
- •7.1 Опис роботи автономного інвертора напруги.
- •Мал. 6 Діаграми провідного стану транзисторів і формування
- •7.2 Розрахунок митєвих значень струму для заданої частоти
- •8.Аналіз роботи силової частини керованого випрямляча.
- •8.1. Побудова зовнішньої характеристики в режимі випрямлення
- •8.2 Побудова зовнішньої характеристики в режимі інвертора
- •9.Анализ функцінування систем керування випрямлячем та автономним інвертором напруги.
ЗМІСТ
Вступ...................................................................................................................3
Технічне завдання………………………………………….……..........……..4
Вибір схеми перетворювача..............................................................................4
Проектування автономного інвертора напруги...............................................5
Вибір схеми та розрахунок параметрів випрямляча.......................................9
Вибір схеми випрямляча…………………………………..…………...9
Вибір силового трансформатора………………………………….…10
Визначення параметрів тиристорів керованого випрямляча………12
Розрахунок параметрів силового контуру керованого випрямляча.14
Розрахунок параметрів фільтра.......................................................................16
Вибір елементів захисту перетворювача частоти.........................................18
Вибір автоматичного вимикача...........................................................18
Вибір плавких запобіжників................................................................19
Захист від перенапруг...........................................................................21
Аналіз роботи автономного інвертора напруги та розрахунок графіків миттєвих значень струму в установленому режимі для заданої частоти..21
Аналіз роботи автономного інвертора напруги..................................21
Розрахунок миттєвих значень струму для заданої частоти...............27
Аналіз роботи силової частини керованого випрямляча..............................28
Побудова зовнішньої характеристики в режимі випрямляча............30
Побудова зовнішньої характеристики в режимі інвертування……..31
Аналіз функціонування систем керування випрямлячем та
автономним інвертором.....................................................................................33
Перечень електрообладнання……………………………………….…..…….37
Висновок..............................................................................................................38
Список літератури..............................................................................................39
ВСТУП
Сучасний рівень теорії та практики вентильних перетворювачів частоти досягнутий зусиллями декількох поколінь вчених та інженерів, які присвятили свій труд цій області науки та техніки. За останні 10 – 15 років в структурі електроприводу сталися революційні зміни. Вони зумовлені суттєвими досягненнями в області силової електроніки, цифрової керуючої техніки та теорії керування електромеханічними перетворювачами енергії. Поява доступних швидкодіючих силових транзисторних ключів дозволяє створювати високоякісні перетворювачі параметрів електроенергії для електричних машин потужністю до 1000 кВт (серійно) та більше за (замовленням) . цей факт є визначальним в переході від електроприводів постійного струму до електроприводу змінного струму з метою заміни дорогої та менш надійної машини постійного струму на більш прості, надійні та дешеві машини змінного струму.
Впровадження систем з керованими статичними транзисторами та тиристорними перетворювачами енергії – загальна тенденція розвитку сучасного регулюємого електроприводу. З освоєнням промисловістю випуску потужних силових транзисторів, створюються умови для розробки перетворювачів частоти, які за техніко-економічними даними значно кращі за тиристорні перетворювачі частоти.
Регулюємі перетворювачі частоти широко використовують в електроприводі. Значення регулюємого електроприводу в сучасному виробництві безперервно зростає, також як і його питома вага в загальній масі електроприводів. Це обумовлено двома причинами.
По – перше, застосування регулює мого електроприводу дозволяє значно спостити кінематику машини і механізму, а в ряді випадків виключити редуктор чи іншу механічну передачу зовсім, склавши в один пристрій електропривод і робочий орган.
По – друге, створення нових, більш точних і тонких технологічних процесів та прагнення найкращим чином організувати їх шляхом застосування адаптивних та оптимальних систем керування, систем програмного керування і автоматизованих систем керування технологічними процесами потребує також встановлювати і підтримувати з високою точністю та швидкодією заданий оптимальний режим руху робочих органів машин і механізмів. Таку можливість в багатьох випадках дає регулює мий електропривод.
В теперішній час напівпровідникові перетворювачі застосовуються:
в електроприводі: для регулювання вихідних координат (моменту, струму, швидкості, шляху);
в електропостачанні: як аварійні джерела електроживлення, у лініях електропередач змінного та постійного струму, регуляторах напруги;
- у електротермії:
як генератори в установках високої
частоти;
у гальванотехніці: як потужні джерела постійного струму і т.д.
При значному поширенні застосування напівпровідникових перетворювачів від фахівця потрібно знання:
фізичних процесів у перетворювачах і методики їх розрахунку;
пристрою і технічних можливостей перетворювальних систем;
залежності параметрів і характеристики перетворювальних пристроїв.
1. Технічне завдання
Зробити проект перетворювача частоти для регулювання швидкості асинхронного двигуна (АД).
Табл.1. Технічні дані двигуна.
Типорозмір Електрод- вигуна |
Р2 ном кВт |
Sн % |
Енергетичні показники |
Параметри схеми заміщення |
|||||
Ŋ % |
cos φ в.о. |
Х0 |
R′1 |
X′1 |
R′′2 |
X′′2 |
|||
4А100L2У3 |
5,5 |
3,4 |
87,5 |
0,91 |
3,8 |
0,050 |
0,054 |
0,036 |
0,11 |
Синхронна частота обертання 1000 об/хв |
|||||||||
Слід вважати, що:
пусковий струм двигуна: Іп = 1.5Ін;
момент навантаження на валу двигуна активного характеру та дорівнює номінальному значенню;
потрібний діапазон регулювання швидкості: D = 20
2. Вибір схеми перетворювача
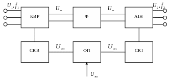
Для регулювання швидкості АД обирається перетворювач частоти з ланкою постійного струму. Такий перетворювач дає можливість регулювання вихідної частоти за допомогою системи керування інвертора в досить широкому діапазоні. Він має просту схему силової частини, а як наслідок, і системи керування; вихідна частота перетворювача може бути як вище, так і нижче вхідної і не залежить від останньої. В якості автономного інвертора може бути використаний будь-який інвертор. Також в перетворювачі частоти з ланкою постійного струму можливо здійснити Вільний обмін електричною енергією між споживачем та живлячою мережею в обох напрямках. Таку можливість дає використання реверсивного керованого випрямляча, в якому
одна група вентилів працює в режимі керованого випрямляча, а друга – а друга в режимі веденого мережею інвертора.
Ф
Мал.
1
Функціональна схема перетворювача
частоти
Принцип роботи: змінна напруга живлячої мережі випрямляється за допомогою керованого реверсивного випрямляча КВР, фільтрується L – C фільтром Ф і подається на автономний інвертор АІН, який перетворює постійну напругу у змінну заданої частоти і величини U2, f2. Випрямлячем та інвертором керують системи керування випрямлячем СКВ, інвертором - СКІ. Керування здійснюється за допомогою сигналу задання швидкості Uзш , який функціональним перетворювачем ФП розділяється на два сигнали: Uзн – задання напруги, який подається на випрямляч;
Uзч - задання частоти, який подається на інвертор.
3. Проектування автономного інвертора напруги
Автономний інвертор – це вентильний перетворювач, який перетворює постійний струм в змінний і працює на автономне навантаження.
АІН будуємо по мостовій схемі інвертора напруги з тривалістю провідного стану ключів 180ºел градусів (λ=180º). При цьому завжди одночасно відкриті три керованих вентиля різних фаз, що забезпечує незалежність форми кривої вихідної напруги на навантаженні при зміні його параметрів. Фази навантаження АД з’єднані за схемою „зірка”.
Силові ключі – IGBT модулі обираються за напругою та струмом навантаження, для визначення яких використовуються технічні параметри двигуна.
Мал.
2
Принципова схема автономного інвертора
напруги
Визначення номінального струму статора:
(1)
де: Рн – номінальна потужність АД, Вт;
Uн – номінальна напруга АД, В;
сosφн, ŋн – номінальні коефіцієнт потужності та ККД АД;
Значення пускового струму:
Іп =kпер І1н =1,5·10,46 = 15,7 А (2)
де: kпер=1.5 - коефіцієнт перенавантаження перетворювача за струмом.
Найбільша напруга, яка може бути подана на транзисторний ключ дорівнює напрузі ланки постійного струму:
Uдн
=
Uн
(3)
Uдн = 3∙220/√2 = 466,69 В
Середнє значення струму, який споживається інвертором з ланки постійного струму при номінальній частоті АІН дорівнює:
(4)
де: Квг = 1,13 – коефіцієнт, що враховує вплив вищих гармонік
Активний опір Rен та індуктивний опір Хен знаходять по схемі заміщення АД, яка представлена на рис. 3
Мал.
3
Схема заміщення асинхронного двигуна
Визначення параметрів схеми заміщення АД
Активним опором контуру намагнічування можна знехтувати через його незначну величину. Номінальний опір, який розглядається, як базовий:
(6)
R1 = Rδ∙R′1 = 21,01·0,050 = 1,05 Ом;
R′2 = Rδ∙ R′′2 = 21,01·0,036 = 0,75 Ом;
Х1 = Rδ∙Х′1 = 21,01·0,054 = 1,13 Ом; (5)
Х′2 = Rδ∙Х′′2 = 21,01·0,11 = 2,3 Ом;
Хμ = Rδ∙Х0 = 21,01·3,8 = 79,9 Ом;
Для номінальної частоти АІН визначається активний та індуктивний опори фази АД:
(7)
(8)
середнє значення струму, який проходить через ключ:
(10)
де: m – кількість фаз перетворювача
IGBT модулі обираються на підставі умов:
(11)
де: Кпер – коефіцієнт кратності перевантаження перетворювача за струмом, Кпер = 1,5
Ік, Uке – каталожні параметри IGBT модулів.
Табл.2. Вибір IGBT модулів фірми SEMIKRON.
Тип приладу |
Uке |
Ік (Т=25 ºС) |
Uкнас (Ік=Ікм,Т=25ºС) |
РкМакс
|
Rтп-к |
Uземакс |
Схема при-ладу |
В |
А |
В |
Вт |
ºС/Вт |
В |
||
SKM22GD123D |
1200 |
22 |
3,0 |
145 |
0,86 |
|
б |
Мал.
4
Схема IGBT
модуля
