- •Письмова атестаційна робота
- •Завдання
- •Рецензія
- •II. Основна частина 2 - 28
- •III. Техніка безпеки і пожежна безпека 29 - 30
- •2.1. Організація робочого місця зварювальника.
- •2.2 Характеристика зварюваної сталі.
- •2.3 Вибір і характеристика зварювальних матеріалів.
- •2.4 Підготовка металу до зварювання.
- •2.5 Збирання деталей під зварювання.
- •2.6. Вибір режимів зварювання.
- •2.7 Розрахунок зварних швів на міцність.
- •2.8 Дефекти зварних швів.
- •2.9 Контроль зварних з'єднань.
- •Список використаної літератури
- •9. Довідник металіста та інші.
2.1. Організація робочого місця зварювальника.
Місце, спеціально обладнане для зварювальних робіт, називається зварювальним постом. До складу поста входять джерело живлення зварювальної дуги (трансформатор, випрямляч, перетворювач), пускова та захисна апаратура, зварювальні кабелі, електродотримачі або пальник і місце виробничої дільниці, на якому працює зварник.
Постійне робоче місце називають – стаціонарним постом, змінне – пересувним постом. Вигляд робочого місця зварника зображений на малюнку 1.
1 – стілець;
2 – стіл;
3 – балон із захисним газом;
4 – джерело живлення дуги;
5 – тумбочка;
6 – шафа;
7 – стелаж.
Мал.1
Зварний корпус виготовляється ручним дуговим та газовим зварюванням.
П
ост
для ручного дугового зварювання
зображений на мал.2
1)мережа; 2) рубильник;
3)джерело живлення дуги;
4)зварювальні кабелі;
5)місцеве освітлення;
6)місцева вентиляція;
зварювальний стіл;
інструмент та прилади зварника;
засоби пожежотушіння; складально-
зварювальні пристрої; електродотримач.
Мал.2
Пост для газового зварювання (Мал.3)
Мал.3
В пост для газового зварювання входить: кисневий балон (1) з редуктором (2); ацетиленовий генератор (3) з запобіжним затвором, або ацетиленовий балон (4) з редуктором (5); гумові рукави (6) для підводу газу; пальник (7) з набором наконечників; присаджувальний дріт (8) – для формування шва; інструмент та прилади газозварника; заходи пожежотушіння та інше.
Для виготовлення зварного корпусу, згідно вимогам дипломного проекту, необхідно обрати джерело живлення дуги для ручного дугового зварювання.
Джерело живлення дуги обирається в залежності від способу зварювання, марки та товщини основного металу.
Зварна конструкція виготовляється з легованої сталі, товщиною 25мм, ручним дуговим зварюванням, тому в якості джерела живлення обираємо трансформатор .
Зварювальний трансформатор служить для пониження напруги змінного струму, що підводиться від мережі, з 220 або 380 В до напруги потрібного для збудження дуги (18-70 В).
Змінний струм від мережі по дротах підводиться до зварювального трансформатору через рубильник і запобіжники. Зварювальний струм від трансформатора підводиться до робочого місця по двом гнучким зварювальним дротам. Один з дротів, за допомогою затискувача під'єднується до зварювального столу, на якому встановлюється зварювальна деталь, а інший до електродотримача, в який вставляється електрод. Регулювання величини зварювального струму здійснюється рукояткою, яка розташована на корпусі трансформатору.
Будь-яке джерело живлення зварювальної дуги повинне:
- забезпечувати напругу, необхідну для запалення дуги і стійкого її горіння;
- обмежувати струм короткого замикання, величина якого не повинна перевищувати номінальний зварювальний струм установки більш ніж на 20 %;
- швидко змінювати напругу відповідно до зміни опору дуги.
Для виготовлення зварного корпусу в якості джерела живлення дуги застосовуємо одинпостовий трансформатор змінного струму, з розвиненим магнітним розсіюванням, типу ТДМ-503.
Зварювальний трансформатор ТДМ-503 є пересувним знижувальним трансформатором стержневого типу з підвищеною індуктивністю розсіяння. Він складається з корпусу (Мал.4), в середині якого розміщений магнітопровід (5), зібраний з тонких пластин електротехнічної сталі. На ньому розміщені дві обмотки: первинна (3) й вторинна (6) обмотки, перемикач діапазону струму (4) з рукояткою (2) і регулятор струму (1).
Батарея конденсаторів призначена для підвищення коефіцієнта трансформації. ЇЇ вмикають паралельно до первинної обмотки.
Трансформатор типу ТДМ-503 можна використовувати, як для ручного дугового так й для механізованого зварювання . Для цього необхідно змінювати лише зовнішню вольт амперну характеристику джерела живлення.
З
овнішня
характеристика джерела живлення – це
залежність між напругою на вихідних
клемах джерела і силою зварювального
струму.
Зовнішні характеристики можуть бути (Мал.5) зростаючими (1), жорсткими (2), похило – (3) та круто спадаючими (4).
Для ручного дугового зварювання зовнішні вольт амперна характеристика повинна бути круто спадаючою.
М
ал.4
Трансформатор ТДМ-503 має спадаючу вольт-амперну характеристику. Характеристика встановлюється в залежності від ступені механізації.
Мал.5
Зовнішня вольт-амперна характеристика трансформатору ТДМ-503 (мал.6).
1, 2 – діапазон великих струмів;
3; 4 – діапазон малих струмів.
Мал.6
Електрична схема трансформатора ТДМ-503(Мал.7)
Трансформатор має 2 діапазони регулювання струму. Попарне паралельне з’єднання котушок первинних та вторинних обмоток дає діапазон великих струмів, послідовне з’єднання котушок – діапазон малих струмів. Змінюють діапазон, вимкнувши з мережі трансформатор перемикачем барабанного типу (6), ручка
Мал.7 (1) якого знаходиться над кришкою кожуха. У діапазоні малих струмів невелика частина витків первинної обмотки вимикається, і напруга холостого ходу трансформатора зростає. Це підбільшує стабільність горіння дуги під час зварювання.
Технічна характеристика трансформатору типу ТДМ-503
Параметри |
Тип |
Номінальний зварювальний струм, А |
500 |
Номінальна робоча напруга, В |
40 |
Номінальний режим роботи, ТН, % |
60 |
Діапазон регулювання зварювального струму, А |
90 – 560 |
Напруга холостого ходу, В |
65; 75 |
ККД, % |
88 |
Коефіцієнт потужності |
0,65 |
Прилади та інструмент зварника.
Електродотримачі мають забезпечувати надійне закріплення покритих електродів у одній площині не менше як у двох положеннях і витримувати без ремонту 8000 затисків. Час зміни електроду не повинен перевищувати 4с., усі деталі електродотримачів виготовлені з ізолюючих матеріалів, стійких до термічної дії дуги.
За конструктивним виконанням електродотримачі розрізняють пасатижні ЭП та ЭД, важільні ЭДС та ЭУ, гвинтові – ЭВ.
До підведення струму до електродотримача та виробу від джерела живлення застосовують гнучкі кабелі марок РГД, РГДО, РГДВ за ГОСТ 6731-77. Довжина гнучкого кабелю – 2 – 3м.
В умовах будівельних і монтажних майданчиків довжина зварювальних кабелів може досягати 40 – 50 м. при великих довжинах кабелів спостерігається значний спад напруги, що негативно відбивається на якості зварювання.
Переріз зварювальних кабелів вибирають залежно від струму дуги та допустимих навантажень. Одножильний кабель перерізом 25мм2 витримує струм до 160А, а кабель перерізом 50мм2 двожильний витримує струм 370А. переріз зворотного кабелю має відповідати перерізу основного зварювального кабелю.
Зварювальні кабелі приєднують за допомогою муфт МСБ-2, до джерела живлення муфтою типу МС-3, до виробу(що заземлюється) – клемами заземлення типу КЗ-2 та КЗП-12. В якості інструменту в пост входить: стекла та світлофільтри для щитка чи маски зварника, затискачі контактів, шлаковіддільники, металева щітка. Інструмент зберігають в ящику розміром 385х340х115 мм, маса інструментів з ящиком – 6,5….9 кг.
На своєму робочому місці зварник повинен мати додатковий інструмент: сталеву щітку для зачищення кромок виробу перед зварюванням та видалення з поверхні швів залишків шлаку, молоток - шлаковіддільник для видалення шлакової кірки, бризок; зубило; набір шаблонів для контролю розмірів швів, метр; сталеву лінійку та косинець.
Залежно від габаритів деталі робоче місце зварника може знаходитися в спеціальній кабіні або безпосередньо біля зварюваного виробу.
Кабіна для одного зварника має розміри 2х2х2 або 2х2,5х2м (Мал.8). Каркас кабіни виготовляють з металу, а стіни й підлогу – з вогнестійких матеріалів. Дверний проріз закривають брезентовою завісою.
Апаратура для газового зварювання.
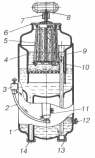
Ацетиленовий генератор (мал..8) - це апарат, призначений для одержання ацетилену з карбіду кальцію за допомогою води. Маса порожнього генератору від 20 – до – 570кг; тиск від 0,07 до 0,15МПа, завантаження карбіду кальцію від 3,5 до 50кг. Ацетиленовий генератор розташовують не ближче 5м від кисневого балону. Перевозити генератор у заправленому стані забороняється.
1 – прмивач; 2 – шланг; 3 – запобіжний клапан;
4 – газоутворювач; 5 – кошик; 6 – кришка; 7 – важиль;
8 – гвинт; 9 – стакан; 10 – трубка; 11 – водяний затвор;
12 – контрольний кран; 13; 14 – штуцера.
М
ал.8
Балони (Мал.9) – призначені для зберігання і транспортування газів.
L – довжина балонів;
S – товщина стінки балону;
D – діаметр балону.
Кисневий балон – голубого кольору з чорним написом «Кисень», наповнюють балон до тиску - 150ат.,
робочий тиск – 15МПа; випробувальний тиск – 22,5МПа;
місткість – 40л; маса – 67кг без газу; розмір – 1390 х 219 х 8 мм.
Мал.9
Ацетиленовий балон – білого кольору; заповнюють
пористою масою (деревне вугілля, пемза, інфузорна земля) - це необхідно для безпечного зберігання ацетилену під тиском. Цю масу заповнюють ацетоном, який розчиняє ацетилен. Колір балону – білий; напис – червоний «ацетилен»; місткість – 40л; робочий тиск – 1,6 МПа; випробувальний – 3,0МПа; розмір – 1390 х 219 х 7 мм; маса – 52кг без газу.
Р
едуктори(мал..10)
–
призначені для пониження тиску газу до
робочого та автоматичного підтримання
заданого робочого тиску постійним.
Корпус редуктора фарбують у той же
колір, що й балон.
Рукави (шланги) – для підведення газу до пальника. Виготовляють з вулканізованої гуми з однією або двома тканинними прокладками. Шланги розраховані для роботи при температурі навколишнього середовища від +50 до – 350С. Для роботи при нижчих температурах використовують шланги з морозостійкої гуми, яка витримує до – 650С. Рукава
Мал.10 виготовляють з внутрішнім діаметром : 6, 9, 12 і 16мм.
Довжина рукавів – не більше 20м і не менше 4,5м. При монтажних роботах допускається довжина – 40м. Кріпляться рукава хомутами, або м'яким відпаленим дротом.
Існує 3 типи рукавів: І, ІІ, ІІІ.
І – ацетилен, пропан, бутан; робочий тиск - 0,63МПа; червоного кольору.
ІІ – рідке паливо; робочий тиск – 0,63МПа; жовтого кольору.
ІІІ – кисень; робочий тиск – 2МПа; синього кольору.
На практиці всі шланги можуть бути чорного кольору, але обов’язково мати дві кольорові смужки.
Манометри - призначені для вимірювання тиску газу, приєднують до камер високого і робочого тиску гайковим ключем.
Зварювальні пальники – призначені для змішування горючого газу або парів рідини з киснем і одержання зварювального полум’я. Кожний пальник має пристрій, що дозволяє регулювати потужність, склад і форму полум’я. Для виготовлення конструкції використовуємо інжекторний пальник (Мал.11).
Інжекторний пальник складається з двох основних частин — ствола і наконечника. Стовбур має кисневий 1 і ацетиленовий 16 ніпелі з трубками 3 і 15,
Мал.11
рукоятку 2, корпус 4 з кисневим 5 і ацетиленовим 14 вентилями. Вентилі призначені для пуску, регулювання розходу і припинення подачі газу при гасінні полум’я. Наконечник, який складається з інжектора 13, змішувальної камери 12 і мундштука 7, під’єднується до корпусу стовбура пальника накидною гайкою,.
1, 16 — кисневий і ацетиленовий ніпелі; 2 — рукоятка; 3, 15 — киснева і ацетиленова трубки; 4 — корпус; 5, 14 — кисневий і ацетиленовий вентилі;
б — ніпель наконечника; 7 — мундштук; 8 — мундштук для пропан-бутано-кисневої суміші; 9 — штуцер; 10 — підігрівай; 11 — трубка горючої суміші;
12 — змішувальна камера; 13 — інжектор; а, б — діаметри вихідного каналу інжектора і змішувальної камери; в — зазор між інжектором і змішувальною камерою; г — бокові отвори в штуцері 9 для нагрівання суміші; д — діаметр отвору мундштука; І — ацетиленокисневий; II — пропан-бутано-кисневий.
Прилади газозварника.
Для газового зварювання зварників забезпечують захисними окулярами з темним склом (світофільтри):
С-3 – при роботі різаками;
С-4 – при зварювальних роботах.
Світлофільтри підбираються залежно від характеру роботи і потужності газового полум’я. Інструмент зварника - набір ключів; молоток; зубило; сталеві щітки; лінійка; кутник; рисувалка та ін. Відро з водою – для охолодження пальника.
Висновок. Для виготовлення зварної опори, з сталі 15 застосовуємо для ручного дугового зварювання джерело живлення змінного струму – трансформатор типу ТДМ-503. Він пасує за усіма параметрами, а саме: потужності, напрузі, струму, к.п.д. і тривалість роботи, є найоптимальнішим варіантом для отримання високоякісного зварного шва як при ручному дуговому, так й при механізованому зварюванні.
