- •Глава 5
- •5.2. Область применения глубинно-насосных установок
- •5.3. Схема штанговой скважинной установки
- •5.4. Подбор штангового насоса для оптимального отбора жидкости
- •5.5. Насосные штанги
- •5.6. Оборудование устья насосных скважин
- •5.7. Индивидуальный привод штангового насоса
- •5.8. Размерный ряд станков-качалок по гост, их выбор.
- •5.9. Безбалансирные станки-качалки
- •5.10. Уравновешивание станка-качалки
- •5.11. Определение нагрузок на штанги и станок-качалку
- •5.12. Выбор электродвигателя станка-качалки
- •5.13. Подача штанговой скважинной насосной установки
- •5.15. Измерение нагрузок на штанги с помощью динамографа
- •5.16. Динамограммы
- •5.17. Исследование скважин, эксплуатируемых штанговыми насосными установками
- •5.18. Борьба с вредным влиянием газа на работу штангового насоса
- •5.19. Борьба с вредным влиянием песка на работу штангового насоса
- •5.20. Применение полых штанг
- •5.21. Борьба с отложениями парафина при эксплуатации скважин с шсну
- •5.22. Эксплуатация наклонных и искривленных скважин
- •5.23. Эксплуатация малодебитных скважин
- •5.24. Автоматизация скважин, оборудованных шсну
- •5.25. Обслуживание скважин, оборудованных сшну
- •5.26. Эксплуатация скважин винтовыми штанговыми насосными установками
- •5.27. Скважинные гидроштанговые насосные установки
Глава 5
ДОБЫЧА НЕФТИ СКВАЖИННЫМИ
ШТАНГОВЫМИ НАСОСАМИ
5.1- Классификация глубинно-насосных установок
Можно выделить следующие основные признаки классификации глубинно-насосных установок:
1. По принципу действия глубинного насоса: плунжерные (поршневые), центробежные, винтовые, струйные, вибрационные (звуковые), диафрагменные, роторно-поршневые и др.
2. По типу передачи энергии глубинному насосу от приводного двигателя: штанговые и бесштанговые.
3. Скважинные штанговые насосные установки делятся на балансирные и безбалансирные, а по типу используемого привода на механические, гидравлические и пневматические.
4. Бесштанговые установки делятся по типу используемого привода и его местоположению: с электроприводом, с гидроприводом, с приводом, расположенным на поверхности, с приводом, расположенным в скважине.
5. По назначению: подача
— для эксплуатации низкодебитных скважин,
— для эксплуатации среднедебитных скважин,
—для эксплуатации высокодебитных скважин высота подъема (напор)
— для эксплуатации неглубоких скважин,
— для эксплуатации скважин средней глубины,
— для эксплуатации глубоких скважин.
5.2. Область применения глубинно-насосных установок
В мировой практике нефтедобычи получили распространение следующие глубинно-насосные установки:
1. Скважинные штанговые насосные установки (СШНУ).
2. Установки погружных центробежных насосов с электроприводом (УЭЦН).
3. Установки гидравлических поршневых насосов (УГПН).
4. Установки с винтовыми насосами и электроприводом (УЭВН).
5. Установки с диафрагменными насосами и электроприводом (УЭДН).
6. Установки со струйными насосами (УСН).
Не все из перечисленных глубинно-насосных установок играют одинаковую роль в добыче нефти.
В нашей стране наибольшее распространение по фонду добывающих скважин получили СШНУ, а по объему добычи — УЭЦН. Это связано с тем, что установки СШНУ предназначены для эксплуатации низко- и среднедебитных скважин, а установки УЭЦН — для эксплуатации средне- и высокодебитных скважин. Остальные установки (УГПН, УЭВН, УЭДН, УСН) ни по фонду добывающих скважин, ни по добыче нефти не могут пока конкурировать с СШНУ и УЭЦН и предназначены для определенных категорий скважин.
Области применения различных видов нефтедобывающего оборудования основываются на теоретических расчетах рабочих
Рис. 5.1. Области применения скважинных насосных установок для добычи нефти
параметров скважинных насосов и наземного оборудования, на основании данных, указанных российскими и зарубежными конструкторами для оптимального режима работы установок по добыче нефти. Эти характеристики будут ухудшаться по мере износа оборудования и ухудшения условий эксплуатации. Как только условия эксплуатации усложняются, области экономически целесообразного применения различных способов могут существенно измениться.
5.3. Схема штанговой скважинной установки
Традиционными и наиболее распространенными видами механизированной добычи нефти являются установки скважинных штанговых насосов (СШНУ), которыми оборудовано свыше 57 % общего фонда нефтяных скважин. С точки зрения экономических возможностей ШСНУ могут обеспечить высокий напор в ограниченном диапазоне подач от 5 до 50 м3/сут. В области подач от 1 до 40 м3/сут ШСН имеют более высокий КПД по сравнению с другими способами добычи нефти и при подаче, равной 35 м3/сутки, он может достигать максимального значения (37 %). Однако, в некоторых случаях подача может достигать 200 м3/сут и глубины подвески насосов достигают 2500 м. Таким образом, ШСНУ хорошо приспособлены для работы в условиях малого дебита скважин, однако этот вид оборудования очень чувствителен к целому ряду осложняющих факторов, среди которых одними из самых весомых являются кривизна ствола скважины, обводненность продукции, наличие механических примесей. Непрерывное движение штанг вызывает усиленный износ штанговых муфт и, что особенно существенно, насосных труб.
Схема СШНУ представлена на рис. 5.2. Оборудование СШНУ состоит из двух частей: наземного и подземного. Наземное оборудование состоит из станка-качалки, привода, станции управления и устьевой арматуры. Подземное оборудование включает в себя колонну НКТ, колонну штанг, глубинный насос и, при необходимости, другие элементы (хвостовик, газовый или газопесочный якорь, якорь для фиксации колонны НКТ в обсадной колонне и т.п.).
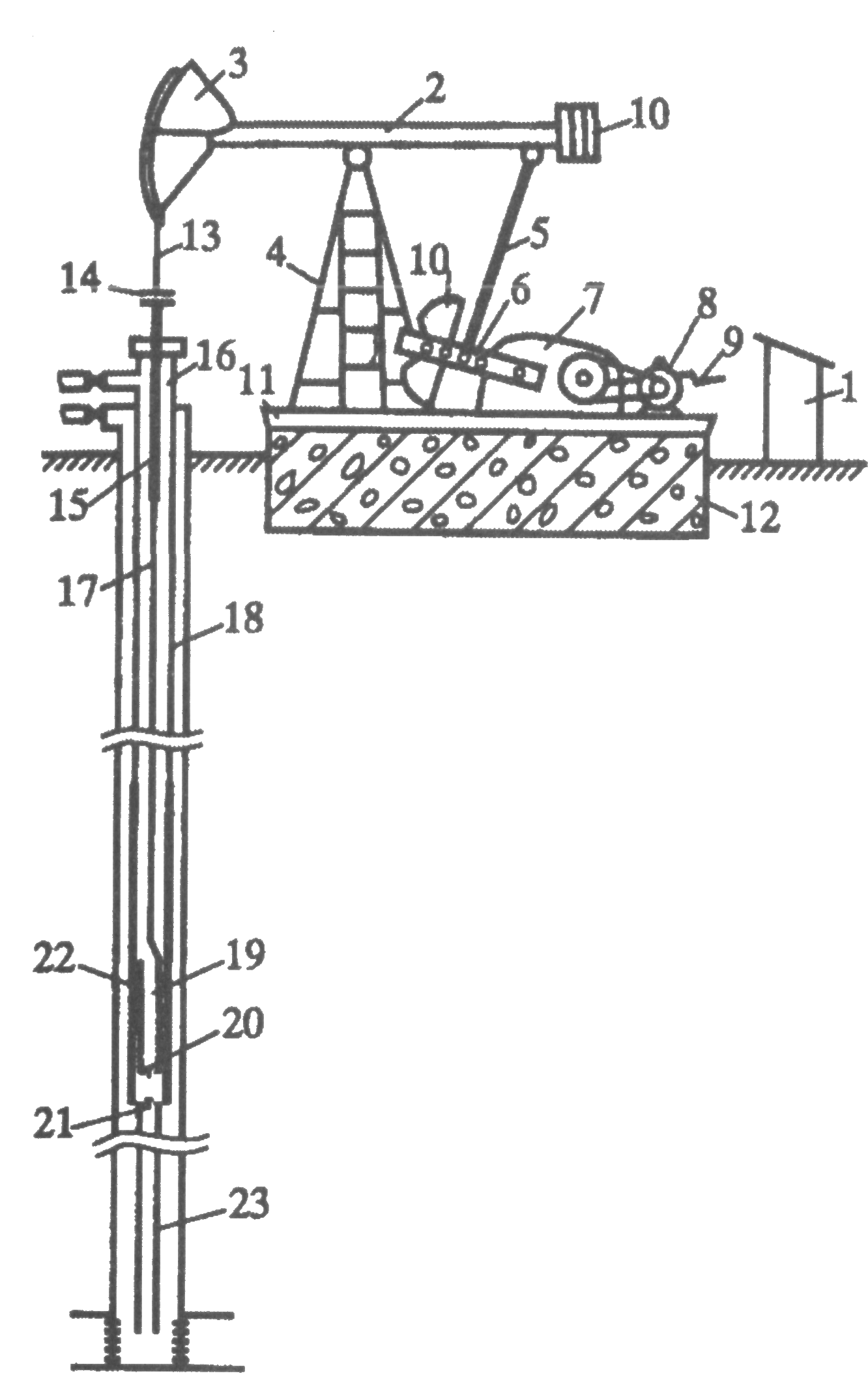
Рис. 5.2. Принципиальная схема ШСНУ
1 - станция управления;
2 - балансир; 3 - головка балансира; 4 - стойка; 5 - шатун; 6 - кривошип; 7 - редуктор; 8 - приводной двигатель; 9 - тормоз; 10 - противовесы;
11 - металлическая рама;
12 - бетонный фундамент; 13 - канатная подвеска; 14 - траверсы; 15
- полированный шток;
16 - устьевая арматура;
17 - колонна штанг; 18 -колонна НКТ; 19 - плунжер насоса; 20 - нагнетательный клапан; 21
- всасывающий клапан; 22 -
цилиндр насоса; 23 -хвостовик
Основным
элементом наземного оборудования
является станок-качалка, состоящий из
балансира 2, головки балансира 3, стойки
4, шатуна 5, кривошипа 6, редуктора 7,
приводного двигателя 8, тормоза 9 и
противовесов 10. Управление наземным
оборудованием осуществляется специальной
станцией 1. Станок-качалка, редуктор и
приводной двигатель монтируются на
металлической раме 11, устанавливаемой
на бетонном фундаменте 12. Головка
балансира 3 имеет канатную подвеску 13,
соединенную с полированным штоком 15 с
помощью траверс 14. Устье скважины
оборудовано устьевой арматурой 16.
Станок-качалка предназначен для
восприятия нагрузок, действующих в
точке подвеса штанг (ТПШ) в течение
насосного цикла, и преобразования
вращательного движения ротора приводного
двигателя в возвратно-поступательное
движение головки балансира. Редуктор
7 предназначен для снижения числа
оборотов
приводного двигателя 8 и повышения крутящего момента на выходном валу, на котором закреплены кривошипы 6. Кривошипы 6 соединены шатунами 5 с балансиром 2. На входном валу редуктора имеется шкив, соединенный клиноременной передачей со шкивом приводного двигателя 8. В системе имеется также тормоз 9. Приводной двигатель устанавливается и закрепляется на салазках. При необходимости изменения числа качаний балансира заменяется размер шкива на приводном двигателе. Изменение длины хода полированного штока 15 (перемещения головки балансира) осуществляется изменением радиуса кривошипа 6 перестановкой шатуна 5, для чего кривошип имеет несколько отверстий. Кроме того, кривошип имеет устройство, позволяющее перемещать вдоль него противовесы 10, добиваясь наилучшего уравновешивания нагрузок, действующих в ТПШ.
В настоящее время промышленностью выпускается значительное количество типоразмеров станков-качалок (СК), отличающихся грузоподъемностью, длиной хода полированного штока и числом качаний, предназначенных для эксплуатации скважин различных категорий.
Устьевая арматура 16 имеет выкидной монифольд, монифольд затрубного пространства, а также сальниковое устройство, через которое проходит полированный шток 15.
Подземное оборудование включает колонну штанг 17, предназначенную для передачи возвратно-поступательного движения головки балансира плунжеру 19 глубинного насоса, а также для восприятия нагрузок, действующих на штанги в течение насосного цикла. Имеется колонна НКТ 18, на нижнем конце которой закреплен цилиндр насоса 22. Плунжер глубинного насоса имеет один или два нагнетательных клапана 20, а цилиндр насоса — всасывающий клапан 2. К приему насоса закреплен хвостовик 23.
Цилиндр скважинного насоса имеет различное конструктивное оформление, а внутренняя его поверхность тщательно обработана, равно как и наружная поверхность плунжера. Вместе они составляют пару трения.
Как видно из рис. 5.2, при ходе головки балансира вверх плунжер также перемещается вверх; при этом нагнетательный клапан 20 закрывается под действием веса продукции скважины, находящейся в НКТ. При снижении давления в цилиндре насоса до величины, меньшей, чем давление на приеме (давление в скважине перед всасывающим клапаном), всасывающий клапан 21 открывается и цилиндр насоса заполняется скважинной продукцией (такт всасывания). При ходе плунжера вниз давление в цилиндре насоса повышается, всасывающий клапан закрывается, а когда давление в цилиндре насоса (под плунжером) становится большим, чем давление над плунжером, открывается нагнетательный клапан, и продукция из цилиндра через плунжер перетекает в колонну НКТ (такт нагнетания). Затем цикл повторяется.
