- •Составители: в. И. Сажин, а. А. Иванов, в. М. Косырев, в. С. Коновалов, д. Е. Суханов
- •1. Цель работы
- •2. Устройство, принцип работы и область применения поршневых компрессоров
- •3. Сведения из теории и расчетные зависимости
- •4. Описание лабораторной установки
- •Техническая характеристика компрессора со-7а
- •5. Техника безопасности при работе на установке
- •6. Методика проведения работы
- •7. Методика обработКи опытных данных
- •8. Содержание отчеТа по лабораторной работе
- •9. Контрольные вопросы
- •10. Список Рекомендуемой литератуРы
- •Отчет по лабораторной работе «испытание поршневого компрессора»
Федеральное агентство по образованию
Государственное образовательное учреждение высшего профессионального образования
Нижегородский государственный технический университет
Дзержинский политехнический институт (филиал)
Кафедра «Машины и аппараты химических и пищевых производств»
Испытание поршневого компрессора
Методические указания к лабораторной работе по дисциплине «Гидравлика и гидравлические машины»
для студентов специальностей 170500 и 170600 всех форм обучения
Нижний Новгород 2005
Составители: в. И. Сажин, а. А. Иванов, в. М. Косырев, в. С. Коновалов, д. Е. Суханов
УДК 621.51/52
Испытание поршневого компрессора: Метод. указания к лаб. работе по дисциплине «Гидравлика и гидравлические машины» для студентов спец. 170500 и 170600 всех форм обучения / НГТУ; Сост.: В. И. Сажин, А. А. Иванов, В. М. Косырев, В. С. Коновалов, Д. Е. Суханов. Н. Новгород, 2005. – 20 с.
Приведены сведения о конструкциях поршневых компрессоров; даны зависимости для расчета параметров работы поршневого компрессора; приведено описание лабораторной установки; изложена методика проведения работы и обработки опытных данных.
Редактор В. И. Бондарь
Подп. к печ. 21.04.05. Формат 60841/16. Бумага газетная. Печать офсетная. Усл.-печ. л. 1,25. Уч.-изд. л. 0,9. Тираж 200 экз. Заказ _____.
Нижегородский государственный технический университет.
Типография НГТУ. 603600, Н. Новгород, ул. Минина, 24.
Нижегородский государственный технический университет, 2005
1. Цель работы
Целью настоящей работы является ознакомление с конструкциями поршневых компрессоров, изучение устройства одноступенчатого двухцилиндрового компрессора СО-7А и построение его рабочей характеристики.
2. Устройство, принцип работы и область применения поршневых компрессоров
В поршневых компрессорах сжатие газа происходит в результате уменьшения объема, в который заключен газ, при возвратно-поступательном движении поршня (рис. 1). Преобразование вращательного движения приводного вала компрессора в возвратно-поступательное движение поршня обеспечивается кривошипно-шатунным механизмом.
Рис. 1. Схема горизонтального поршневого компрессора простого действия:
1 – поршень; 2 – цилиндр; 3 – крышка цилиндра; 4 – всасывающий клапан; 5 – нагнетательный клапан; 6 – кривошип; 7 – шатун; 8 – ползун (крейцкопф); 9 – шток; 10 – уплотнительные кольца
Поршневые компрессоры имеют недостатки, присущие всем поршневым гидравлическим машинам, – неравномерность подачи, громоздкость, тихоходность, большую массу, малый межремонтный цикл и др. Однако при этом поршневые компрессоры характеризуются наибольшим среди всех компрессорных машин коэффициентом полезного действия и обеспечивают наивысшую степень сжатия.
Применение поршневых компрессоров предпочтительно в случаях, когда требуется получить высокие и сверхвысокие давления газа при относительно малых подачах (рис. 2). При средних подачах поршневые компрессоры по технико-экономическим показателям конкурируют с винтовыми и ротационными компрессорами, а при больших подачах уступают центробежным компрессорам.
Рис. 2. Области предпочтительного применения компрессоров:
1 – поршневых; 2 – винтовых и ротационных; 3 – центробежных
Поршневые компрессоры классифицируют по следующим признакам:
по числу ступеней (одно-, двух- и многоступенчатые);
по расположению осей цилиндров (горизонтальные, вертикальные, V-образные, W-образные, звездообразные);
по компоновке ступеней (с однорядным и многорядным, односторонним и оппозитным расположением цилиндров);
по конструкции цилиндров (простого и двойного действия1);
по величине развиваемой производительности (малой – до 0,1 м3/с, средней – от 0,1 до 1 м3/мин и большой производительности – более 1 м3/мин);
по величине создаваемого давления нагнетания (низкого – до 1 МПа, среднего – от 1 до 10 МПа, высокого – от 10 до 100 МПа и сверхвысокого давления – свыше 100 МПа);
по составу сжимаемого газа (воздушные, азотные, азото-водородные, аммиачные и др.).
Одноступенчатые компрессоры обеспечивают большие подачи при сравнительно небольших давлениях (до 0,5 – 0,7 МПа). По своей конструкции они представляют собой компрессоры двойного или одинарного действия с горизонтальным или вертикальным расположением цилиндра.
Для подач от 0,1 до 1 м3/с обычно применяют горизонтальные компрессоры двойного действия, а для подач свыше 1 м3/с – горизонтальные компрессоры многорядного исполнения. Частота вращения кривошипа больших горизонтальных компрессоров составляет 100 – 200 об/мин.
Горизонтальный одноступенчатый компрессор двойного действия (рис. 3) состоит из станины 1 и цилиндра 2, в котором возвратно-поступательно движется пустотелый чугунный поршень 3. Цилиндр компрессора имеет водяную рубашку 4 для охлаждения сжатого газа и радиально расположенные гнезда 5 для всасывающих и нагнетательных клапанов. Поршень 3 укреплен на стальном штоке 6, скользящем по направляющим станины. Привод компрессора – от электродвигателя через ременную передачу; шкивом служит маховик 10.
а)
б)
Рис. 3. Горизонтальный одноступенчатый компрессор двойного действия:
а – общий вид; б – принципиальная схема;
1 – рама; 2 – цилиндр; 3 – поршень; 4 – водяная рубашка; 5 – гнезда клапанов; 6 – шток; 7 – ползун (крейцкопф); 8 – шатун; 9 – коленчатый вал; 10 – шкив–маховик
Вертикальные компрессоры одинарного действия с числом цилиндров до четырех имеют производительность от 0,5 до 40 м3/мин, те же компрессоры двойного действия – до 80 м3/мин и выше. Вертикальные компрессоры быстроходнее (n = 200 – 500 об/мин) и значительно компактнее горизонтальных. Износ поршня в них меньше, чем в горизонтальных компрессорах, так как при горизонтальном расположении цилиндра, особенно при большом его диаметре, происходит неравномерное одностороннее изнашивание поршня.
Вертикальный компрессор двойного действия (рис. 4) имеет два цилиндра в одном блоке 2, снабженном водяной рубашкой. Компрессор прямоточный, нагнетательные клапаны 4 расположены в верхней части цилиндров 2, а всасывающие клапаны отсутствуют. Воздух засасывается в цилиндр, когда в нем (в конце хода поршня вниз) открываются прорези 5, сообщающиеся с всасывающим трубопроводом. Благодаря прямому току воздуха и меньшему его подогреву компрессор обладает повышенным коэффициентом подачи. Кроме того, он отличается компактностью и не имеет узлов уплотнения.
Для получения высоких давлений газа применяют многоступенчатые компрессоры, в которых газ проходит последовательно ряд ступеней, постепенно сжимаясь до конечного давления. Между ступенями газ подвергают охлаждению в промежуточных холодильниках. Объемы цилиндров постепенно уменьшаются от первой к последней ступени.
Различают многоступенчатые компрессоры со ступенями сжатия в отдельно установленных цилиндрах и со ступенями сжатия в одном цилиндре с дифференциальным поршнем. При V-образной компоновке оси цилиндров располагаются под некоторым углом.
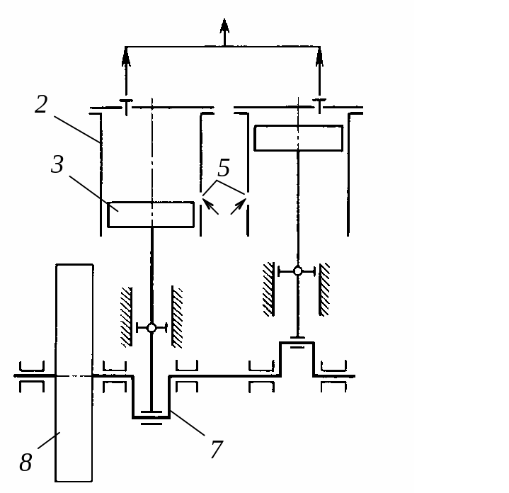
В двухступенчатом компрессоре со ступенчатым (дифференциальным) поршнем (рис. 5) сжатие происходит в двух последовательно соединенных ступенях: сначала газ сжимается полной поверхностью поршня до промежуточного давления, а затем после охлаждения в промежуточном холодильнике доводится до конечного давления обратной стороной поршня. Компрессор с дифференциальным поршнем может иметь несколько ступеней сжатия, образованных поверхностью цилиндра и поршнем переменного сечения. Соотношение между сечениями поршня зависит от степени сжатия в каждой ступени.
Дифференциальный поршень обычно применяют для двухступенчатого сжатия в машинах малой и средней производительности, так как в крупных машинах в связи с ограниченной длиной поршня возможно его заклинивание.
Для создания высоких давлений широко применяют одно- , двух- и многорядные многоступенчатые компрессоры (рис. 6, 7). Цилиндры компрессора, показанного на рис. 6, расположены в два ряда (в первом ряду – цилиндры нечетных ступеней, во втором – четных ступеней). Благодаря такой системе расположения цилиндров машина имеет только два сальниковых узла. Все цилиндры имеют водяное охлаждение. Кроме того, между ступенями имеются промежуточные холодильники (на рисунке не показаны).
а)
б)
Рис. 4. Вертикальный одноступенчатый двухцилиндровый компрессор простого действия:
а – общий вид; б – принципиальная схема;
1 – картер; 2 – цилиндровый блок; 3 – поршень; 4 – клапаны; 5 – прорези; 6 – шатун; 7 – коленчатый вал; 8 – маховик; 9 – масляный насос
а)
б)
Рис. 5. Двухступенчатый компрессор с дифференциальным поршнем:
а – общий вид; б – принципиальная схема;
1 – цилиндр; 2 – дифференциальный поршень; 3, 4 – всасывающие клапаны; 5, 6 – нагнетательные клапаны; 7 – промежуточный холодильник
Многоступенчатые компрессоры с расположением цилиндров по одну сторону кривошипного вала имеют ограничения по частоте вращения кривошипного вала из-за динамической неуравновешенности конструкции. Поэтому в последнее время получили широкое применение оппозитные компрессоры большой производительности со взаимно противоположным направлением движения поршней (рис. 8). Благодаря динамической уравновешенности они более быстроходны, имеют меньшие габариты и массу. В большинстве случаев такие компрессоры оснащаются водяной системой охлаждения.
Рис. 6. Двухрядный шестиступенчатый компрессор высокого давления с паровым приводом:
1 – 6 – цилиндры I – IV ступеней; 7 – цилиндр паровой машины; 8 – станина; 9 – редуктор; 10 – маховик; 11 – пусковой двигатель; 12 – масляный насос
а)
б)
Рис. 7. Схемы многоступенчатых компрессоров:
а – однорядного исполнения; б – двухрядного исполнения; 1, 4 – цилиндры первой ступени; 2, 5 – цилиндры второй ступени; 3, 6 – промежуточные холодильники
Рис. 8. Четырехрядный оппозитный компрессор:
1 – опора; 2 – фонарь; 3 – холодильник; 4 – станина; 5 – направляющие ползуна; 6 – ползун; 7 – сальник; 8 – клапан; 9 – поршень; 10 – цилиндр; 11 – опора; 12 – коленчатый вал; 13 – подшипник; 14 – двигатель; 15 – крышка; 16 – люки; 17 – желоб; 18 – шток; 19 – шатун
