1.5. Измерение электрической энергии в однофазных и трёхфазных сетях
1. Для измерения расхода электрической энергии переменного тока применяют счетчики индукционной системы. Схема включения счетчика в сеть подобна схеме включения ваттметра, т. е. одна обмотка счетчика включается последовательно с нагрузкой, а вторая -- параллельно ей. В отличие от ваттметров в цепи параллельной обмотки никаких добавочных сопротивлений нет, так как для создания вращающего магнитного поля токи в двух катушках должны быть сдвинуты по фазе на угол, близкий к 90°. На таблице счетчика указано напряжение, ток, частота, на которые он рассчитан, в каких единицах измеряют энергию, какому количеству оборотов диска соответствует расход энергии в 1 кВт-ч
Индукционные приборы в настоящее время служат для измерения расхода электрической энергии в цепях переменного тока.
Действие индукционного счетчика основано на взаимодействии вихревых токов с вращающимся магнитным полем.
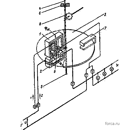
На рис.
1 показано
схематическое устройство однофазного
счетчика активной энергии. Основными
его узлами являются электромагниты 1 и
2, алюминиевый диск 3, укрепленный на оси
4, опоры оси — подпятник 5 и подшипник
6, постоянный магнит 7. С осью связан при
помощи зубчатой передачи 8 счетный
механизм (на рисунке не показан), 9 —
противополюс электромагнита 1.
Обмотка
электромагнита 1 включена на напряжение
сети U, т. е. параллельно электроприемнику
Н, поэтому она называется параллельной
обмоткой или обмоткой напряжения.
Обмотка электромагнита 2 включена
последовательно с электроприемником,
и через нее протекает полный ток нагрузки
I. В связи с этим она называется
последовательной или токовой обмоткой.
Комплекс деталей, состоящий из
последовательной и параллельной обмоток
и их магнитопроводов, называется вращающим
элементом счетчика.
Ток
IU, протекающий по обмотке напряжения
1, создает переменный магнитный поток
Фоб, часть которого ФU пересекает диск.
Значение этого потока пропорционально
напряжению сети. Ток, протекающий через
последовательную обмотку 2, создает
переменный магнитный поток ФI также
пересекающий диск и замыкающийся через
противополюс. Так как магнитопровод
имеет U-образную конструкцию, поток ФI
пересекает диск дважды. Всего же, таким
образом, через диск проходят три
переменных магнитных потока. Однако
для упрощения будем рассматривать два
потока, отметив при этом, что третий
поток приводит к увеличению результирующей
электромеханической силы. Согласно
закону электромагнитной индукции, в
диске наводятся вихревые токи (токи
трансформации) iU
и iI. которые замыкаются вокруг следов
соответствующих потоков. Между током
iI и потоком ФU с одной стороны и между
током iU и потоком ФI с другой стороны
возникают электромеханические силы
взаимодействия, которые и создают
вращающий момент. Этот момент пропорционален
произведению магнитных потоков и синусу
угла сдвига между ними
;
Рис. 1. Схематическое устройство индукционного счетчика
Мвр
= k1ФUФIsin
,
(1)
где
k1 - коэффициент пропорциональности.
Активная
мощность, потребляемая однофазным
электроприёмннком, определяется по
формуле
P = UIcos
,
(2)
где
-
угол сдвига фаз между током н
напряжением.
Сравним
формулы (1) и (2). Магнитные потоки ФU и ФI
пропорциональны соответственно U и. I.
Если осуществить в счетчике каким-либо
конструктивным приемом постоянное
выполнение равенства
sin
=
cos
,
то
вращающий момент счетчика будет
пропорционален измеряемой активной
мощности, т. е.
Mвр = c1P. (3)
Зная
зависимость между основными
тригонометрическими функциями, можно
записать, что если sin
=
соs
, то
=
900 +
, т.
е. при
=
0°
=90°. Иными
словами, угол сдвига между рабочими
магнитными потоками ФU и ФI должен быть
равен 90°.
Для
обеспечения требуемого 90-градусного
сдвига в счетчике применено разложение
магнитного потока Фобш на две составляющие.
Рабочий поток ФU, пересекая диск,
замыкается через противополюс. Нерабочий
поток замыкается через средний и боковые
стержни магнитопровода, не пересекая
диска. Сдвигая эти потоки относительно
друг друга и делая их различными по
величине, можно повернуть вектор ФU на
требуемый угол. Для дополнительной
подгонки угла сдвига в счетчике
предусмотрены регулировочные устройства,
о которых будет сказано далее.
Итак,
электромеханические усилия создали
момент, приводящий диск во вращение.
Известно, что частота вращения установится,
когда вращающий момент будет уравновешен
тормозным. Тормозной момент складывается
из нескольких составляющих: момент
трения в опорах и счетном механизме,
момент трения диска о воздух, индукционный
тормозной момент от пересечения диском
рабочих потоков и другие. Поэтому
значение тормозного момента будет
зависеть от многих факторов и не может
быть строго определенным. Что произойдет,
если снабдить счетчик постоянным
магнитом? Вращаясь между полюсами
магнита, диск пересекает его магнитные
силовые линии. В толще диска наводится
дополнительная ЭДС, пропорциональная
его частоте вращения. Электромеханическая
сила взаимодействия .потока и тока, им
вызванного, направлена против движения
диска, т.е. создает тормозной момент.
Этот момент так же, как и наведенная
ЭДС; пропорционален частоте вращения-
и значительно превосходит перечисленные
«паразитные» тормозные моменты. Поэтому
с достаточной точностью можно считать,
что результирующий тормозной момент
Мт пропорционален только частоте
вращения диска n:
Мт
= с2n, (4)
где
c2 — коэффициент пропорциональности.
Определенная
для данной нагрузки частота вращения
установится при равенстве вращающего
и тормозного моментов, т. е.
Мвр = Мт
(5)
или
с1Р = с2n, откуда
(6)
т.
е. частота вращения диска пропорциональна
активной мощности, а расход электроэнергии
пропорционален числу оборотов
диска.
Рассмотрим. принцип действия
трехфазных счетчиков активной энергии.
Как известно, активную мощность в
трехфазной цепи без нулевого провода
можно измерить с помощью двух ваттметров,
включенных по схеме, приведенной на рис.
2,а. Мощность
всей системы определяется как
алгебраическая сумма показаний, обоих
ваттметров
P
= P1 + PII = U1I1cos
1
+ U2I2cos
2
+ U3I3cos
3,
при
равномерной и симметричной нагрузке
фаз [6]
,
(7)
Рис. 2, Принципиальная схема измерения мощности по схеме двух ваттметров (а) и схема трехфазного двухэлементного счетчика (б)
Соответственно
для измерения активной энергии в этой
цепи можно применить два однофазных
счетчика, включенных по такой же схеме.
Тогда расход электроэнергии определится
как алгебраическая сумма значений,
измеренных счетчиками. Если же объединить
два однофазных счетчика так, чтобы их
вращающие элементы действовали на
диски, которые насажены на одну общую
ось (рис.
2, б),
то мы получим трехфазный счетчик. В
трехфазной четырёх проводной цепи
расход электроэнергии измеряется
трехэлементным счетчиком, элементы
которого включаются на фазные напряжения
и токи. Вращающие элементы этих счетчиков
воздействуют на три (счетчик СА4-ТУ) или
два диска (счетчик СА4-И672М).
Реактивная
мощность трехфазной цепи при полной
симметрии; нагрузок определяется по
формуле
Q =
(8)
Нетрудно уяснить, что если в трехэлементном счетчике активной электроэнергии изменить схему включения так, что между током и напряжением, подводимым к каждому элементу, будет дополнительный сдвиг 90° (рис. 3, а), то мы «превратим» его в счетчик реактивной энергии [sin = cos (90° — )]. Принцип получения 90-градусного сдвига пояснен на рис. 3,б. Из этих рисунков видно, что в первом элементе ток IА сопрягается с напряжением не UAB (как в счетчике активной энергии), а UBC. При чисто активной нагрузке IA совпадает с UA, и сдвинут относительно UBC на 90°. Если же между IA и UA существует сдвиг на угол , то IA относительно UBC будет, сдвинут на 900 + . Аналогично90-градусный сдвиг получен и в двух других вращающих элементах. Для измерения реактивной энергии предназначен также двухэлементный счетчик с 90-градусным сдвигом с разделенными последовательными обмотками, схема которого приведена на рис. 4, а.
Рис.
3. Схема счетчика реактивной энергии с
90-градусным сдвигом (а) и векторная
диаграмма, поясняющая принцип получения
90-градус. сдвига (б)
Особенностью такого счетчика является наличие в каждом вращающем элементе двух последовательных обмоток, по которым проходят, токи различных фаз. Направления намотки противоположны. Поэтому вращающий момент пропорционален геометрической разности протекающих токов (если число витков в обеих обмотках условно принять одинаковым) .Необходимо обратить внимание на следующее обстоятельство: несмотря на то, что счетчик двухэлементный, к нему подводятся токи всех трех фаз, или (как будет показано далее) токи двух фаз и нулевого провода. Таким образом, наряду с трехэлементным счетчиком, счётчик с разделенными обмотками может применяться и в трех- и в четырех проводной сетях. Для учета реактивной энергии в сети без нулевого провода широко применяются более простые двухэлементные трехфазные счетчики с 60-градусным сдвигом (рис. 4, б). Сопрягаемые токи и напряжения подводятся по 90-градусной схеме, однако сдвиг по фазе между рабочими магнитными потоками параллельной и последовательной обмоток равен 600. Такой сдвиг достигается путем включения в параллельные цепи добавочных резисторов. Применение 60-градусного сдвига дало возможность получения вращающего момента, пропорционального sin , при двух элементах счетчика (а не трех) при более простой конструкции. В эксплуатации счетчик с 60-градусным сдвигом удобен тем, что его схема включения такая же, как и для счетчика активной энергии.
Рис.
4. Схемы счетчиков реактивной энергии
с разделенными последовательными
обмотками (а) и с 60-градусным сдвигом
(б)
