- •32.Основные свойства набухающих грунтов.
- •33. Свойства заторфованных грунтов, торфов и илов.
- •34. Свойства мерзлых и вечномерзлых грунтов.
- •35. Испытания грунтов на сдвиг в одноплоскостном срезном приборе.
- •36. Испытания грунтов в условиях трехосного сжатия.
- •37. Лопастные испытания грунтов на сдвиг при кручении.
- •38. Испытания грунтов по методу шарового штампа.
- •40. Прессиометрические испытания грунтов.
- •41. Напряжения в грунтах от собственного веса в однородной толще грунтов.
27777!
Структурно фазовая деформируемость грунтов
Целью расчета оснований по деформациям является ограничение абсолютных и (или) относительных перемещений фундаментов и надфундаментных конструкций такими пределами, при которых гарантируется нормальная эксплуатация сооружения и не снижается его долговечность (вследствие появления недопустимых осадок, подъемов, кренов, изменений проектных уровней и положений конструкций, расстройств их соединений и т. п.). Под действием нагрузки, приложенной к основанию через фундамент, в грунте основания возникает напряженное состояние, которое вызывает развитие деформаций, приводящих к перемещению (осадке) фундамента и поверхности грунта вокруг него.
Поскольку грунт состоит из твердых частиц (твердых тел) и пор, заполненных водой и воздухом (жидкостью и газом), его деформации будут развиваться в зависимости от деформативности указанных составляющих. Виды деформаций грунта и физические при-чины, их вызывающие, можно систематизировать .Как правило, при расчете осадок фундаментов рассматривают интегрально остаточные деформации уплотнения и деформации искажения формы. Из упругих деформаций изменения объема учитывают только деформации замкнутых пузырьков воздуха (газа), так как деформации объема твердых частиц и воды в тысячи раз меньше остаточных деформаций уплотнения.
Деформации грунтов.Виды и причины деформаций
Грунты обладают как упругими, так и остаточными свойствами, что хорошо видно по результатам компрессионных испытаний (см. рисунок). Как видно из представленного рисунка, после разгрузки обратная ветвь компрессионной кривой (к.к.) не возвращается в исходное положение. В результате, на оси ординат легко определяются два участка значений коэффициента пористости с упругими и остаточными свойствами.
Пример компрессионных испытаний грунтов
Проявление в грунте как упругих, так и остаточных свойств.
Таким образом, в общем случае, грунты при деформировании обладают как упругими, так и остаточными свойствами.
Физические причины упругих деформаций:
упругость минеральных частиц грунта;
упругость воды;
упругость замкнутых пузырьков воздуха.
Физические причины остаточных деформаций:
уплотнение грунта;
сдвиги частиц грунта;
разрушение частиц в точках контакта.
Для различных грунтов соотношения между упругими и остаточными деформациями различны. Так для песчаных грунтов упругость практически не проявляется, а вот для глинистых грунтов, упругие свойства могут быть весьма значительны.
Упругие деформации: искажения формы
Действие молекулярных сил упругости, развивающихся при искажении структурной решетки твердых частиц и цементирующего коллоидного вещества изменения объема Действие молекулярных сил упругости замкнутых пузырьков воздуха, тонких пленок воды и твердых частиц
Остаточные деформации:
уплотнения
Разрушение скелета грунта и отдельных eго частиц в точках контактов, взаимный сдвиг частиц, выдавливание поровой воды, обусловливающие уменьшение пористости (компрессию грунта) пластические Развитие местных сдвигов в областях предельного
напряженного состояния просадки Резкое нарушение природной структуры грунта при изменении условий его существования (замачивание лёссов, оттаивание мерзлых грунтов и др.) набухания.Проявление расклинивающего эффекта в результате действия электромолекулярных сил и выделение из поровой воды раство-ренного в ней газа при понижении давления. Особенности деформирования грунтов выявляются в результате экспериментов, характер нагружения рассматривался в п. 4.1 «Фазы напряженно-деформированного состояния грунта».
принцип линейной деформируемости для грунтов: при небольших изменениях давлений грунты можно рассматривать как линейно-деформируемые тела, то есть зависимость между общими деформациями и напряжениями для грунтов может быть принята линейной: σ = Е · ε.
32.Основные свойства набухающих грунтов.
Набухающие глинистые грунты характеризуются следующими параметрами:
давлением набухания Psω;
влажностью набухания ωsω;
относительным набуханием при заданном давлении εsω;
относительной усадкой при высыхании εsh.
Эти характеристики определяются в лабораторных условиях согласно ГОСТ 24143-80. Давлением набухания Psω грунта называют то минимальное давление, при котором грунт не набухает. Давление набухания развивается в глинистом грунте как реакция внешней нагрузке, передаваемой на грунт от сооружения или выщелачивающей толщи грунта. Это давление может достичь 0,8 МПа и возникает в основании гидротехнических сооружений после пуска в них воды, что приводит к деформациям этих сооружений, вследствие неравномерного поднятия фундамента на разных участках.
За влажность набухания ωsω принимается влажность, полученная после завершения набухания образца, обжатого без возможности бокового расширения заданным давлением Р. С увеличением плотности грунта влажность набухания уменьшается.
Набухаемость
грунтов оценивают коэффициентом
относительного набухания εsω,
который находят испытанием грунта в
одометре, и нагружают давлением, которое
ожидается на данной глубине с учетом
давления от возводимого сооружения.
Затем в одометр подают воду. В результате
чего происходит набухание образца
грунта, т.е. поршень одометра будет
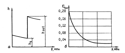
перемещаться вверх. По данным испытания
можно построить кривую (рис.
1).
Рис.
1. Зависимости
деформаций набухающего грунта (а) и
относительного набухания (б) от нормального
давления
При
экранировании поверхности и изменении
водно-теплового режима относительное
набухание находят по формуле
где k —
коэффициент, определяемый опытным
путем, а при отсутствии экспериментальных
данных принимается равным 2;
ωeg —
конечная (установившаяся) влажность
грунта;
ω0 —
начальная влажность грунта;
ε0 —
начальное значение коэффициента
пористости грунта.
Значения
относительного набухания зависят от
плотности и начальной влажности грунта.
С увеличением начальной влажности
образца грунта набухание снижается тем
быстрее, чем больше ωо.
Снижение прочностных характеристик при набухании происходит у всех набухающих грунтов. После набухания грунта модуль деформации уменьшается в несколько раз, что наглядно видно из табл. 1. Также видно, что модуль деформации набухающих глин, определенный в лабораторных условиях, значительно ниже, чем определенный при полевых испытаниях. Таблица 1. Значения модуля деформации набухающих глин до и после замачивания (по Е.А. Сорочану, 1989)
Глины |
Значения модуля деформации, МПа |
Отношение значений модуля деформации, определенного полевым методом, к лабораторным Eлаб / Епол |
||
Лабораторные Елаб |
Полевые Епол |
|||
Сарматские (Керчь): до замачивания после замачивания |
11,0 3,0 |
25-30 9-10 |
2,3-2,7 3,0-3,3 |
|
Киммерийские (Керчь): до замачивания после замачивания |
8,0 2,7 |
21 7-11 |
2,6 2,6-4,1 |
|
Хвалынские (Волгоград) до замачивания после замачивания |
8,0 2,0 |
16-20 3,6 |
2,0-2,5 1,8 |
|
Так, для глины природной влажности модуль деформации по полевым данным больше, чем по лабораторным, в 2,3—2,7 раза, а для увлажненной — в 3,0—3,3 раза.
