- •Історія зародження і діяльності автомобільних заводів, концернів, корпорацій…………………………………………………………………4
- •Розділ 1. Історія зародження і діяльності автомобільних заводів, концернів, корпорацій.
- •2 Розділ Особливості конструкції двигуна ямз-240 (автомобіль БеЛаз 531)
- •Система живлення двигуна паливом
- •Система живлення двигунів повітрям
- •Система змащення двигуна
- •Система охолодження двигунів
- •Система передпускового підігріву двигунів
- •3 Розділ Особливості конструкції ходової частини автомобіля маз-64227 Рама
- •Ресорна підвіска
- •Амортизатор
- •Передній міст та рульові тяги
- •Колеса та шини
- •Висновки
- •Список використаних джерел
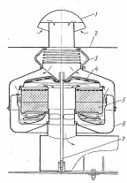
Система живлення двигунів повітрям
В системі живлення двигунів повітрям застосовуються повітряні фільтри контактно-масляного типу. Виняток становлять автомобілі-тягачі БелАЕ - 531 і БелАЗ - 531Г, на яких встановлюється повітряний фільтр ВТІ- 4.
На автомобілі БелАЗ - 540А встановлюються два повітряних фільтра, на автомобілі БелАЗ - 548А - три фільтри. В системі фільтри працюють паралельно.
Повітряні фільтри встановлені на правому крилі автомобіля під капотом (рис. 2.4). Повітря забирається ззовні через спеціальні вікна в капоті, закриті захисними ковпаками 1. Щільне з'єднання повітря забірного отвора фільтра з капотом забезпечується гумовою муфтою 3 , підтискає пружиною. Фільтр на повітропроводі кріпиться стрижнем 7.
|
Рис. 2.4. Установка на автомобілі повітряного фільтра: 1 - захисний ковпак; 2 - капот автомобіля; 3 - гумова муфта; 4 - кришка фільтру; 5 - фільтруючий елемент; 6 - масляна ванна фільтра; 7 - стрижень кріплення фільтра |
Система змащення двигуна
Система змащення двигуна - комбінована, із заправкою оливи в піддон картера двигуна.
На (рис. 2.5) показана система змащення двигуна ЯМЗ- 240. За такою ж схемою виконана система змащення двигуна ЯМЗ- 240Н, у якого додатково підключені турбокомпресори. Датчик покажчика тиску оливи в підшипниках підключений до правого турбокомпресору.
|
Рис. 2.5. Система мащення двигуна ЯМЗ-240: 1 - масляний радіатор; 2 - додаткова пробка зливу оливи з системи; 3 - кран відключення масляного радіатора; 4 – стрижень для заміру рівня оливи; 5 - датчик контрольної лампи аварійного тиску оливи в системі змащення; 6 - масляний фільтр; 7 - датчик покажчика тиску оливи в системі; 8 - датчик покажчика температури оливи; 9 - пробка зливу оливи з піддону картера двигуна; 10 – масляний насос; 11 - перепускний клапан насоса; 12 - зворотний клапан; 13 - компресор |
Тиск оливи в системі мащення двигуна контролюють за вказівником тиску, датчик 7 якого встановлено попереду па правій бічній поверхні картера.
Поруч з датчиком тиску оливи встановлений датчик контрольної лампи аварійного тиску оливи, який включає лампу в разі падіння тиску оливи в системі нижче 1,7 кг/см2.
Температуру оливи контролюють за вказівником, датчик 8 якого розташований на передній стінці піддона картера двигуна.
До масляної магістралі двигуна паралельно підключена система змащення компресора 13 .
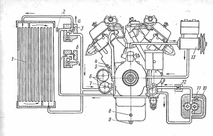
Система охолодження двигунів
Система охолодження двигуна - рідинна, закрита, з примусовою циркуляцією рідини від насоса. Рідиною, що циркулює системі, охолоджуються гільзи циліндрів і головки циліндрів двигуна, а також блок і головка циліндрів компресора.
У систему охолодження двигуна (рис. 2.6) паралельно водяного радіатора включений радіатор 5 обігрівача кабіни, який забирає частину тепла для обігріву кабіни. Радіатор обігрівача включають краном 7. Залежно від ступеня нагріву рідини рух її в системі здійснюється або по малому колу циркуляції (радіатор відключений), або по великому колу циркуляції (через радіатор ).
Напрямок потоку рідини регулюють термостатами 8, встановленими у водозбірних трубах двигуна.
Система паровідвідних трубок 2 з'єднує верхній бачок радіатора і водяні труби з верхньою частиною розширювального бачка, в який видаляються пари води і повітря, що потрапило в систему.
|
Рис. 2.6. Система охолодження двигуна ЯМЗ-240: 1 - водяний радіатор, 2 - паровідвідні трубки; 3 - розширювальний бачок; 4 - пробка заправної горловини; 5 - радіатор обігрівача кабіни; 6 - компресор; 7 - кран відключення радіатора обігрівача кабіни; 8 - термостати; 9 - покажчик температури рідини; 10 - сорочка охолодження двигуна; 11 - водяний насос; 12 - зливні крани; 13 - пусковий підігрівач двигуна |
Температуру рідини в системі охолодження контролюють за вказівником 9 температури, датчик якого встановлений на водозбірній трубі лівого блоку циліндрів.
Відмінність системи охолодження двигуна автомобіля БелАЗ - 548А полягає в установці в ній двох водяних радіаторів ( замість одного на БелАЗ - 540А ) і вентиляторів з збільшеною шириною лопатей.
Привід вентиляторів на автомобілях БелАЗ - 540А, БелАЗ - 548А і автомобілях - тягачах БелАЗ - 531 і БелАЕ - 531Г має таку ж конструкцію, як на автомобілі БелАЗ - 540 .
Зливний кран для видалення рідини з системи охолодження розташований у нижній частині корпусу водяного насоса.
На двигунах, обладнаних пусковим підігрівачем, є ще додатковий зливний кран на котлі підігрівача.
