- •1 Атмосфера. Ее строение и состав.
- •2 Источники загрязнения атмосферы.
- •Экологические проблемы загрязнения атмосферы
- •4 Характеристика основных загрязняющих атмосферу веществ.
- •5 Характеристика основных металлов, загрязняющих атмосферу.
- •Валовые выбросы в атмосферу на территории рб.
- •7 Выбросы в атмосферу от стационарных источников.
- •8 Выбросы предприятий энергетического сектора.
- •Газовые выбросы предприятий химической и нефтехимической промышленности.
- •10.Выбросы предприятий машиностроительной промышленности и промышленности строительных материалов в рб
- •11 Выбросы предприятий деревообрабатывающей промышленности агропромышленного комплекса.
- •12 Мониторинг состояния атмосферного воздуха.
- •13. Характеристика природного топлива.
- •14. Характеристика искусственного топлива.
- •15 Альтернативное углеводородсодержащее топливо.
- •16 Экологические нормативы качества природной среды.
- •17 Санитарно-гигиенические качества атмосферного воздуха.
- •18 Токсичность веществ, эффекты суммации и потенцирования.
- •19. Интегральные показатели качества атмосферного воздуха.
- •20 Нормативы допустимых выбросов предприятий.
- •21 Принципы и задачи проведения экологической экспертизы.
- •22 Состав экологической экспертизы проекта.
- •23 Состав экологического паспорта предприятия.
- •24 Категория опасности предприятия
- •25 Санитарно-защитные зоны (ссз) предприятий.
- •26 Виды ущерба природной среде.
- •27 Экономический механизм природопользования.
- •28 Экономические инструменты охраны окружающей среды
- •29 Экономические рычаги охраны атмосферного воздуха.
- •30. Абсорбционный метод очистки газовых выбросов
- •31. Области применения абсорбционных аппаратов
- •32 Конструкционные особенности абсорбционных аппаратов
- •33 Методика расчета абсорбера
- •34 Виды адсорбентов и их применение.
- •35. Характеристика промышленных адсорбентов, требования к ним.
- •36. Конструкционные особенности адсорбционых аппаратов
- •37. Области применения адсорбционной техники
- •38. Очистка газов от оксида и диоксида углерода.
- •39. Очистка газов от сероводорода.
- •40. Очистка газов от оксидов серы.
- •41. Очистка газов от оксидов азота и аммиака.
- •42. Термический метод прямого сжигания газовых выбросов.
- •43. Особенности каталитического метода очистки газовых выбросов.
- •44. Типы каталитических реакторов
- •45 Методы конденсации, термофореза и диффузиофореза.
- •46. Технологические методы снижения количества оксидов азота в энергетике.
- •47. Демеркуризация территории и помещений.
- •48. Методы борьбы со свинцовым загрязнением.
- •49. Требования к эксплуатации газоочистного оборудования.
- •50. Очистка воздуха от микроорганизмов и неприятных запахов
- •51 Биохимический метод очистки газовых выбросов.
- •52 Ресурсосбережение при разработке систем очистки газовых выбросов.
- •53 Основные показатели и задачи ресурсосбережения.
- •54 Энергосбережение и вторичные энергоресурсы.
- •55. Основные приоритеты в области энергосбережения.
- •56 Безотходное и малоотходное производство.
- •57. Пути образования и состав аэрозолей
- •58. Плотность и дисперсность пыли
- •59. Адгезионные свойства, абразивность, смачиваемость пыли
- •60 Электрические свойства пыли.
- •61 Методы отборов проб пыли из газового потока.
- •62 Определение содержания пыли в воздухе.
- •63 Основные механизмы при пылеулавливании.
- •64 Расчет пылеосадительной камеры.
- •65 Гравитационное и инерционное пылеосаждение.
- •66.Классификация циклонов по форме корпуса и их характеристика.
- •67.Классификация циклонов по компоновке и их характеристики.
- •68 Конструкция циклонов ниогаз.
- •69 Конструкция циклонов сиот, стф-ц, вцнниот.
- •70. Механизмы осаждения пылевых частиц на фильтрах.
- •71. Характеристика волокнистых фильтров.
- •72 Характеристика тканевых фильтров
- •73 Особенности фильтровальных тканей
- •74. Принцип работы рукавных фильтров
- •75. Зернистые фильтры.
- •76. Ячейковые фильтры масляные фильтры
- •77 Рулонные фильтры и фильтр Петрянова.
- •78. Принципы работы электрофильтров.
- •79. Характеристика трубчатых и пластинчатых электрофильтров.
- •80 Расчет и выбор фильтра.
- •81 Характеристика полых и осадочных газопромывателей.
- •82 Характеристика тарельчатых и ударно-инерционных пылеуловителей.
- •83 Особенности работы скруббера Вентури
- •84 Брызгоунос и сепарация капель
35. Характеристика промышленных адсорбентов, требования к ним.
Требования к пром. адсорбентам:
1.Иметь большую адсорбицонную способность при поглощении компонентов при небольших концентрациях их в газовых смесях.
2. Обладать высокой степенью селективности.
3.Иметь высокую механическую прочность.
4. Обладать способностью регенерации.
5. Иметь низкую стоимость.
Виды: Активированные угли, селикогели, алюмогели, циалиты (см 34)
36. Конструкционные особенности адсорбционых аппаратов
Подразделяются
на периодического и непрерывного
действия. Периодического действия
бывают с неподвижным слоем и движущимся
слоем адсорбента.
Адсорберы с неподвижным слоем:
1 ст – абсорбция
2 ст – десорбция
3 ст – сушка адсорбента
4 ст – охлаждение адсорбента
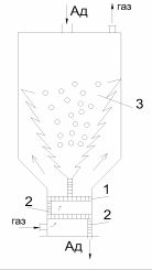
Адсорбер полочного типа с неподвижным слоем адсорбера
Адсорбер с движ. слоем адсорбента:
1. зона адсорбции (осн очистка)
2. распределит решетки
3. тарелки
4. подогреватель
5. затвор
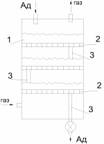
Аппарат с псевдоожиженным слоем: Эффективность очистки 95-99%
1. псевдосжиж слой
2. тарелка с отв, ч/з кот проходит газ
3. переток
4. затвор
Комбинированный адсорбер. :
Эффективность очистки 95-99%
1-тарелка
2-переток
3-бункер
37. Области применения адсорбционной техники
- Очистка в-ха от вредных примесей, воды, сахарных свекол при сахароворении, продуктовых соков или других ж-тей, очистка отработанных смазочных масел(пищевая промышленность).
- Метод извлечения вредных в-в из крови чел-ка – гемосорбция(медицина).
- Тонкое разделение смеси веществ.
- выделение из сложных смесей определенного компонента.
- Удаление влаги как вредного компонента.
- Разделение алканов для получения нормальных углеводородов с получением пов-но активных в-в (ПАВ).
-Для разделения нефтей для получения моторных масел – крекинг.
- Разделение газовых смесей – использующихся для получения выделения кислорода (90-100%).
38. Очистка газов от оксида и диоксида углерода.
СО и СО2 присутствуют в атм-ре в газообразном состоянии. СО2 значительно легче выводится из атм-ры в процессе самоочищения, а СО сложно (очень токсичный). Он переносится на большие расстояния и долго нах-ся в неизменном виде в приземном слое атм-ры.
СО2 –бесцветный газ, кисловатый запах и вкус. В воде СО2 хорошо растворим (1:1 по объему), в рез-те чего образуется Н2О + СО2 = Н2СО3
При нагревании СО2 улетучивается, при добавлении щелочи/кислот образуются карбонаты (гидрокарбонаты, которые нетоксичны.
СО –бесцветный газ без запаха и вкуса, плохо растворим в воде. ПДКСО=1мг/м3 в населенных местах. Связывается с гемоглобином крови → отсут-е доступа кислорода.
Основные методы очистки:
абсорбция водой: Н2О + СО2 = Н2СО3
Н2СО3= Н2О + СО2
Максимальная поглотительная способность воды 8 кг СО2 на 100 кг Н2О. Очищенный газ выводится в атм-ру, а раствор СО2 перекачивается в дегазатор (для дальнейшего исп-ния и хим. переработки).
+: отсут-вие токсичных отходов, выбрасываемых в ОС; экономичность; доступность растворителя (Н2О); относительная простота технологич-го процесса и аппаратов.
- : небольшая поглотительная емкость Н2О и недостаточная чистота СО2.
абсорбция этаноламином СО2: (RNH3)2CO3 + СО2 + Н2О = 2(RNH3)HCO3
2(RNH3)HCO3= (RNH3)2CO3 + СО2 + Н2О
Абсорбция СО2 этаноламинами более широкое применение. Большая эффект-ть обусловлена наличием щелочных св-в и как следствие возм-ть поглощения из газ-х сред загрязненных не только СО2, но и др. загрязнения (N2S).
Моноэтаноламины хорошо поглощаются СО. В прмышленности чаще применяют моноэтаноламины как абсорбент эффект-ый по отношению к неск-ким компонентам. Недорогой, легко регенерируется.
метанирование СО и СО2 : СО + 3Н2 = СН4 + Н2О
СО2 + 4Н2 = СН4 + 2Н2О
необходимо присутствие катализатора NiO, Al2O3
Метанирование исп-ся для очистки газов с остаточным кол-вом СО и СО2 в присутствии катализатора. Одновременно из очищенного газа удал-ся СО2 и О2, а образующийся метан СН4 м. исп-ся в технологическом процессе или сжигается.
абсорбция медно-аммиачным раствором:[Cu(NH3)2]+ + CO + NH3 = [Cu(NH3)3CO]+
[Cu(NH3)3CO]+ = [Cu(NH3)2]+ + CO + NH3
NH3 + H2O = NH4OH
NH4OH + CO2 = (NH4)2CO3 + H2O
(NH4)2CO3 + CO2 + H2O = 2NH4HCO3
Исп-ся для глубокой очистки газа от СО. Процесс идет под высоким давлением и т-ре близкой к О°С. Десорбцию СО проводят при атм-ном давлении и т-ре 80°С.
конверсия СО с водяным паром: СО + Н2О = СО2 + Н2
в присутствии катализаторов на основе железа
Конверсия СО водяным паром проводится в присутствии катализатора Fe2O3 и Cr2O3 и реакция конверсии экзотермична.
