 
        
        Лекция
Формирование контактов и межэлементных соединений. Сварка. Пайка
- Формирование контактов и межэлементных соединений. 
- Сборка полупроводниковых микросхем 
- Присоединение выводов. 
- Микросварка.
1 Формирование контактов и межэлементных соединений
Элементы в микросхемах соединяются тонкоплёночными проводниками. Процесс формирования межсоединений и контактных площадок в ИС состоит из двух этапов: металлизации и фотолитографии по металлической пленке.
В слое диоксида кремния, покрывающего поверхность пластины, вытравливают окна под электрические контакты металла с нужными участками кремния. На всю поверхность наносят проводящую пленку металла (делают металлизацию). Эта пленка контактирует со слоями кремния только в окнах. Затем проводят фотолитографию и формируют рисунок соединений.
Материал пленки должен
обеспечивать омический (невыпрямляющий) контакт с n- и p-областями кремния,
иметь низкое удельное сопротивление,
хорошую адгезию к кремнию и диоксиду,
выдерживать высокую плотность тока (приблизительно, до 3105 А/см2) без разрушения.
Он должен быть механически прочным,
не разрушаться при изменениях температуры из-за разного ТКЛР металлической пленки, пластины и SіО2,
не поддаваться коррозии и не образовывать химических соединений с кремнием.
Металла, который бы удовлетворял всем этим требованиям, не существует. Наиболее полно им удовлетворяет алюминий, который применяется в ИС малой и средней стенки интеграции, работающих на частотах до 1ГГц при невысоких требованиях к надежности. Он наносится термическим вакуумным испарением. При толщине 0,5..1 мкм, поверхностное удельное сопротивление слоя равняется 0,025..0,05 Ом/кв. После создания рисунка соединений производят вжигание контактов. Это улучшает электрический контакт и адгезию.
Алюминий является акцептором, поэтому контакт к областям p-типа всегда омический. Для получения омического контакта к области n-типа концентрация доноров в ней должна быть выше, чем алюминия. Из-за низкой концентрации доноров атомы алюминия могут изменить тип проводимости поверхностного слоя с n-типа на p-тип и образовать p-n переход. Чтобы этого избегнуть, область n-слоя под контактом сильно легируют, превращая ее в n+-слой с концентрацией доноров приблизительно 1020 см-3 .
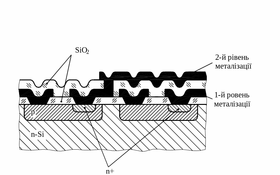
В БИС и СБИС применяют многоуровневую металлизацию. Увеличение числа элементов увеличивает площадь, которую занимают межсоединения. Причем площадь межэлементных соединений возрастает значительно быстрее площади, занятой элементами микросхемы. Поэтому создают несколько слоёв проводников, которые разделенные слоями диэлектрика (обычно SіО2 ). В слое SіО2 делают отверстия для контактов между проводниками соседних слоёв (рис. 10.24).
 
Рисунок 1 – Двухслойная металлизация
Алюминий имеет ряд недостатков. Высокая скорость диффузии алюминия в кремнии во время термообработки может приводить к разрушению неглубоких (0,5...1 мкм) p-n переходов.
Вследствие небольшой толщины и ширины проводников БИС, в них возникает большая плотность тока (приблизительно 1105 А/см2). При плотности тока выше 8104 А/см2 в проводнике из алюминия возникает эффект электромиграции. В результате этого эффекта происходит перемещение материала проводника в сторону положительного потенциала. Возле положительного конца проводника образуются выступы, а возле отрицательного - впадины, и возможно образование разрывов. Разрывы проводников чаще происходят в местах неровностей поверхности. Низкая температура плавления алюминия мешает проведению следующих высокотемпературных операций. Алюминий легко окисляется и образующаяся пленка Al2O3, ухудшает контакты между слоями.
В качестве проводников первого и второго уровня во многих микросхемах используют легированный поликристаллический кремний, толщиной 0,2..10 мкм. Недостатком проводников из поликристаллического кремния является высокое удельное поверхностное сопротивление слоя (до 20-30 Ом/кв). Поэтому поликремниевые проводники применяются в цепях, где протекают слабые токи (например, проводники для передачи сигналов в микросхемах на КМДП структурах). При использовании силицидов тугоплавких металлов (W, Tа, Mo и др.) удельное поверхностное сопротивление проводников снижается до 2..3 Ом/кв. Силициды – это соединения металлов с кремнием. Однако в СБИС сопротивление проводников из силицидов все-таки недопустимо большое. В этом случае применяют тугоплавкие металлы, имеющих низкое сопротивление слоя. Плотность тока, при которой возникает электромиграция в проводниках из этих металлов, увеличивается в 20...40 раз по сравнению с алюминиевым проводником. Например, молибденовый проводник шириной 3 мкм и толщиной 0,4 мкм имеет s=0,14 Ом/кв и предельный ток 10 мА. Для алюминиевого проводника - s=0,06 Ом/кв и предельный ток 0,5 мА.
Значительно лучшими свойствами при небольших размерах обладают многослойные проводники. Нижний слой, контактный, должен создавать хороший омический контакт и обеспечивать высокую адгезию к Sі и SіО2. Для контактного слоя используют вольфрам, молибден, хром, титан. Для верхнего, основного токопроводящего слоя, применяют медь, алюминий, золото.
Медь имеет более высокую электропроводность и такие же технологические свойства, как и алюминий. Однако коэффициент диффузии меди в полупроводниках приблизительно в 104..105 раз больше, чем алюминия. Атомы меди проникают в полупроводник, что ухудшает параметры элементов и приводит к отказам микросхем. Однако, в последнее время освоена технология изготовления многослойных проводников с электропроводящим слоем из меди и контактным слоем из вольфрама. Это уменьшило время распространения сигналов в проводниках межсоединений и соответственно повысило быстродействие СБИС.
Монтаж кристаллов.
В процессе монтажа кристалл ориентируют определенным образом и устанавливают на основание, где он механически закрепляется с помощью клеев, стекла, припоев и др.
Способы крепления должны обеспечить
высокую механическую прочность соединения кристалла с основанием,
хороший теплоотвод,
а также в некоторых случаях высокую электропроводность. Температура и сжимающие усилия, которые используются в процессе крепления кристалла, не должны разрушать соединения, изготовленные ранее, ухудшать параметры структур и их целостность. Величина минимальной температуры при монтаже кристаллов ограничена дальнейшими температурными воздействиями, которым подвергается кристалл в процессе присоединения выводов и герметизации.
Соединение клеями широко применяется для монтажа микросхем и компонентов, имеющих небольшие мощности рассеяния.
Преимуществами этого способа является простота процесса, низкие температуры отверждения, достаточная механическая прочность и надежность. Склеивать можно разнообразные материалы, имеющих различную толщину.
Недостатками клеевых соединений является низкая теплопроводность, невозможность замены дефектных кристаллов, перегрев при соединении контактных площадок кристалла с выводами корпуса, возможность выделения газов в герметичный корпус.
Для монтажа кристаллов применяют клеи на основе эпоксидной смолы ЕД-5, клей ВК2 (раствор кремнийорганической смолы в органическом растворителе), клеи ВК-4, ВК-8, ВК-9, К-400 и др. Эти клеи обеспечивают достаточную прочность при температурах до 300С, что исключает разрушение клеевого шва при последующем соединении выводов. Для повышения теплопроводности и уменьшения контактного сопротивления между кристаллом и основанием корпуса в состав клеев вводят металлические наполнители, например, серебро.
Соединение стеклами обеспечивает согласование по ТКЛР между кристаллом и основанием при соответствующем составе стекла. Основными недостатками соединений являются отсутствие электрического контакта, плохой теплоотвод, высокая температура размягчения стекла около 500 С. Соединение стеклом не применяют в процессе монтажа кремниевых кристаллов на основание, так как стекла имеющие соответствующий ТКЛР являются тугоплавкими.
Соединение стеклом применяют при монтаже плат из стекла, поликора и керамики. На очищенную поверхность наносят супсензию или пасту стеклянного порошка, сжимают соединяемые детали в кассете, сушат и производят термообработку (оплавление) в печи.
Пайка металлическими припоями обеспечивает высокую теплопроводность и электропроводность соединения, механическую прочность, хорошое согласование по ТКЛР. Пайка мягкими припоями (например, 80 % Au и 20 % St, tпл=280 С ) обеспечивает возможность демонтажа кристалла. Однако, низкие температуры плавления припоя ограничивают температуру последующих технологических операций.
Для проведения качественной пайки установочная плоскость кристалла и площадка для его установки на основание металлизируются золотом или никелем с подслоем хрома. Припой вводят в виде дисков из фольги или в виде пасты нанесенной через трафарет.
Пайка эвтектическими сплавами. При пайке эвтектическими сплавами температура плавления сплава является наименьшей для данной системы. Кристаллизация происходит одновременно по всему объему, и соединение имеет повышенную прочность.
Применяют эвтектические сплавы Au-Si (94 и 6%) или Au-Ge (88 и 12%), имеющих температуру плавления 370С и 356С соответственно. На основание помещают прокладку из эвтектического сплава, нагревают ее в среде инертного газа до температуры образования эвтектики. Устанавливают кристалл, обратная поверхность которого предварительно покрыта тонким слоем золота. Под воздействием температуры, давления и ультразвуковых колебаний шайба плавится. Между кристаллом и основанием корпуса образуется жидкая зона. В этой жидкой зоне с одной стороны происходит растворение поверхностного слоя полупроводника или слоя золота и слоя золота со стороны основания.
После охлаждения жидкая зона эвтектического сплава затвердевает, а на границе полупроводник – эвтектический сплав образуется твердый раствор. В результате формируется механически прочное соединение кристалла с основанием корпуса.
Разновидностью пайки эвтектическим сплавом Au-Si является контактно-реактивная пайка. На нерабочую сторону кремниевой пластины до разделения наносят слой золота толщиной 6...9 мкм. Кристалл помещают на покрытую слоем золота монтажную площадку, нагревают в среде инертного газа, с помощью инструмента прикладывают вертикальное усилие и ультразвуковые колебания, параллельные относительно соединяемых поверхностей. В результате получается эвтектический сплав, заполняющий промежутки между деталями. При охлаждении сплав кристаллизуется и образует паяное соединение.
Присоединение выводов.
Монтажные операции, связанные с присоединением выводов, осуществляют для соединения контактных площадок структур микросхем с внешними выводами корпуса. Эти соединения выполняются с помощью пайки, сварки и склейки.
Различают проволочный и беспроволочный монтаж. Для проволочного монтажа используют провода из золота, алюминия, сплавов алюминий-кремний, алюминий-магний диаметром 25…30 мкм. Монтаж кристаллов с объемными выводами является беспроволочным.
Современные микросхемы имеют большое количество проволочных соединений. Преимуществами проволочного монтажа являются
возможность визуального контроля качества соединений,
проволочные соединения могут передавать значительные мощности
и, кроме того, способы сварки и пайки проволочных контактов хорошо освоены.
К недостаткам проволочного монтажа относятся высокая стоимость и высокий процент отказов микросхем из-за дефектов соединений.
Для присоединения выводов к контактным площадкам применяют термокомпрессонную сварку, сварку с косвенным импульсным нагревом, сварку сдвоенным электродом, ультразвуковую сварку, лазерную точечную сварку, электронно-лучевую сварку.
Присоединение выводов микропайкой применяется для гибридных микросхем небольшой степени интеграции при групповых методах пайки.
Метод “перевёрнутого кристалла” (Flip Chip). Кристаллы с объемными выводами (столбиковыми, шариковыми) монтируют рабочей стороной вниз (рис. ). Одновременно осуществляется механическое крепление кристалла и электрическое контактирование.
Основными трудностями монтажа является
жесткие требования к разновысотности выступающих над кристаллом выводов,
совмещение с контактными площадками,
контроль качества соединения (особенно в случае матричного расположения шариковых выводов). При установке кристаллов на керамические и кремниевые коммутационные платы разновысотность объемных выводов должна находиться в пределах (1...2) мкм, при установке на полиимидные платы – до 5 мкм. Для обеспечения контактирования наименее выступающих выводов необходимо достаточно сильно деформировать наиболее выступающие шарики и столбики. В результате могут возникнуть недопустимые механические напряжения и нарушения электрического контакта.
 
  
 
  
а счет разности ТКЛР кристалла и коммутационной платы при эксплуатации радиоэлектронной аппаратуры в объемных выводах возникают значительные срезающие усилия. С ростом размеров кристаллов усилия среза увеличиваются. Усилия, воздействующие на объемные выводы кристалла, уменьшают за счет эластичности коммутационной платы; выбора материала платы с ТКЛР близким к ТКЛР кристалла и применения демпфирующего наполнителя между кристаллом и платой.
Соединение перевернутого кристалла можно выполнить с помощью токопроводящих клеев.
Совмещение с контактными площадками осуществляется с помощью систем зеркальной оптики или на базе систем с инфракрасным микроскопом.
Объемные выводы к контактным площадкам присоединяются компрессионной сваркой, ультразвуковой сваркой и пайкой импульсным нагревом, инфракрасным нагревом, горячим воздухом.
