- •Для студентів очної форми навчання за напрямом: 6.100 102 «Процеси, машини та обладнання агропромислового виробництва», окр «Бакалавр»
- •Передмова
- •Загальні положення з гідроприводу
- •Лабораторна робота
- •Аксіально-поршневі машини. За кінематичними схемами розрізняють гідромашини з нахиленим блоком циліндрів і з нахиленим диском.
- •Шестеренні насоси ншк
- •Опис: Приклад маркування гидронасоса
- •Лабораторна робота
- •Радіально-поршневі гідромотори одержали
- •Приклад маркірування гідромотора
- •Розрахункові формули
- •Умовні позначки на принципових схемах
- •Приклад маркірування розподільника
- •Лабораторна робота
- •Класифікація:
- •Лабораторна робота
- •Розробка та описання принципіальної схеми.
- •Вибір гідромотора
- •Вибір гідронасоса
- •Розрахунок дроселя.
- •Розрахунок параметрів гідропривода
- •Лабораторна робота
- •Лабораторна робота
- •Лабораторна робота
- •Гідромуфти
- •Універсальною характеристикою гідромуфти називають Гідротрансформатори
Умовні позначки на принципових схемах
П Н О Пл
П –
Н –
О –
Пл -
Циліндричні і плоскі золотникові розподільники
Рис. 1. Розподільник золотниковий циліндричний
В більшій мірі позбавлені цього недоліку плоскі золотникові розподільники.
Рис.2. Плоский золотниковий розподільник.
Для позиційного переключення краще клапанні розподільники.
|
|
Рис.3. Клапанний розподільник |
Рис.4. Крановий корковий розподільник |
У невідповідальних випадках і при обмеженні розмірів для позиційного переключення використовують малогабаритний крановий розподільник.
Рис.5. Крановий торцевий розподільник
Схема роботи 4-х позиційного золотникового розподільника.
При «нейтральному» положенні золотника (рис.6,а)
В «плаваючому» положенні (рис.6,б)
В положенні «підйом» (рис.6,в)
В положенні «опускання примусове» (рис.6,г)
Рис.6. Схема роботи розподільника.
Схема дії фіксатора й автоматичного повернення золотника в нейтральне положення.
Рис.7. Схема дії фіксатора
Приклад маркірування розподільника
Р80 – 3/1 – 222(22) –
РОЗРАХУНКОВІ ФОРМУЛИ:
де: , м3/с;
;
, м2;
, кг/м3
, Па.
Висновок:
Лабораторна робота
ТЕМА: Вивчення конструкції гідроапаратури.
МЕТА: Вивчити призначення, класифікацію, конструкцію, позначення по стандартах гідроапаратури об'ємного гідроприводу.
Клапани –
Класифікація:
По призначенню:
-
-
-
За принципом дії:
-
По виду запірного елементу:
-
-
-
-
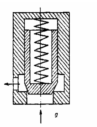
Запобіжні клапани –
Найпростіший запобіжний клапан (рис.5) складається
|
|
Рис.1- Клапан прямої дії |
Рис.2- Диференційний клапан |
Компромісним рішенням для зменшення розмірів клапанів високого тиску є диференційний клапан.
Р
ис.3-
Клапан непрямої дії
Найбільш досконалими по герметичнос-ті з невеликими габаритними розмірами є клапани непрямої дії.
Переливні клапани –
По конструкції переливні клапани бувають
Позначення на принципових схемах переливних і запобіжних клапанів прямої і непрямої дії:
Редукційні клапани -
Рис.4- Редукційний клапан
Зворотні клапани –
У гідроприводах ряду сільськогосподарських машин отримали широке поширення спеціальні конструкції зворотних клапанів, що називаються гідрозамками.
Гідрозамки (рис. 5) –
Рис.5 - Гідрозамок
Позначення на принципових схемах зворотних клапанів і гідрозамків:
Дроселі -
В голчастому дроселі (рис. 6,а)
Рис.6 – Дроселі
В гвинтовому дроселі (рис. 6, б)
В канавкових (рис.6, в) і щілинних (рис. 6, г) дроселях
Прикладом дроселя постійного перетину може служити пластинчастий дросель (рис.6, д).
Позначення на принципових схемах:
Дільники і суматори потоку робочої рідини.
Рис.7 – Дільники потоку
Існують два основних типи дільників і суматорів потоку: (рис.7).
Недолік дросельного дільника потоку –
Об'ємний дільник потоку являє собою
Позначення на принципових схемах:
Гідроакумулятори –
Рис.8 - Гідроакумулятори
Гідроакумулятор застосовується:
Кондиціонери робочої рідини -
Рисунок
Рис. . Типова схема й умовні позначки гідробака і теплообмінників
Гідролінії -
Висновок:
